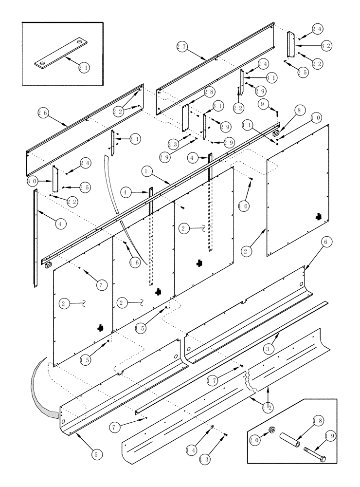
Запчасти Case IH CPX620 (09D-12) - BASKET, RIGHT HAND SIDE (16) - BASKET

Схема запчастей Case IH CPX620 - (09D-12) - BASKET, RIGHT HAND SIDE (16) - BASKET
31
16
2
28
15
24
29
13
30
18
4
29
15
23
31
10
11
29
25
6
14
17
22
21
24
19
9
27
2
29
7
25
4
22
31
16
22
5
7
8
2
3
24
12
26
22
4
1
20
32
2
FIT
1:1
100%

Артикул

Название

Примечание

Количество

1

283568A1

ANGLE

Right Hand Side, Upper

1шт.

2

86990566

ANGLE

Right Hand Side

4шт.

2

84494259

SHEET

Right Hand Side, Start Year: 04-JAN-12

4шт.

3

284350A1

ANGLE

Right Hand Wall, Horizontal

1шт.

4

284349A2

ANGLE

Right Hand Wall, Vertical

3шт.

5

284352A1

SHIELD

Unloader Chain, Front

1шт.

6

284351A1

SHIELD

Unloader Chain, Rear

1шт.

7

375676A1

RIVET,Pop, 6.42mm OD x 24.64mm L

1/4 x 3/8

21шт.

8

222680A2

GUIDE

2шт.

9

413-648

BOLT,Hex, 3/8" - 16 x 3", Gr 5

4шт.

10

495-21044

WASHER,3/8"

4шт.

11

231-1446

NUT,3/8" - 16, Gr 5

4шт.

12

251130A1

FLAP

Right Hand

1шт.

13

477-73820

SERRATED SCREW,Truss HD, 3/8" - 16 x 1-1/4"

11шт.

14

495-81143

WASHER,13/32" x 1 1/2" x .120"

11шт.

15

231-5146

FLANGE NUT,3/8"-16

20шт.

17

477-73812

SERRATED SCREW,Truss HD, 3/8" - 16 x 3/4"

4шт.

18

27634R1

SPACER,1/4" Pipe x 3"

1/4 x 3

4шт.

19

413-552

BOLT,Hex, 5/16" - 18 x 3-1/4", Gr 5

, Serial Range: -Y6T011501

4шт.

19

413-560

BOLT,Hex, 5/16" - 18 x 3-3/4", Gr 5

, Start Serial: Y6T011501

4шт.

20

425-285

FLANGE NUT,Flg, 5/16"-18, G5

4шт.

21

284564A2

PLATE

Light Mount

1шт.

22

231-5145

SERRATED NUT,Flg, USR, 5/16"-18

22шт.

23

495-11034

WASHER,5/16", SAE

2шт.

24

413-58

BOLT,Hex, 5/16" - 18 x 1/2", Gr 5

8шт.

25

477-73116

SERRATED SCREW,Truss HD, 5/16" - 18 x 1"

4шт.

26

87459124

DOOR PANEL

Right Hand Basket Wall,Front

1шт.

27

87459125

DOOR PANEL

Right Hand Basket Wall, Rear

1шт.

28

87459126

PLATE

Decal Panel

1шт.

29

413-512

BOLT,Hex, 5/16" - 18 x 3/4", Gr 5

10шт.

30

87459137

ANGLE

Decal Panel, Front

1шт.

31

87459138

ANGLE

Decal Panel

3шт.

32

87459139

ANGLE

Decal Panel, Rear

1шт.

16

477-73816

SERRATED SCREW,Sl Truss Hd, 3/8" x 1"

5шт.

Выбрано товаров: 34