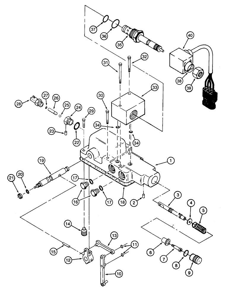
Запчасти Case IH CPX620 (06-09) - TANDEM PUMP ASSEMBLY - HYDROSTATIC (CONTROL VALVE) (03) - POWER TRAIN

Схема запчастей Case IH CPX620 - (06-09) - TANDEM PUMP ASSEMBLY - HYDROSTATIC (CONTROL VALVE) (03) - POWER TRAIN
21
32
37
22
9
16
36
35
1
18
4
26
17
6
20
12
34
38
15
27
31
10
25
5
19
24
39
33
3
23
28
30
7
14
11
8
29
34
13
40
2
17
FIT
1:1
100%

Артикул

Название

Примечание

Количество

407438A1

HYDROSTATIC PUMP,105.4 CC

Front

1шт.

Inc. Figures 06-07, 06-09, 06-10

1шт.

407439A1

HYDROSTATIC PUMP

54 cc, Rear

1шт.

Inc. Figures 06-08, 06-11

1шт.

445482A1

CONTROL VALVE

Hydrastatic Pump, Inc. 1 - 40

1шт.

1

NSS

NOT SOLD SEPARAT

HOUSING

1шт.

2

83-1106

SET SCREW,Hex Soc, #10-24 x 3/8"

1шт.

3

NSS

NOT SOLD SEPARAT

SPOOL

1шт.

4

NSS

NOT SOLD SEPARAT

SPACER

1шт.

5

NSS

NOT SOLD SEPARAT

SPRING

1шт.

6

NSS

NOT SOLD SEPARAT

RETAINER

1шт.

7

NSS

NOT SOLD SEPARAT

SCREW

1шт.

8

238-5016

O-RING,0.07" Thk x 0.614" ID, -16, Cl 5, 75 Duro

1шт.

9

NSS

NOT SOLD SEPARAT

SCREW, Adjusting

1шт.

10

NSS

NOT SOLD SEPARAT

LINK, Connecting

1шт.

11

100-1125

SNAP RING,#25, Ext

2шт.

12

NSS

NOT SOLD SEPARAT

CONNECTOR

1шт.

13

NSS

NOT SOLD SEPARAT

LINK, Connecting

1шт.

14

NSS

NOT SOLD SEPARAT

SETSCREW

1шт.

15

38-1614

LOCK PIN,2.36mm OD x 22.23mm L

1шт.

16

76349

PLUG,9/16" - 18 ORB

Incl. 17

2шт.

1978048C2

SHAFT

Inc. 18 - 21

1шт.

18

133756C1

GASKET

1шт.

19

NSS

NOT SOLD SEPARAT

SHAFT

1шт.

20

238-5012

O-RING,0.07" Thk x 0.364" ID, -12, Cl 5, 75 Duro

1шт.

21

NSS

NOT SOLD SEPARAT

SEAL, Dust

1шт.

197909A2

ADAPTER,9/16" - 18 x 3/4"- 16

Special, Neutral Start Switch, Inc. 22 - 27

1шт.

22

237-6008

O-RING,0.087" Thk x 0.644" ID, -908, Cl 6, 90 Duro

1шт.

23

84-1103

SET SCREW,Hex Soc, #10-32 x 3/16"

2шт.

24

NSS

NOT SOLD SEPARAT

ADAPTER

1шт.

25

211-1006

BALL,3/16" Dia

1шт.

26

NSS

NOT SOLD SEPARAT

PIN

1шт.

27

238-5004

O-RING,0.07" Thk x 0.07" ID, -4, Cl 5, 75 Duro

1шт.

28

197514A2

SWITCH

Neutral Start

1шт.

29

61-33116

HEX SOC SCREW,5/16"-18 x 1"

3шт.

30

61-33132

HEX SOC SCREW,5/16"-18 x 2"

2шт.

31

413-532

BOLT,Hex, 5/16" - 18 x 2", Gr 5

1шт.

32

61-33156

HEX SOC SCREW,5/16"-18 x 3 1/2"

1шт.

106446A1

VALVE

Solenoid, Inc. 33 - 40

1шт.

33

NSS

NOT SOLD SEPARAT

BLOCK

1шт.

34

238-5012

O-RING,0.07" Thk x 0.364" ID, -12, Cl 5, 75 Duro

2шт.

235656A1

CARTRIDGE

Inc. 35 - 39

1шт.

35

NSS

NOT SOLD SEPARAT

BODY

1шт.

235657A1

REPAIR KIT

Seal, Inc. 36, 37

1шт.

36

237-6010

O-RING,0.097" Thk x 0.755" ID, -910, Cl 6, 90 Duro

1шт.

37

NSS

NOT SOLD SEPARAT

RING

1шт.

38

NSS

NOT SOLD SEPARAT

WASHER

1шт.

39

NSS

NOT SOLD SEPARAT

NUT

1шт.

40

256213A1

COIL

Destroke

1шт.

See Figure 06-04 for pump control linkage.

1шт.

17

237-6006

O-RING,0.078" Thk x 0.468" ID, -906, Cl 6, 90 Duro

1шт.

Выбрано товаров: 51