Запчасти Case IH 2212 (08.00[2]) - RADIAL PIN SLIP CLUTCH BREAKDOWN, PIN HAJ0018273 TO CBJ038864 (58) - ATTACHMENTS/HEADERS

Схема запчастей Case IH 2212 - (08.00[2]) - RADIAL PIN SLIP CLUTCH BREAKDOWN, PIN HAJ0018273 TO CBJ038864 (58) - ATTACHMENTS/HEADERS
3
12
2
10
1
7
3
7
5
4
8
11
6
9
8
6
FIT
1:1
100%

Артикул

Название

Примечание

Количество

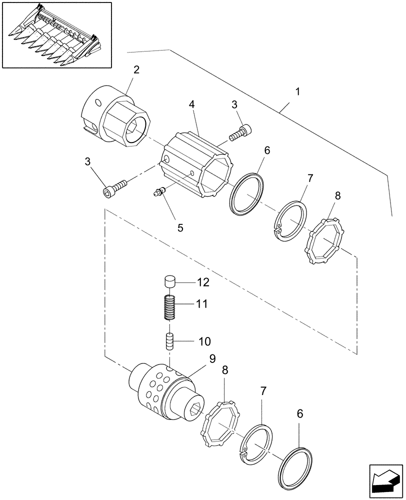
1

87025649

CLUTCH ASSEMBLY

1шт.

2

87020938

COUPLING FLANGE

Flange Adapter

1шт.

3

87035372

CAPSCREW,M10 x 1.5 x 16mm

M10 x 1.5 x 16, CL 12.9

2шт.

4

87020939

RIGID TUBE

Housing

1шт.

5

84447449

LUBE NIPPLE,M8.2 x 1

2шт.

6

86634290

SEALING RING,58.5mm ID x 84mm OD x 6mm Thk

2шт.

7

300633

SNAP RING,M80, Internal

2шт.

8

418509

RING

Thrust

2шт.

9

87020940

HUB

Hub

1шт.

10

279346

SPRING

Inner

11шт.

11

386510

SPRING,Compression, 13mm OD X 13.2mm L

Outer

16шт.

12

275246

CAM

16шт.

Выбрано товаров: 12