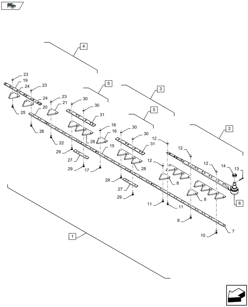
Запчасти Case IH 3050-41FT (58.110.070) - SEGMENTED KNIVES LH (58) - ATTACHMENTS/HEADERS

Схема запчастей Case IH 3050-41FT - (58.110.070) - SEGMENTED KNIVES LH (58) - ATTACHMENTS/HEADERS
30
1
2
30
6
12
12
11
27
29
27
8
23
17
30
29
12
11
home
14
24
18
4
31
5
21
19
23
23
30
24
25
10
29
31
29
9
22
12
28
15
26
20
5
3
28
16
7
8
13
FIT
1:1
100%

Артикул

Название

Примечание

Количество

1

47770187

KIT

Incl 2 - 5

1шт.

1

47810980

KIT

Incl 2 - 5

1шт.

FOR GREEN CONDITIONS ONLY

1шт.

2

47532512

KNIFE HEAD

Incl 6 - 12

1шт.

2

47641497

KNIFE

Incl 6 - 12

1шт.

FOR GREEN CONDITIONS ONLY

1шт.

3

84519630

KNIFE SECTION

Incl 15 - 18

1шт.

3

47641500

KNIFE

Incl 15 - 18

1шт.

FOR GREEN CONDITIONS ONLY

1шт.

4

47798312

KNIFE SECTION

Incl 19 - 26

1шт.

4

47812010

KNIFE SECTION

Incl 19 - 26

1шт.

FOR GREEN CONDITIONS ONLY

1шт.

5

84519635

KNIFE ASSY

Incl 26 - 31

2шт.

5

47641531

KIT

Incl 26 - 31

2шт.

FOR GREEN CONDITIONS ONLY

1шт.

6

84275287

CUTTERHEAD

Incl 13 - 14

1шт.

7

84588791

BAR

1шт.

8

87728899

KNIFE SECTION

29шт.

8

87728900

KNIFE SECTION

29шт.

FOR GREEN CONDITIONS ONLY

1шт.

9

84429100

SCREW,Pan HD, M6 x 22mm, Cl 10.9

4шт.

10

84429101

SCREW,Pan HD, M6 x 28mm, Cl 10.9

9шт.

11

87663841

SCREW,Pan HD, M6 x 18mm, Cl 10.9

44шт.

12

84429102

LOCK NUT

57шт.

13

NSS

NOT SOLD SEPARAT

1шт.

14

NSS

NOT SOLD SEPARAT

1шт.

15

84588723

KNIFE

1шт.

16

87728899

KNIFE SECTION

28шт.

16

87728900

KNIFE SECTION

28шт.

FOR GREEN CONDITIONS ONLY

1шт.

17

84429099

SCREW,M6 x 16mm

54шт.

18

84429102

LOCK NUT

54шт.

19

47702540

KNIFE BACK

1шт.

20

47798310

KNIFE BACK

1шт.

21

87728899

KNIFE SECTION

16шт.

21

87728900

KNIFE SECTION

16шт.

FOR GREEN CONDITIONS ONLY

1шт.

22

84429099

SCREW,M6 x 16mm

28шт.

23

84429102

LOCK NUT

39шт.

24

47702538

KNIFE SECTION

4шт.

24

47765133

KNIFE SECTION

4шт.

FOR GREEN CONDITIONS ONLY

1шт.

25

47703871

SCREW

7шт.

26

84429100

SCREW,Pan HD, M6 x 22mm, Cl 10.9

4шт.

27

84588790

CONNECTING ROD

1шт.

28

87728899

KNIFE SECTION

2шт.

28

87728900

KNIFE SECTION

2шт.

FOR GREEN CONDITIONS ONLY

1шт.

29

84429099

SCREW,M6 x 16mm

8шт.

30

47372139

FLANGE NUT

8шт.

31

84588781

REINFORCEMENT

1шт.

Выбрано товаров: 0