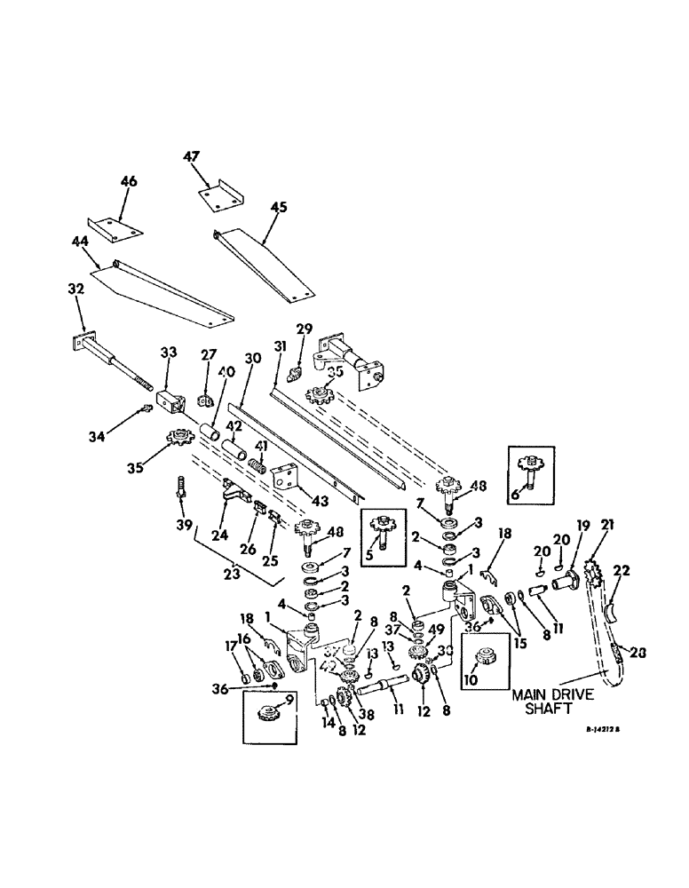
Запчасти Case IH 228 (A-20) - GATHERER DRIVE (58) - ATTACHMENTS/HEADERS

Схема запчастей Case IH 228 - (A-20) - GATHERER DRIVE (58) - ATTACHMENTS/HEADERS
10
17
15
6
11
25
39
48
32
12
12
40
36
2
46
29
21
23
49
2
7
44
1
13
1
3
26
27
8
11
35
36
8
8
20
18
19
9
18
35
48
4
24
33
41
16
34
3
5
20
42
13
2
37
45
30
38
30
22
47
4
3
43
8
31
8
14
23
7
3
2
FIT
1:1
100%

Артикул

Название

Примечание

Количество

1

654275R1

HOUSING, gatherer drive brg

4шт.

180143

SCREW,Hex, 7/16" - 14 x 3/4"

7/16 x 3/4 C-Z hex-hd cap

8шт.

120383

LOCK WASHER,Helical Spring, 7/16"

WASHER, LOCK, 7/16"

8шт.

2

586609R91

BALL BEARING

BEARING, gatherer drive ball

8шт.

3

555602R1

RING

gatherer drive brg snap

8шт.

4

936643R1

SPACER, gatherer drive brg

4шт.

5

654276R91

SPROCKET ASSY, gath. chain drive LH, for use w/654280R1 gear

2шт.

21742R1

WASHER

1-1/32 x 1-1/2 x 22 ga C-Z

2шт.

6

654277R91

SPROCKET ASSY, gath. chain drive RH, for use w/654271R1 gear

2шт.

21742R1

WASHER

1-1/32 x 1-1/2 x 22 ga C-Z

2шт.

7

654284R1

WASHER

gatherer driven shaft cup

4шт.

8

654283R1

THRUST WASHER

gatherer drive sprocket

14шт.

9

654280R1

PINION

GEAR, gatherer driven bevel LH thd 18T, for threaded shaft use with 654276R91 sprocket assy

2шт.

10

654281R1

PINION

GEAR, gatherer driven bevel RH thd 18T, for threaded shaft use with 654277R91 sprocket assy

2шт.

11

632163R11

SHAFT W/COLLAR, gatherer drive

2шт.

10495D

NUT

3/4-16 slt hex. jam

2шт.

137204

COTTER PIN,1/8" x 1 1/2"

PIN, SPLIT (COTTER), 1/8" x 1 1/2"

2шт.

21713R1

WASHER,25/32" x 1 3/4" x .120"

25/32 x 1-3/4 x 11 ga C-Z

2шт.

12

935611R1

PINION

GEAR, gatherer drive bevel, 18T

4шт.

13

118000

WOODRUFF KEY,#27, 1/4" x 2 1/8", HT

KEY, 1/4 x 2-1/8 Woodruff 27

4шт.

14

654385R1

SPACER,26.21mm ID x 31.75mm OD x 19.05mm L

gatherer drive brg outer

2шт.

15

156031C11

HOUSING ASSY, gatherer drive inner

2шт.

113-233

BOLT,Hex, 3/8" - 16 x 1-3/4", Gr 5

3/8-16 x 1-3/4 C-Z hex-hd mach

4шт.

120382

LOCK WASHER,Helical Spring, 3/8"

WASHER, LOCK, 3/8"

4шт.

16

156032C91

FLANGED BEARING

HOUSING W/BRG GATHERER DRIVE OUTER

2шт.

180126

BOLT,Hex, 3/8" - 16 x 1 1/2", Gr 5

3/8 x 1-1/2 C-Z hex-hd mach

4шт.

120382

LOCK WASHER,Helical Spring, 3/8"

WASHER, LOCK, 3/8"

4шт.

17

455102R11

COLLAR

ASSY, gatherer drive brg

2шт.

83-1254

SET SCREW,Hex Soc, 1/4"-20 x 1/4"

SCREW, 1/4-20 x 1/4 hex-soc-hd cup-pt set

2шт.

18

654288R1

SHIM, gatherer drive bevel gear

8шт.

492-11100

LOCK WASHER,1"

WASHER, LOCK, 1"

2шт.

19

632162R1

HUB, gatherer driven sprocket

2шт.

20

118000

WOODRUFF KEY,#27, 1/4" x 2 1/8", HT

KEY, 1/4 x 2-1/8 hardened Woodruff

2шт.

21

632161R1

PINION

SPROCKET, gatherer driven 21T

2шт.

180122

BOLT,Hex, 3/8" - 16 x 1", Gr 5

3/8 x 1 C-Z hex-hd cap

8шт.

120382

LOCK WASHER,Helical Spring, 3/8"

WASHER, LOCK, 3/8"

8шт.

22

632168R1

BAR

GUIDE, gatherer drive chain left

1шт.

22

632169R1

GUIDE, gatherer chain drive right

1шт.

12872R1

BOLT,Short NK, 5/16"-18 x 1", G2, Full Thd

CARRIAGE, Short NK, 5/16"-18 x 1", G2, Full Thd

2шт.

120376

NUT,5/16"-18, G5

2шт.

80681

LOCK WASHER,5/16"

WASHER, LOCK, 5/16"

2шт.

619855R1

WASHER

11/32 x 3/4 x 16 ga C-Z

2шт.

23

654164R91

CHAIN (AG)

CHAIN W/FLIGHTS, gatherer, includes ref nos. 24, 25 and 26

4шт.

24

935619R91

GATHERING CHAIN

SECTION ASSY, gatherer chain

1шт.

25

587371R93

DRAG LINK

LINK ASSY, connecting

1шт.

26

450423R1

DRAG LINK

LINK, gatherer chain roller

1шт.

27

937173R1

GUIDE, gatherer chain left

2шт.

18494R1

BOLT,Hex, 3/8" - 16 x 1", Gr 2

3/8 x 1 C-Z hex-hd mach

2шт.

120377

NUT,3/8" - 16, Gr 5

2шт.

120382

LOCK WASHER,Helical Spring, 3/8"

WASHER, LOCK, 3/8"

2шт.

28

CHAIN, gatherer drive roller, use 47 links from 10-ft roll marked 1793D, one offset connecting link 1389D and one connecting link 1786D

2шт.

29

937174R1

GUIDE, gatherer chain right

2шт.

18494R1

BOLT,Hex, 3/8" - 16 x 1", Gr 2

3/8 x 1 C-Z hex-hd mach

2шт.

120377

NUT,3/8" - 16, Gr 5

2шт.

120382

LOCK WASHER,Helical Spring, 3/8"

WASHER, LOCK, 3/8"

2шт.

30

589922R3

GUIDE, gatherer chain left holddown

2шт.

12872R1

BOLT,Short NK, 5/16"-18 x 1", G2, Full Thd

CARRIAGE, Short NK, 5/16"-18 x 1", G2, Full Thd

14шт.

120376

NUT,5/16"-18, G5

14шт.

80681

LOCK WASHER,5/16"

WASHER, LOCK, 5/16"

14шт.

619855R1

WASHER

11/32 x 3/4 x 16 ga C-Z

1шт.

31

589923R3

GUIDE, gatherer chain RH holddown

2шт.

12872R1

BOLT,Short NK, 5/16"-18 x 1", G2, Full Thd

CARRIAGE, Short NK, 5/16"-18 x 1", G2, Full Thd

14шт.

120376

NUT,5/16"-18, G5

14шт.

80681

LOCK WASHER,5/16"

WASHER, LOCK, 5/16"

14шт.

619855R1

WASHER

11/32 x 3/4 x 16 ga C-Z

1шт.

32

632172R91

SHAFT ASSY, gatherer carrier

4шт.

17351R1

CARRIAGE BOLT,Short Sq Nk, 3/8" - 16 x 1", Gr 2

BOLT, 3/8 x 1 C-Z sq-nk crg

8шт.

120377

NUT,3/8" - 16, Gr 5

8шт.

426898

NUT,Jam, 7/8"-9, G5

7/8 C-Z hex jam

8шт.

21353R1

NUT, 7/8 znp-nylon insert

4шт.

120382

LOCK WASHER,Helical Spring, 3/8"

WASHER, LOCK, 3/8"

8шт.

NLS

NO LONGER SERVICED

7/8"

4шт.

619856R1

WASHER

13/32 x 1 x 16 ga C-Z

8шт.

21715R1

WASHER

29/32 x 1-3/4 x 11 ga C-Z

8шт.

33

654332R2

CARRIER, gatherer sprocket

4шт.

34

109461

LUBE NIPPLE,1/8"-27 x .66 lg

NIPPLE, LUBE, , PTF 1/8"-27 x .66 lg

4шт.

35

155915C91

DRIVE SPROCKET

SPROCKET, gatherer chain idler 8T

4шт.

36

219-37

LUBE NIPPLE,45 Degree Elbow, 1/4" - 28 NPTF

FITTING, 1/4-28 PTF 45 deg lub

4шт.

37

654338R1

THRUST WASHER

gatherer driven shaft

4шт.

38

18536R1

LOCK NUT,5/8"-18, G5

NUT, 5/8 C-Z hex. nylon insert, for use w/156005C93 sprocket

4шт.

39

586116R1

BOLT,Hex, 3/4" - 10 x 2 1/2"

gatherer idler sprocket

4шт.

138561

LOCK WASHER,Int Tooth, 3/4"

WASHER, 3/4 C-Z int-tooth lock

4шт.

467750R1

WASHER

25/32 x 1-1/4 x 11 ga C-Z

12шт.

40

632189R1

SPACER, gatherer carrier shaft

4шт.

41

544

CANVAS

SPRING, gatherer carrier shaft

4шт.

42

589856R1

SPACER, gatherer carrier shaft spring

4шт.

43

632185R1

BRACKET, gatherer carrier shaft LH

2шт.

43

632186R1

BRACKET, gatherer carrier shaft RH

2шт.

18515R1

BOLT, 3/8 x 2-1/2 C-Z sq-nk crg

4шт.

120377

NUT,3/8" - 16, Gr 5

4шт.

120382

LOCK WASHER,Helical Spring, 3/8"

WASHER, LOCK, 3/8"

4шт.

44

632183R11

BRACKET ASSY, gatherer support left

2шт.

18508R1

CARRIAGE BOLT,Short Nk, 3/8" - 16 x 3/4", Gr 2, Full Thd

BOLT, 3/8 x 3/4 C-Z sq-nk crg

6шт.

17351R1

CARRIAGE BOLT,Short Sq Nk, 3/8" - 16 x 1", Gr 2

BOLT, 3/8 x 1 C-Z sq-nk crg

2шт.

120377

NUT,3/8" - 16, Gr 5

8шт.

120382

LOCK WASHER,Helical Spring, 3/8"

WASHER, LOCK, 3/8"

8шт.

45

632184R11

BRACKET ASSY, gatherer support right

2шт.

18508R1

CARRIAGE BOLT,Short Nk, 3/8" - 16 x 3/4", Gr 2, Full Thd

BOLT, 3/8 x 3/4 C-Z sq-nk crg

6шт.

17351R1

CARRIAGE BOLT,Short Sq Nk, 3/8" - 16 x 1", Gr 2

BOLT, 3/8 x 1 C-Z sq-nk crg

2шт.

120377

NUT,3/8" - 16, Gr 5

8шт.

120382

LOCK WASHER,Helical Spring, 3/8"

WASHER, LOCK, 3/8"

8шт.

46

632180R1

BRACE, divider outer left

1шт.

17351R1

CARRIAGE BOLT,Short Sq Nk, 3/8" - 16 x 1", Gr 2

BOLT, 3/8 x 1 C-Z sq-nk crg

3шт.

120377

NUT,3/8" - 16, Gr 5

3шт.

120382

LOCK WASHER,Helical Spring, 3/8"

WASHER, LOCK, 3/8"

3шт.

47

632181R1

BRACE, divider outer right

1шт.

17351R1

CARRIAGE BOLT,Short Sq Nk, 3/8" - 16 x 1", Gr 2

BOLT, 3/8 x 1 C-Z sq-nk crg

3шт.

120377

NUT,3/8" - 16, Gr 5

3шт.

120382

LOCK WASHER,Helical Spring, 3/8"

WASHER, LOCK, 3/8"

3шт.

48

156005C93

SPROCKET ASSY.

SPROCKET ASSY, gatherer drive 8T, splined shaft for use with 156007C1 gear

4шт.

464623R1

WASHER

11/32 x 1-1/2 x 11 ga C-Z

4шт.

49

156007C1

GEAR

gatherer driven bevel 18T, for use w/156005C93 sprocket

4шт.

Выбрано товаров: 112