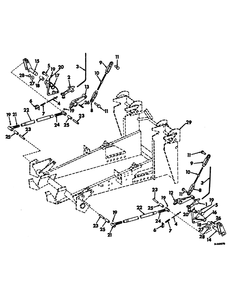
Запчасти Case IH 234 (A-04) - BASIC CORN HARVESTER, ROCKSHAFT LIFT (58) - ATTACHMENTS/HEADERS

Схема запчастей Case IH 234 - (A-04) - BASIC CORN HARVESTER, ROCKSHAFT LIFT (58) - ATTACHMENTS/HEADERS
23
26
23
4
18
25
17
24
29
12
11
25
24
28
9
25
27
18
5
2
3
27
11
20
23
11
19
21
13
26
19
10
1
6
19
7
9
4
28
25
22
5
22
21
11
19
15
23
8
19
8
14
6
16
3
20
7
10
19
FIT
1:1
100%

Артикул

Название

Примечание

Количество

1

937950R1

LOCK MAIN FRAME REAR L.H.

1шт.

2

937951R1

LOCK MAIN FRAME REAR R.H.

1шт.

3

150502C1

ROD, frame rear lock control

2шт.

576517R1

LOCK PIN,1/4" x 1 1/2", Slotted

Pin, 1/4" x 1 1/2", Slotted

2шт.

4

937958R11

PIN ASSY., rear lock spring

2шт.

469668R1

WASHER

13/32 x 3/4 x 16 ga. C-Z

2шт.

5

150499C11

PIN ASSY., rear lock pivot

2шт.

657196R1

PIN

1/4 x 2 slt. spring

2шт.

6

938011R1

ANGLE, rear lock spring

2шт.

18511R1

BOLT,Short NK, 3/8"-16 x 3", G2

3/8 x 3 C-Z sq.-nk. crg.

4шт.

120377

NUT,3/8" - 16, Gr 5

4шт.

120382

LOCK WASHER,Helical Spring, 3/8"

WASHER, LOCK, 3/8"

4шт.

7

MA1574

SPRING

rear lock

2шт.

8

938066R1

LINK, rockshaft lift lower

2шт.

9

937956R1

LINK, rockshaft lift upper

2шт.

10

937957R1

TURNBUCKLE, rockshaft lift link

2шт.

426897

JAM NUT,Jam, 3/4"-10, G5

3/4-10 C-Z hex. jam

2шт.

22346R1

JAM NUT,Jam, 3/4"-10, G5, LH

3/4-10 C-Z znp. L.H. thd. hex. jam

2шт.

11

936587R91

PIN

ASSY., rockshaft lift link

4шт.

20341R1

COTTER PIN,1/4" x 2"

Pin, Split (Cotter), 1/4" x 2"

2шт.

517843R1

COTTER PIN

PIN, 3/16 quick att.

2шт.

478258R1

WASHER

1-5/32 x 1-3/4 x 11 ga. C-Z

8шт.

12

154950C1

ARM, bellcrank L.H.

1шт.

13

154951C1

ARM, bellcrank R.H.

1шт.

14

154954C91

SHAFT ASSY., bellcrank pivot L.H.

1шт.

181697

SCREW, 1/2-20 x 1-1/8 C-Z hex.-hd. cap

1шт.

120384

WASHER,1/2"

LOCK, 1/2"

1шт.

22811R1

WASHER

2-1/32 x 2-3/4 x 14 ga. C-Z

4шт.

15

154955C91

SHAFT ASSY., bellcrank pivot R.H.

1шт.

86837294

ANGLE

SCREW, 1/2-20 x 1-1/8 C-Z hex-hd. cap

1шт.

120384

WASHER,1/2"

LOCK, 1/2"

1шт.

22811R1

WASHER

2-1/32 x 2-3/4 x 14 ga. C-Z

4шт.

16

937964R11

SUPPORT W/BUSHING, bellcrank L.H., includes ref. no. 18

1шт.

19678R1

BOLT,Hex, 5/8" - 11 x 5 1/4", Gr 2

5/8 x 5-1/4 C-Z hex-hd. mach.

2шт.

18173R1

BOLT

3/4 x 3-1/2 C-Z hex-hd. mach.

2шт.

280954

NUT,3/4"-10, G5

2шт.

492-11062

BEARING WASHER,5/8"

WASHER, LOCK, 5/8"

2шт.

87340

LOCK WASHER,Helical Spring, 0.759" ID, CST, ZND

WASHER, LOCK, 3/4"

2шт.

21753R1

WASHER

25/32 x 1-1/2 x 16 ga.

2шт.

17

937965R11

SUPPORT W/BUSHING, bellcrank R.H., includes ref. no. 18

1шт.

19678R1

BOLT,Hex, 5/8" - 11 x 5 1/4", Gr 2

5/8 x 5-1/4 C-Z hex-hd. mach.

2шт.

18173R1

BOLT

3/4 x 3-1/2 C-Z hex-hd. mach.

2шт.

280954

NUT,3/4"-10, G5

2шт.

492-11062

BEARING WASHER,5/8"

WASHER, LOCK, 5/8"

2шт.

87340

LOCK WASHER,Helical Spring, 0.759" ID, CST, ZND

WASHER, LOCK, 3/4"

2шт.

21753R1

WASHER

25/32 x 1-1/2 x 16 ga.

2шт.

18

587247R1

BUSHING, LARGE

BUSHING, bellcrank support

4шт.

19

109461

LUBE NIPPLE,1/8"-27 x .66 lg

NIPPLE, LUBE, 1/8"-27 x .66 lg

2шт.

20

332040

LUBE NIPPLE,90 Degree, 1/8" NPT x .84" lg

FITTING, 1/8-27 PTF 90 degree angle

6шт.

21

937940R11

EXTENSION ASSY., push pipe rear, includes ref. no. 25

2шт.

22

937943R1

TURNBUCKLE, push pipe

2шт.

23

937934R1

PIN, snapping unit lift

4шт.

17244R1

LOCK PIN,5/16" x 1 1/4", Slotted

PIN, 5/16" x 1 1/4", Slotted

8шт.

24

937939R11

EXTENSION W/BUSHING, lift push pipe, front, includes ref. no. 25

2шт.

631415

FLEXIBLE HOSE

NUT, 1-1/4-12 C-Z hex. jam

2шт.

25

150852C1

BUSHING, push pipe extension

4шт.

26

154952C1

KEY, bellcrank arm

2шт.

27

107001R1

WASHER, bellcrank lift arm

2шт.

28

154953C1

RING

bellcrank pivot shaft snap

2шт.

29

FRAME ASSY., main, refer to main frame and main drive jackshaft listing

1шт.

Выбрано товаров: 60