Запчасти Case IH 234 (F-04) - SHELLER, SHELLER DRIVE (58) - ATTACHMENTS/HEADERS

Схема запчастей Case IH 234 - (F-04) - SHELLER, SHELLER DRIVE (58) - ATTACHMENTS/HEADERS
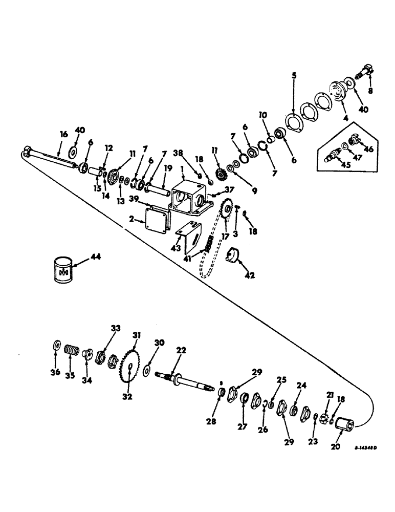
4
18
22
11
2
11
41
27
33
45
6
26
24
17
7
14
20
44
29
23
46
30
12
1
6
7
10
7
18
6
36
19
35
15
25
42
21
5
13
29
3
6
40
38
28
39
37
18
7
31
34
43
16
8
32
9
40
47
FIT
1:1
100%

Артикул

Название

Примечание

Количество

1

937731R1

CASE, gear

1шт.

18797R1

BOLT

7/16 x 1-3/4 C-Z hex-hd. mach.

4шт.

271501

SOCKET

NUT, 7/16-14 C-Z hex.

4шт.

120383

LOCK WASHER,Helical Spring, 7/16"

WASHER, LOCK, 7/16"

4шт.

21331R1

WASHER

15/32 x 1-1/4 x 16 ga. C-Z

16шт.

2

937739R1

COVER, gear case

1шт.

18653R1

BOLT,Hex, 1/4" - 20 x 1/2", Gr 2

1/4 x 1/2 C-Z hex-hd. mach.

4шт.

492-11025

LOCK WASHER,1/4"

WASHER, LOCK, 1/4"

4шт.

3

937785R1

KEY, elevator drive sprocket

1шт.

4

937736R1

HOUSING, pinion shaft brg.

1шт.

180145

BOLT,Hex, 7/16" - 14 x 1", Gr 5

SCREW, 7/16 x 1 C-Z hex-hd. cap

6шт.

120383

LOCK WASHER,Helical Spring, 7/16"

WASHER, LOCK, 7/16"

6шт.

5

156564C91

SHIM, drive brg. housing service package, consists of

1шт.

SHIMS .007

2шт.

SHIMS .018

2шт.

SHIMS .010

2шт.

6

587015R91

BALL BEARING

ASSY., gear shaft ball

4шт.

7

45650D

RETAINER

RING, gear shaft brg. snap

4шт.

8

937737R92

SHAFT W/COUPLING, pinion

1шт.

21226R1

WASHER

1-9/32 x 2 x 11 ga. C-Z

2шт.

9

470965R1

WASHER, pinion shaft

2шт.

10

937784R1

SPACER, pinion shaft brg.

1шт.

11

165647C91

GEAR WHEEL

GEAR SET, sheller drive, includes ref. nos. 13 and 14

1шт.

10495D

NUT

3/4-16 hex. jam

1шт.

137204

COTTER PIN,1/8" x 1 1/2"

PIN, SPLIT (COTTER), 1/8" x 1 1/2"

1шт.

12

577147R1

KEY

driven gear

1шт.

13

162677C1

WASHER

driven gear outer

4шт.

14

589782R1

THRUST WASHER

driven gear inner

4шт.

15

937735R1

SPACER, driven gear

1шт.

16

937732R22

SHAFT ASSY., output gear

1шт.

21226R1

WASHER

1-9/32 x 2 x 11 ga. C-Z

4шт.

17

937733R1

SPROCKET, elevator drive, 23-T, serial no. 2366 and below

1шт.

17

165317C1

SPROCKET, elevator drive, 28-T, serial no. 2367 and above

1шт.

10495D

NUT

3/4-16 hex. jam

1шт.

137204

COTTER PIN,1/8" x 1 1/2"

PIN, SPLIT (COTTER), 1/8" x 1 1/2"

1шт.

21753R1

WASHER

25/32 x 1-1/2 x 16 ga. C-Z

2шт.

18

151401C1

BELLEVILLE WASHER

WASHER, spring

3шт.

19

937734R1

SPACER, elevator drive sprocket

1шт.

20

937119R1

COUPLING, main drive shaft sleeve

1шт.

21

632151R1

COUPLING

main drive shaft

1шт.

102609R1

LOCK NUT,3/4"-16

NUT, 3/4-16 znp. nylon insert

1шт.

22

937725R11

SHAFT ASSY., main drive

1шт.

20805R1

BOLT,Hex, 7/8"-14 x 4", G8

WASHER, 1-9/32 x 2-1/2 x 11 ga. C-Z

4шт.

23

185497R1

WASHER, main drive shaft

2шт.

24

565672R91

BALL BEARING,1.25" ID x 72 mm OD x 1.53125"

ASSY., main drive shaft inner ball

1шт.

25

935856R1

BUSHING

SPACER, main drive shaft

1шт.

26

575186R1

SNAP RING

RING, main drive shaft spacer snap

1шт.

27

565672R91

BALL BEARING,1.25" ID x 72 mm OD x 1.53125"

ASSY., main drive shaft outer ball

1шт.

28

455104R11

COLLAR

W/SET SCREW, outer brg. lkg.

1шт.

102592

SET SCREW,Hex Skt, 3/8" - 16 x 3/8"

SCREW, 3/8-16 x 3/8 hex-soc-hd. cup-pt. set

1шт.

29

571426R1

PLATE

FLANGE, main drive shaft brg.

4шт.

17351R1

CARRIAGE BOLT,Short Sq Nk, 3/8" - 16 x 1", Gr 2

BOLT, 3/8 x 1 C-Z sq-nk. crg.

6шт.

120377

NUT,3/8" - 16, Gr 5

6шт.

120382

LOCK WASHER,Helical Spring, 3/8"

WASHER, LOCK, 3/8"

6шт.

30

628611R1

WASHER, sheller drive sprocket

1шт.

31

937727R91

SPROCKET ASSY., sheller drive, 42-T, includes ref. no. 32

1шт.

32

629232R1

BUSHING,31.8mm ID x 34.92mm OD x 25.4mm L

sheller drive sprocket

1шт.

33

B12170

RATCHET,Clutch Slip, 94.49mm

sheller drive slip clutch

2шт.

34

937730R1

HOLDER, slip clutch ratchet

1шт.

35

935705R1

SPRING, sheller drive slip clutch

1шт.

36

U16941

WASHER, slip clutch spring retainer

1шт.

427646

SLOTTED NUT,7/8"-14, G5

NUT, 7/8 C-Z slt-hex.

1шт.

137214

COTTER PIN

1/8" x 1-3/4"

1шт.

37

217-519

DRAIN PLUG,Sq Hd, 1/2"-14 NPTF

PLUG, , Automotive, Pipe Sq Hd, 1/2"-14 NPTF

1шт.

38

444598

PLUG

1 11-1/2 automotive sq-hd. pipe

1шт.

39

156241C1

GASKET, gear case cover

1шт.

40

152256C1

WASHER, gear shaft

2шт.

41

CHAIN, elevator auger drive, use 47 links from 10-ft. roll marked 611362R91, 1 connecting link 574532R91, and 1 offset link 612612R91

1шт.

42

583620R1

BLOCK

drive chain tightener

1шт.

12872R1

BOLT,Short NK, 5/16"-18 x 1", G2, Full Thd

CARRIAGE, Short NK, 5/16"-18 x 1", G2, Full Thd

1шт.

120376

NUT,5/16"-18, G5

1шт.

80681

LOCK WASHER,5/16"

WASHER, LOCK, 5/16"

1шт.

619855R1

WASHER

11/32 x 3/4 x 16 ga. C-Z

1шт.

43

939402R1

BRACKET, drive chain tightener

1шт.

17351R1

CARRIAGE BOLT,Short Sq Nk, 3/8" - 16 x 1", Gr 2

BOLT, 3/8 x 1 C-Z sq-nk. crg.

2шт.

120377

NUT,3/8" - 16, Gr 5

2шт.

120382

LOCK WASHER,Helical Spring, 3/8"

WASHER, LOCK, 3/8"

2шт.

619856R1

WASHER

13/32 x 1 x 16 ga. C-Z

3шт.

44

156576C91

GREASE

FLUID, grease-one quart container sheller gear case, service

1шт.

159777C91

PACKAGE ASSY., main drive, parts accessories, for use w/grinder unit drive, includes ref. nos. 45, 46 & 47

1шт.

45

159754C1

SHAFT, main drive input, for use w/grinder unit drive

1шт.

46

159755C1

COUPLING, sheller main drive, for use w/grinder unit drive

1шт.

102609R1

LOCK NUT,3/4"-16

NUT, 3/4 znp. nylon insert

1шт.

47

151401C1

BELLEVILLE WASHER

WASHER, spring, for use w/grinder unit drive

1шт.

Выбрано товаров: 84