Запчасти Case IH 2608XF (58.220.111) - ROW UNIT - F600631 (58) - ATTACHMENTS/HEADERS

Схема запчастей Case IH 2608XF - (58.220.111) - ROW UNIT - F600631 (58) - ATTACHMENTS/HEADERS
7
30
32
26
33
34
20
2
22
21
28
24
23
15
10
14
18
35
17
home
8
24
13
16
6
58.220.121
27
12
5
25
11
31
19
20
18
9
29
15
25
1
4
3
4
19
FIT
1:1
100%

Артикул

Название

Примечание

Количество

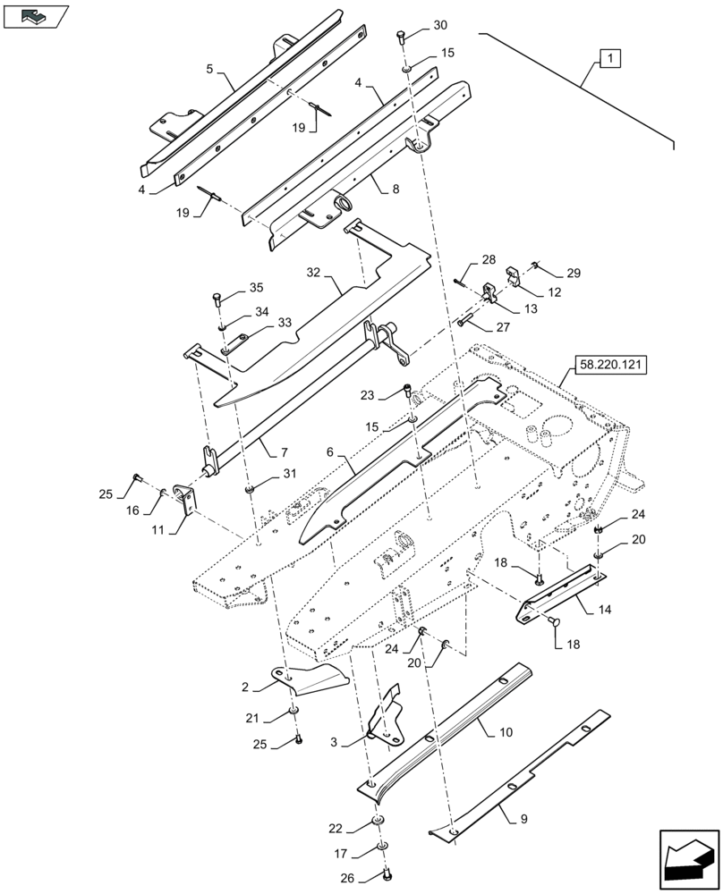
1

84977681

ROW UNIT

1шт.

2

87662218

SHIELD

1шт.

3

87662222

SHIELD

1шт.

4

84977612

SLIDING PAD

2шт.

5

84977677

SUPPORT

,, Serial Range: -C631

1шт.

5

47398440

GUIDE

,, Start Serial: D632

1шт.

6

84972760

SHEET

1шт.

7

84138813

ARM

1шт.

8

84977676

SUPPORT

,, Serial Range: -C631

1шт.

8

47398362

GUIDE

,, Start Serial: D632

1шт.

9

322592150

SHEAR BAR

1шт.

10

322592050

SHEAR BAR

1шт.

11

84267026

BRACKET, SUPPORTING

1шт.

12

84244862

CLAMP

1шт.

13

84244861

CLAMP

1шт.

14

322630050

BRACKET

1шт.

15

140045

BELLEVILLE WASHER,M10 Bolt Size x 22mm OD x 1.6mm Thk

5шт.

16

322358

BELLEVILLE WASHER,M8 Bolt Size x 18mm OD x 1.4mm Thk

6шт.

17

140046

BELLEVILLE WASHER,M12 Bolt Size x 27mm OD x 1.8mm Thk

6шт.

18

86633356

CARRIAGE BOLT,M10 x 34.8mm, Cl 8.8

4шт.

19

445394

RIVET,Pop, 3/16" x 1/2" OAL

12шт.

20

355501130

WASHER

4шт.

21

86592699

WASHER,8.4mm ID x 23mm OD x 4mm Thk

4шт.

22

84000016

WASHER,12.5mm ID x 30mm OD x 5mm Thk

6шт.

23

86508097

HEX SOC SCREW,M10 x 25mm, Cl 12.9, Full Thd

7шт.

24

100037

LOCK NUT,M10 x 1.5, Cl 8

4шт.

25

120104

BOLT,Hex, M8 x 1.25 x 20mm, Cl 8.8

6шт.

26

300388

BOLT,Hex, M12 x 1.75 x 25mm, Cl 8.8

6шт.

27

43129

BOLT,Hex, M8 x 1.25 x 40mm, LH Thd, Cl 8.8

2шт.

28

412685

COTTER PIN,M4 x 32

1шт.

29

86629542

NUT,M8 x 1.25, Cl 8.8

2шт.

30

43138

BOLT,Hex, M10 x 1.5 x 20mm, Cl 8.8

2шт.

31

84977214

BUSHING

4шт.

32

84972758

STEEL PLATE

1шт.

33

322448650

COVER PLATE

2шт.

34

140028

WASHER,10.2mm ID x 18.1mm OD x 2.2mm Thk

4шт.

35

43140

BOLT,Hex, M10 x 1.5 x 30mm, Cl 8.8

4шт.

Выбрано товаров: 37