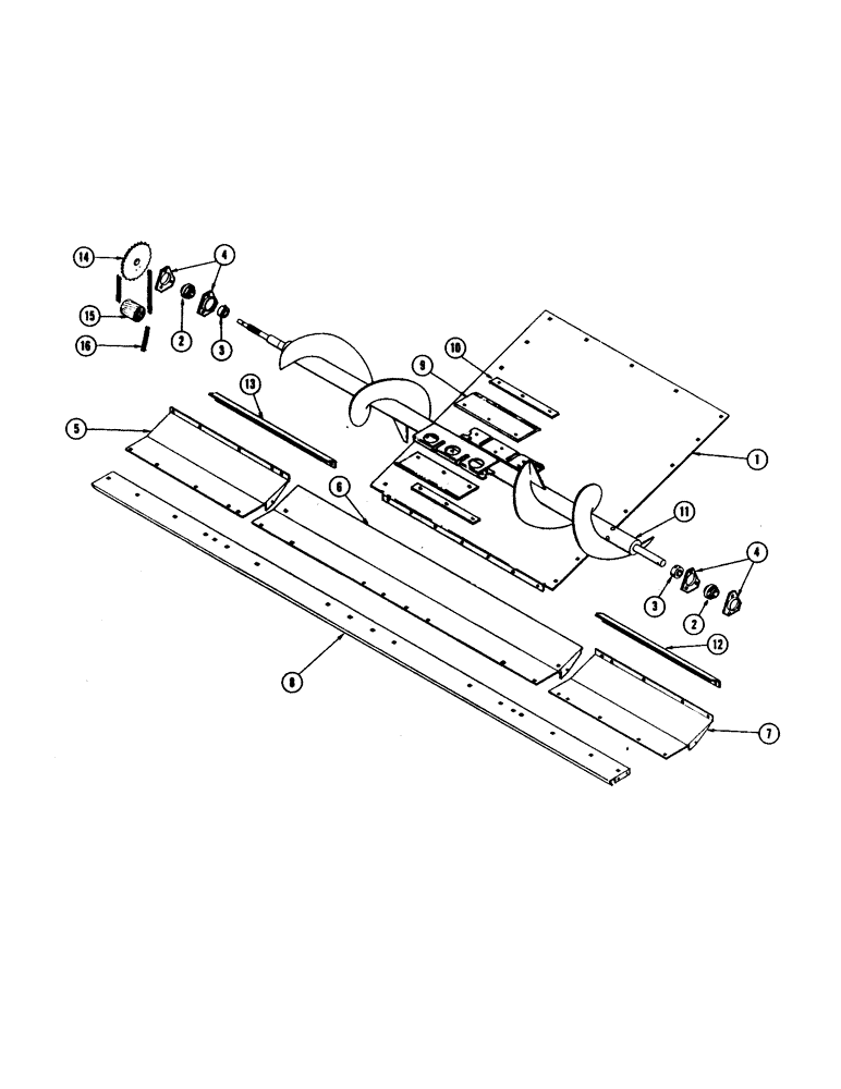
Запчасти Case IH 303 (30) - CROSS AUGER TROUGH, 303 - 304 (58) - ATTACHMENTS/HEADERS

Схема запчастей Case IH 303 - (30) - CROSS AUGER TROUGH, 303 - 304 (58) - ATTACHMENTS/HEADERS
2
10
13
1
4
7
4
5
3
11
6
16
3
14
2
12
8
9
15
FIT
1:1
100%

Артикул

Название

Примечание

Количество

1

F55008

FLOOR - feeder (40")

1шт.

F55067

FLOOR - feeder (52")

1шт.

2

F51085

BEARING

2шт.

3

F62226

COLLAR

2шт.

4

F54559

RETAINER

FLANGE

4шт.

O418L

WASHER

4шт.

11-614

BOLT

- 3/8" x 7/8" rhd. sq. nk., nut (25-106)

6шт.

5

F54142

TROUGH - extension, R.H. (303)

1шт.

11-58

BOLT - 5/16" x 1/2" N. C. rhd. sq. nk., nut (25-105)

3шт.

11-510

SCREW,Short Nk, 5/16" - 18 x 5/8", Gr 2

BOLT - 5/16" x 5/8" N. C. rhd. sq. nk., nut (25-105)

1шт.

14-510

SCREW,Hex, 5/16" - 24 x 5/8", Gr 5, Full Thd

BOLT, , Nut (25-115) Hex, 5/16"-24 x 5/8", G5, Full Thd

2шт.

F54279

TROUGH - extension, R.H. (304)

1шт.

11-58

BOLT - 5/16" x 1/2" N. C. rhd. sq. nk., nut (25-105)

5шт.

11-510

SCREW,Short Nk, 5/16" - 18 x 5/8", Gr 2

BOLT - 5/16" x 5/8" N. C. rhd. sq. nk., nut (25-105)

4шт.

14-510

SCREW,Hex, 5/16" - 24 x 5/8", Gr 5, Full Thd

BOLT, , Nut (25-115) Hex, 5/16"-24 x 5/8", G5, Full Thd

2шт.

6

F54139

TROUGH - center

1шт.

14-410

SCREW,Hex, 1/4" - 28 x 5/8", Gr 5

BOLT - 1/4" x 5/8" N. F. hex., nut (25-114) L.W. (92-4)

7шт.

7

F54143

TROUGH - extension, L.H. (303)

1шт.

F54280

TROUGH - extension, L.H. (304) COMMODITIES - same as for ref. 5

1шт.

8

F54141

SUPPORT - auger trough (303)

1шт.

F54278

SUPPORT - auger, trough (304)

1шт.

9

F54544

BEATER - cross auger (40")

2шт.

F54544

BEATER - cross auger (52")

4шт.

10

F54545

CLIP - beater backing (40")

2шт.

14-520

BOLT,Hex, 5/16" - 24 x 1-1/4", Gr 5

Nut (25-115) Hex, 5/16"-24 x 1 1/4", G5

6шт.

F54545

CLIP - beater backing (52")

4шт.

14-520

BOLT,Hex, 5/16" - 24 x 1-1/4", Gr 5

Nut (25-115) Hex, 5/16"-24 x 1 1/4", G5

12шт.

11

F92716

AUGER - cross (303)

1шт.

F92712

AUGER - cross (40" - 304)

1шт.

F92770

AUGER - cross (52" - 304)

1шт.

12

F54596

STRIPPER - L.H. (303)

1шт.

11-512

SCREW,Short Nk, 5/16" - 18 x 3/4", Gr 2

BOLT, CARRIAGE, , Nut (25-105), L.W. (92-5) Short NK, 5/16"-18 x 3/4", G2

4шт.

F54600

STRIPPER - L.H. (40" - 304)

1шт.

11-512

SCREW,Short Nk, 5/16" - 18 x 3/4", Gr 2

BOLT, CARRIAGE, , Nut (25-105) Short NK, 5/16"-18 x 3/4", G2

6шт.

F54602

STRIPPER - L.H. (52" - 304)

1шт.

11-512

SCREW,Short Nk, 5/16" - 18 x 3/4", Gr 2

BOLT, CARRIAGE, , Nut (25-105) Short NK, 5/16"-18 x 3/4", G2

5шт.

13

F54595

STRIPPER - R.H. (303)

1шт.

11-512

SCREW,Short Nk, 5/16" - 18 x 3/4", Gr 2

BOLT, CARRIAGE, , Nut (25-105), L.W. (92-5) Short NK, 5/16"-18 x 3/4", G2

4шт.

F54599

STRIPPER - R.H. (40" - 304)

1шт.

11-512

SCREW,Short Nk, 5/16" - 18 x 3/4", Gr 2

BOLT, CARRIAGE, , Nut (25-105) Short NK, 5/16"-18 x 3/4", G2

6шт.

F54601

STRIPPER - R.H. (52" - 304)

1шт.

11-512

SCREW,Short Nk, 5/16" - 18 x 3/4", Gr 2

BOLT, CARRIAGE, , Nut (25-105) Short NK, 5/16"-18 x 3/4", G2

5шт.

14

F92096

SPROCKET - (36T)

1шт.

15

3051/2CH

ROLLER

IDLER - wood block

1шт.

16

F92191

X

CHAIN - cross auger drive (NSS - See chain page)

1шт.

F54111

CHAIN - cross auger drive (NSS - See chain page)

1шт.

Выбрано товаров: 46