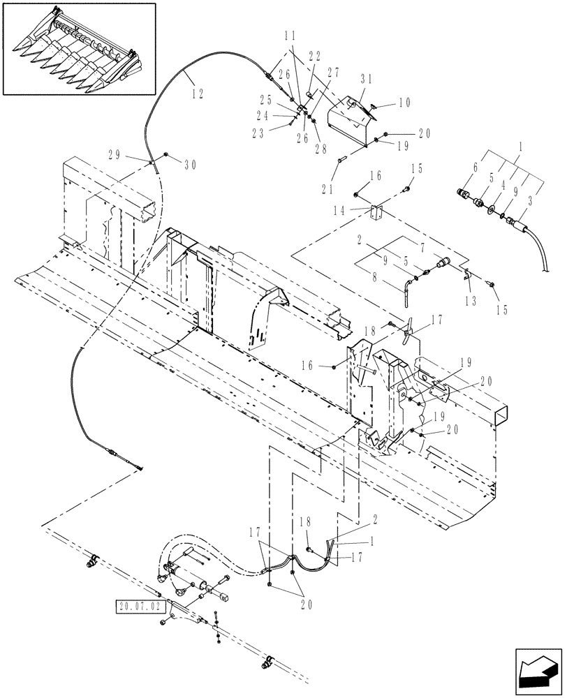
Запчасти Case IH 3212-20 (20.07.01) - HYDRAULIC CONTROL, SUPPLY, RETURN, POSITION INDICATOR (58) - ATTACHMENTS/HEADERS

Схема запчастей Case IH 3212-20 - (20.07.01) - HYDRAULIC CONTROL, SUPPLY, RETURN, POSITION INDICATOR (58) - ATTACHMENTS/HEADERS
5
15
19
5
26
20
1
17
9
16
12
3
15
26
20.07.02
19
23
29
2
13
17
18
27
21
20
8
7
30
20
4
2
16
18
20
28
9
10
22
6
25
14
1
19
24
11
17
31
FIT
1:1
100%

Артикул

Название

Примечание

Количество

1

86620254

HOSE

Assembly, Supply, Male

1шт.

2

86620255

HOSE

Assembly, Return, Female

1шт.

3

86620238

HOSE

1/4" ID, 2900mm[9-1/2 Ft] Long

1шт.

4

86615559

WASHER,18mm ID x 40mm OD x 1.6mm Thk

Special, 18mm ID x 40mm OD x 1.6mm Thk

1шт.

5

86615560

HYD CONNECTOR

11/16"-16 ORFS x 7/8"-14 ORB

1шт.

6

86615558

QUICK MALE COUPLING

Quick, Male, 7/8'-14

1шт.

7

86615561

COUPLING

Quick, Female, 7/8"-14

1шт.

8

86620239

HOSE

1/4" ID, 2215mm[7.3 Ft] Long

1шт.

9

9825770

O-RING,0.07" Thk x 0.301" ID, -11, Cl 6, 90 Duro

2шт.

10

86615512

POINTER

Pointer

1шт.

11

86611849

ANGLE

1шт.

12

687559

CABLE,104mm L

1шт.

13

86615568

CLAMP

1шт.

14

86613391

BRACKET

1шт.

15

9804256

BOLT,Hex, M6 x 1 x 20mm, Full Thd, Cl 8.8

4шт.

16

9804276

FLANGE NUT,Hex, M6 x 1, Cl 8

4шт.

17

577927

CLAMP,12.7mm, Coat, 10.3mm Bolt Hole, P Type

4шт.

18

43127

BOLT,Hex, M8 x 1.25 x 25mm, Cl 8.8

2шт.

19

322358

BELLEVILLE WASHER,M8 Bolt Size x 18mm OD x 1.4mm Thk

2шт.

20

9706690

NUT,M8 x 1.25, Cl 8

4шт.

21

86507486

CARRIAGE BOLT,M8 x 1.25 x 20mm, Cl 8.8

2шт.

22

134580

WIRE CLAMP,6.3mm, Coat, 10.3mm Bolt Hole, J Type

1шт.

23

86551278

SELF-TAP SCREW,HWH, #10 - 16 x 1/2"

1шт.

24

86544338

LOCK WASHER,Ext-Int Tooth, #10

1шт.

25

88612

WASHER,0.22mm ID x 0.5mm OD x 0.05mm Thk

1шт.

26

80707

WASHER,0.25" ID x 0.56" OD x 0.05" Thk

1шт.

27

80684

LOCK WASHER,4.9mm ID x 8.48mm OD x 1.19mm Thk

1шт.

28

87825

NUT,#10-32

1шт.

29

858956

CLAMP,11.1mm, Coat, 8.7mm Bolt Hole, P Type

1шт.

30

100016

NUT,M10 x 1.5, Cl 8

1шт.

31

86615514

INDICATOR

Plate

1шт.

Выбрано товаров: 31