Запчасти Case IH 402 (24) - FEED RAKE DRIVE JUMP CLUTCH (58) - ATTACHMENTS/HEADERS

Схема запчастей Case IH 402 - (24) - FEED RAKE DRIVE JUMP CLUTCH (58) - ATTACHMENTS/HEADERS
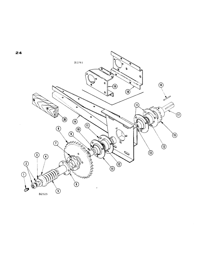
18
12
20
2
6
4
14
7
16
19
17
10
11
15
1
3
11
8
9
12
13
5
11
FIT
1:1
100%

Артикул

Название

Примечание

Количество

1

219-8

LUBE NIPPLE,1/4" - 28 NPTF

NIPPLE, LUBE, , For Ref. 17 1/4"-28 NPT x .54" lg

1шт.

2

25-1512

JAM NUT,Jam, 3/4"-10, G5

JAM NUT - 3/4" N.F. hex.

2шт.

3

O4413N

WASHER

1шт.

4

F13153

BOLT

WASHER - cupped

1шт.

5

O6326CH

SPRING

1шт.

6

F92032

PLATE AND HUB - jump clutch

1шт.

7

T16665

RING - clutch

2шт.

8

F92559

SPROCKET - (35T) rake chain, std. on 2 row

1шт.

F92096

SPROCKET - (36T) rake chain, std. on 3 row

1шт.

F92195M

SPROCKET - (29T) rake chain, std. on 4 row

1шт.

F92195

SPROCKET - (29T) speed att. (3 row)

1шт.

F92729

SPROCKET - (30T) speed att. (2 row)

1шт.

F92194M

SPROCKET - (25T) speed att. (3 and 4 row)

1шт.

F92728

SPROCKET - (25T) speed att. (2 row)

1шт.

9

F53045

BUSHING

BEARING - (2 row)

1шт.

F53645

BEARING

- (3 and 4 row)

1шт.

F13872

CHAIN - feed rake drive (NSS - See chain page) 304 and 404

1шт.

T10256

CHAIN - feed rake drive (NSS - See chain page) 303

1шт.

F54705

CHAIN - feed rake drive (402-660/960) NSS See chain page

1шт.

F54706

CHAIN - feed rake drive (402-1060) NSS See chain page

1шт.

10

F53827

WASHER - thrust, rake chain

1шт.

11

F62225

FLANGE

TTE

4шт.

12

2419CHA

SPHERICAL BEARING,31.75mm ID x 62mm OD x 18mm W

BEARING - (3 and 4 row)

2шт.

F92587

BEARING - (2 row)

2шт.

13

F54483

COLLAR

- (2 row)

1шт.

F62226

COLLAR

- (3 and 4 row)

1шт.

14

F92996

BRACKET - rake drive (3 and 4 row)

1шт.

15

F92588

SPROCKET - (18T) rake internal drive (2 row)

1шт.

F92145

SPROCKET - (15T) rake internal drive (3 and 4 row)

1шт.

16

O2227CH

KEY

- for ref. 15

1шт.

17

F54484

SHAFT - rake chain drive (2 row)

1шт.

F53788

SHAFT - rake chain drive (3 and 4 row)

1шт.

18

F55013

BRACKET - rake drive, inner (2 row - 660/960 combine)

1шт.

F54530

BRACKET - rake chain drive, inner 2- row - 0160 combine)

1шт.

19

F54481

BRACKET - rake drive, outer (2-row)

1шт.

20

F4775

BLOCK - wood (2-row)

1шт.

F4779

BLOCK - wood (3 and 4 row)

1шт.

Выбрано товаров: 37