Запчасти Case IH 402 (94[2]) - FRAME WEIGHTS - 660 - 960 (58) - ATTACHMENTS/HEADERS

Схема запчастей Case IH 402 - (94[2]) - FRAME WEIGHTS - 660 - 960 (58) - ATTACHMENTS/HEADERS
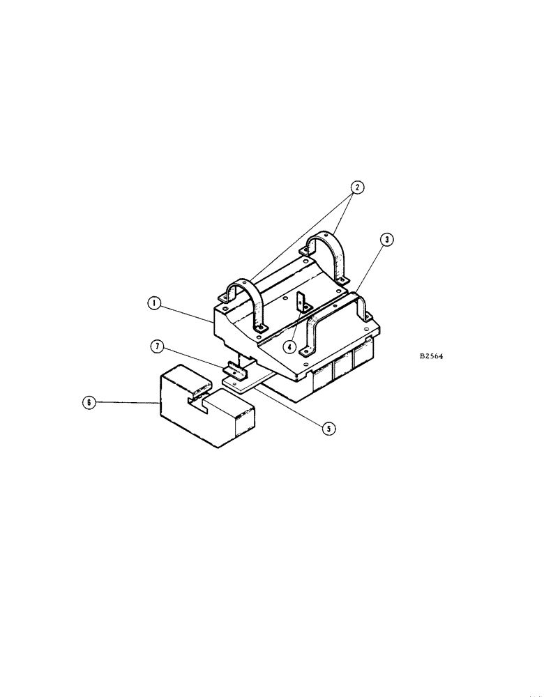
6
4
3
7
5
1
2
FIT
1:1
100%

Артикул

Название

Примечание

Количество

1

F2315

SUPPORT - weight

1шт.

2

F54105

STRAP - front support

2шт.

117-405

BOLT - 1/2" x 4-3/4" reg. sq. hd. N. F. Sq Hd, 1/2"-20 x 3/4", G2

2шт.

117-404

BOLT - 1/2" x 3-1/4" reg. sq. hd. N. F.

2шт.

129-125

NUT,1/2"-20, G5

4шт.

192-23

LOCK WASHER,1/2"

WASHER, LOCK, 1/2"

4шт.

3

F54106

STRAP - rear support

1шт.

117-403

BOLT - 1/2" x 1-1/2" reg. sq. hd. N. F.

2шт.

129-125

NUT,1/2"-20, G5

2шт.

4

F54109

SUPPORT - hose clip

1шт.

114-3

BOLT,Hex, 1/4" - 28 x 5/8", Gr 5

1шт.

129-121

NUT,1/4"-28, G5

1шт.

5

F54107

BAR - support

1шт.

113-419

BOLT,Hex, 1/2" - 13 x 2-1/2", Gr 5, Full Thd

Hex, 1/2"-13 x 2 1/2", G5, Full Thd

3шт.

192-23

LOCK WASHER,1/2"

WASHER, LOCK, 1/2"

3шт.

6

F2316

WEIGHT

4шт.

7

F54108

RETAINER

2шт.

114-104

BOLT,Hex, 5/16" - 24 x 1", Gr 5

- 5/16" x 1" N. F. hex.

2шт.

129-122

NUT,5/16"-24, G5

2шт.

Выбрано товаров: 0