Запчасти Case IH 402 (06) - FEEDER SPOUT, 402 (58) - ATTACHMENTS/HEADERS

Схема запчастей Case IH 402 - (06) - FEEDER SPOUT, 402 (58) - ATTACHMENTS/HEADERS
2
1
11
13
10
7
12
8
3
9
6
5
4
FIT
1:1
100%

Артикул

Название

Примечание

Количество

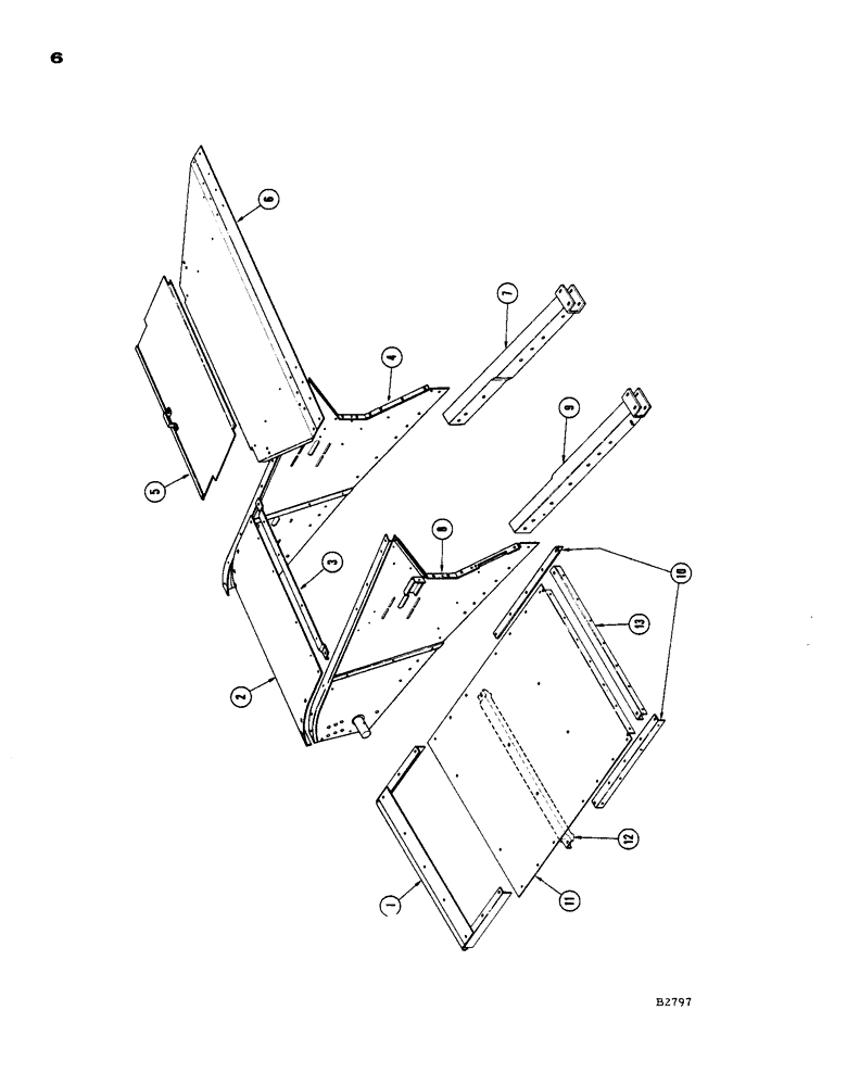
1

F92076

CROSS ANGLE - hinge rod

1шт.

14-616

BOLT,Hex, 3/8" - 24 x 1", Gr 5

- 3/8" x 1" N.F. hex. nut (25-116) L.W. (92-6)

2шт.

2

F54543

COVER - feeder housing, top

1шт.

3

F53769

BRACE - feeder housing upper cross

1шт.

4

F92968

SHEET - L.H. feeder side

1шт.

5

F92563

DOOR - feeder

1шт.

228-3

HANDLE - door

1шт.

49-35

RIVET - 3/16" x 5/16" truss hd.

2шт.

F86525

CLIP

- door

2шт.

6

F93074

TOP SHEET - feeder housing

1шт.

14-510

SCREW,Hex, 5/16" - 24 x 5/8", Gr 5, Full Thd

BOLT, , Nut (25-115) L.W. (92-5) Hex, 5/16"-24 x 5/8", G5, Full Thd

8шт.

7

F92970

CHANNEL - L.H. main frame

1шт.

14-612

BOLT,Hex, 3/8" - 24 x 3/4", Gr 5, Full Thd

Nut (25-116) Hex, 3/8"-24 x 3/4", G5, Full Thd

2шт.

25-106

NUT,3/8"-16, G5

- 3/8" N.C. hex. lockwasher (92-6)

3шт.

8

F92965

SHEET - R.H. feeder side

1шт.

9

F92967

CHANNEL - R.H. main frame

1шт.

10

F53753

ANGLE - lower

2шт.

14-512

BOLT,Hex, 5/16" - 24 x 3/4", Gr 5, Full Thd

Nut (25-115) L.W. (92-5) Hex, 5/16"-24 x 3/4", G5, Full Thd

6шт.

11

F55008

FLOOR - feeder

1шт.

12

F53766

SUPPORT - feeder floor

2шт.

13

F54140

SUPPORT - feeder floor, front

1шт.

Выбрано товаров: 21