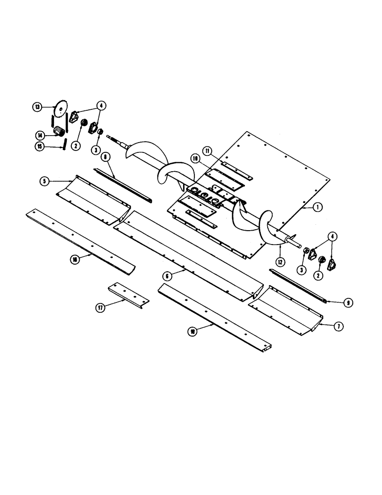
Запчасти Case IH 404 (32) - CROSS AUGER TROUGH, 404 (58) - ATTACHMENTS/HEADERS

Схема запчастей Case IH 404 - (32) - CROSS AUGER TROUGH, 404 (58) - ATTACHMENTS/HEADERS
3
4
16
8
5
2
6
13
11
1
15
9
4
3
12
17
14
10
7
18
2
FIT
1:1
100%

Артикул

Название

Примечание

Количество

1

F55008

FLOOR - feeder (40")

1шт.

F55067

FLOOR - feeder (52")

1шт.

2

F51085

BEARING

2шт.

3

F62226

COLLAR

2шт.

4

F54559

RETAINER

FLANGE

4шт.

O418L

WASHER

4шт.

11-616

CARRIAGE BOLT,Short NK, 3/8"-16 x 1", G2

BOLT, CARRIAGE, , Nut (25-106) L.W. (92-6) Short NK, 3/8"-16 x 1", G2

6шт.

5

F54250

TROUGH - extension, R.H.

1шт.

6

F54139

TROUGH - center

1шт.

7

F54251

TROUGH - extension, L.H.

1шт.

8

F54603

STRIPPER - R.H. (40")

1шт.

F54605

STRIPPER - R.H. (52")

1шт.

9

F54604

STRIPPER - L.H. (40")

1шт.

F54606

STRIPPER - L.H. (52")

1шт.

10

F54544

BEATER - cross auger (40")

2шт.

F54544

BEATER - cross auger (52")

4шт.

11

F54545

CLIP - beater backing (40")

2шт.

F54545

CLIP - beater backing (52")

4шт.

12

F92711

AUGER - cross (40")

1шт.

F92771

AUGER - cross (52")

1шт.

13

F92096

SPROCKET (36T)

1шт.

14

3051/2CH

ROLLER

IDLER - wood block

1шт.

15

F54111

CHAIN - cross auger drive (NSS - See chain page)

1шт.

16

F54248

SUPPORT - auger trough, R.H.

1шт.

17

F54014

GUSSET - auger trough support

1шт.

18

F54249

SUPPORT - auger trough, L.H.

1шт.

Выбрано товаров: 26