Запчасти Case IH 4208-30 (55.662.AZ[02]) - AUTO HEADER HEIGHT CONTROL W/FIELD TRAC (55) - ELECTRICAL SYSTEMS

Схема запчастей Case IH 4208-30 - (55.662.AZ[02]) - AUTO HEADER HEIGHT CONTROL W/FIELD TRAC (55) - ELECTRICAL SYSTEMS
18
9
14
12
24
7
14
2
25
20
23
6
17
4
8
16
5
home
7
21
11
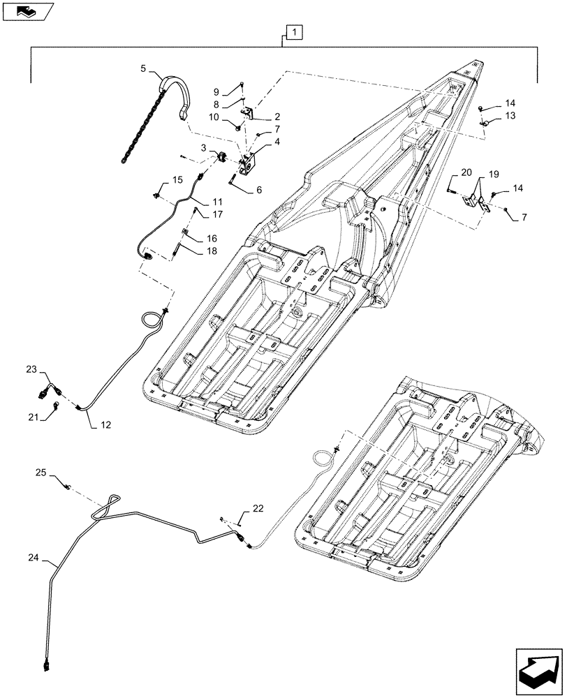
1
3
19
13
22
10
15
FIT
1:1
100%

Артикул

Название

Примечание

Количество

1

NSS

NOT SOLD SEPARAT

Incl 2 - 25

1шт.

2

47399993

SUPPORT

3шт.

3

84543535

SENSOR

1шт.

4

84543536

SENSOR

2шт.

5

47372889

ROD

3шт.

6

43130

BOLT,Hex, M8 x 1.25 x 50mm, Cl 8.8

3шт.

7

86629542

NUT,M8 x 1.25, Cl 8.8

12шт.

8

322358

BELLEVILLE WASHER,M8 Bolt Size x 18mm OD x 1.4mm Thk

6шт.

9

120103

BOLT,M8 x 1.25 x 16mm, Cl 8.8

6шт.

10

87646158

BOLT,Hex, M10 x 15mm, Cl 8.8

6шт.

11

47361005

WIRE HARNESS

3шт.

12

47361006

WIRE HARNESS

3шт.

13

9837692

CLAMP,16.67mm ID, 13.46mm Bolt Hole, P Type

6шт.

14

86511841

BOLT,Flng, M8 x 1.25 x 16mm, Full Thd, Cl 8.8

18шт.

15

82033028

CABLE TIE,170mm L

21шт.

16

86590413

BASE,15.87mm W x 22.22mm OAL x 9.9mm Thk

6шт.

17

84043237

SCREW,Pozidrive, Pan HD, M4.8 x 1.6 x 19mm

18шт.

18

86566989

CABLE TIE,208mm L

6шт.

19

47415223

MOUNT

6шт.

20

43129

BOLT,Hex, M8 x 1.25 x 40mm, LH Thd, Cl 8.8

3шт.

21

87716495

CLAMP

3шт.

22

445395

RIVET,Pop, 4.8mm OD x 18.1mm L

3шт.

23

47412139

WIRE HARNESS

1шт.

24

47412138

WIRE HARNESS

2шт.

25

431352

CLAMP,12mm ID, 8.5mm Bolt Hole, P Type

6шт.

Выбрано товаров: 25