Запчасти Case IH 430N (D-10) - STALK ROLL FRAME, ROLLS AND DRIVE (58) - ATTACHMENTS/HEADERS

Схема запчастей Case IH 430N - (D-10) - STALK ROLL FRAME, ROLLS AND DRIVE (58) - ATTACHMENTS/HEADERS
23
5
32
33
26
12
42
46
1
18
44
35
40
36
11
43
9
31
24
7
39
8
41
21
29
38
28
22
14
25
30
2
34
6
4
19
45
16
27
15
37
17
20
30
3
6
10
13
FIT
1:1
100%

Артикул

Название

Примечание

Количество

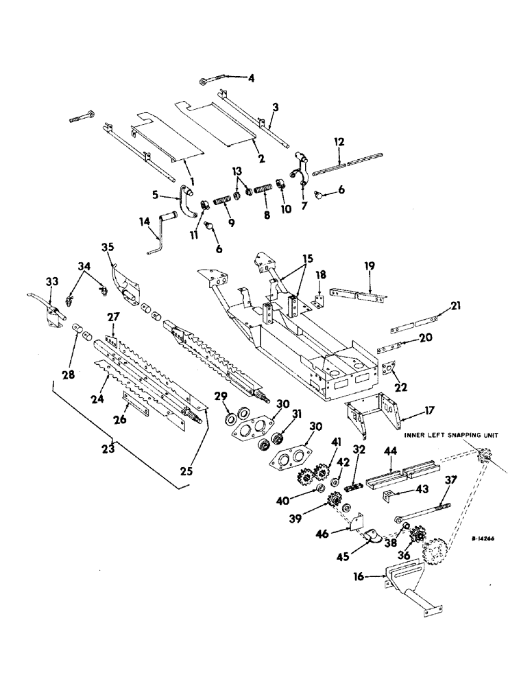
1

632198R91

SHIELD ASSY, stalk roll LH

4шт.

2

632199R91

PLATE

SHIELD ASSY, stalk roll RH

4шт.

3

654952R91

CONTROL ASSY, stalk roll shield

8шт.

4

589460R1

BOLT, stalk roll shield adjusting

8шт.

NUT, 3/8-16 hex

16шт.

WASHER, 3/8 med lock

8шт.

5

939101R1

LEVER, adjusting lower LH

4шт.

576483R1

LOCK PIN,5/16" x 1 1/2", Slotted

Pin, 5/16" x 1 1/2", Slotted

4шт.

6

589457R1

SCREW, adjusting nut retainer

16шт.

WASHER, 5/8 med lock

16шт.

7

939102R1

LEVER, adjusting lower RH

4шт.

576483R1

LOCK PIN,5/16" x 1 1/2", Slotted

Pin, 5/16" x 1 1/2", Slotted

4шт.

8

589453R1

SCREW, adjusting LH thd

4шт.

9

589454R1

SCREW, adjusting RH thd

4шт.

10

935560R1

NUT, adjusting LH thd

4шт.

11

935561R1

NUT, adjusting RH thd

4шт.

12

939103R1

SHAFT, adjusting

2шт.

13

M5895

COLLAR, adjusting screw shaft

4шт.

485-13816

SET SCREW,Sq Hd, 3/8"-16 x 1"

SCREW, 3/8-16 x 1 sq-hd cup-pt set

4шт.

NUT, 3/8-16 hex

4шт.

14

589725R91

CRANK ASSY, adjusting

1шт.

517843R1

COTTER PIN

PIN, 3/16 quick attachable cot

1шт.

15

632110R91

FRAME ASSY, stalk roll

4шт.

BOLT, 7/16-14 x 1 short-sq-nk crg

28шт.

NUT, 7/16-14 hex

28шт.

WASHER, 7/16 med lock

28шт.

16

939065R91

BRACKET ASSY, roll chain tightener

2шт.

BOLT, 3/8-16 x 1 short-sq-nk crg

8шт.

NUT, 3/8-16 hex

8шт.

WASHER, 3/8 med lock

8шт.

17

939055R91

BRACKET ASSY, frame support

4шт.

BOLT, 3/8-16 x 1 short-sq-nk crg

12шт.

BOLT, 5/16-18 x 3/4 short-sq-nk crg

12шт.

BOLT, 7/16-14 x 1 short-sq-nk crg

12шт.

NUT, 5/16-18 hex

12шт.

NUT, 3/8-16 hex

24шт.

NUT, 7/16-14 hex

2шт.

84896

SCREW,Slotted Truss Hd, 5/16" - 18 x 3/4"

5/16-18 x 3/4 slt-truss-hd mach

2шт.

WASHER, 5/16 med lock

12шт.

WASHER, 3/8 med lock

24шт.

WASHER, 7/16 med lock

2шт.

18

654944R1

BRACKET, frame brace left

1шт.

18

654945R1

BRACKET, frame brace right

1шт.

BOLT, 5/16-14 x 1 short-sq-nk crg

4шт.

NUT, 7/16-14 hex

4шт.

WASHER, 7/16 med lock

4шт.

19

150065C1

ANGLE, stalk roll frame brace LH

1шт.

19

150066C1

ANGLE, stalk roll frame brace RH

1шт.

BOLT, 7/16-14 x 1 short-sq-nk crg

4шт.

NUT, 7/16-14 hex

4шт.

WASHER, 7/16 med lock

4шт.

20

654943R1

ANCHOR, stalk frame

6шт.

BOLT, 1/2-13 x 1-1/4 short-sq-nk crg

12шт.

NUT, 1/2-13 hex

12шт.

WASHER, 1/2 med lock

12шт.

21

939059R1

ANCHOR, stalk frame inner

3шт.

BOLT, 1/2-13 x 1 short-sq-nk crg

12шт.

NUT, 1/2-13 hex

12шт.

WASHER, 1/2 med lock

12шт.

22

654947R1

BRACKET, stalk shield control

8шт.

BOLT, 3/8-16 x 1-1/4 short-sq-nk crg

24шт.

NUT, 3/8-16 hex

24шт.

WASHER, 3/8 med lock

24шт.

23

654290R91

ROLL ASSY, left driver stalk

2шт.

23

654291R91

ROLL ASSY, right driver stalk

2шт.

23

654292R91

ROLL ASSY, left driven stalk

2шт.

23

654293R91

ROLL ASSY, right driven stalk

2шт.

18558R1

NUT,3/4"-16, GB

3/4-16 hex lock

8шт.

WASHER, 1-3/16 med lock

8шт.

24

654298R1

VALVE BLOCK

SECTION, stalk roll no 1

16шт.

SCREW, 1/2-20 x 7/8 hex-hd cap

48шт.

WASHER, 1/2 int-tooth lock

48шт.

25

654299R1

VALVE BLOCK

SECTION, stalk roll no

2шт.

SCREW, 1/2-20 x 7/8 hex-hd cap

48шт.

WASHER, 1/2 int-tooth lock

48шт.

26

935627R2

LUG

stalk roll LH

8шт.

26

935628R2

LUG

stalk roll RH

8шт.

SCREW, 1/2-20 x 1 hex-hd cap

32шт.

WASHER, 1/2 int-tooth lock

32шт.

27

654296R1

SEAL ASSY.

SECTION, stalk roll front

32шт.

RIVET, 5/16 x 2-1/4 F-HD solid

32шт.

28

589813R1

BUSHING

stalk roll front

16шт.

29

654297R1

WASHER

stalk roll shaft

8шт.

30

585899R1

PLATE ASSY.

PLATE, stalk roll brg

8шт.

BOLT, 7/16-14 x 1 short-sq-nk crg

16шт.

NUT, 7/16-14 hex

16шт.

WASHER, 7/16 med lock

16шт.

31

455103R91

BEARING

stalk roll bear ball

8шт.

32

CHAIN, stalk roll drive roller, order 131 links of 3/4 in pitch std roller chain from a 10-ft roll marked 1793D and one connecting link 1786D

2шт.

33

589854R91

BRACKET

SUPPORT ASSY, stalk roll left

4шт.

NUT, 1/2-20 hex

4шт.

SCREW, 1/2-20 x 3-3/4 hex-hd cap

4шт.

WASHER, 1/2 int-tooth lock

8шт.

34

332040

LUBE NIPPLE,90 Degree, 1/8" NPT x .84" lg

FITTING, 1/8-27 PTF 90 deg angle lub

8шт.

35

589853R91

BRACKET

SUPPORT ASSY, stalk roll right

4шт.

NUT, 1/2-20 hex

4шт.

SCREW, 1/2-20 x 3-3/4 hex-hd cap

4шт.

WASHER, 1/2 int-tooth lock

8шт.

36

629972R91

DRIVE SPROCKET,15T

SPROCKET ASSY, stalk roll drive idler 15T

2шт.

BOLT, 5/8-11 x 3-1/2 sq-nk crg

2шт.

NUT, 5/8-11 hex

2шт.

WASHER, 5/8 med lock

2шт.

551177R1

WASHER

21/32 x 1-1/4 x 16 ga

4шт.

WASHER, 21/32 x 1-1/4 x 11 ga

6шт.

PO12898

WASHER

29/32 x 1-1/2 x 11 ga

2шт.

37

939071R1

BOLT, roll drive chain adjusting

2шт.

114505

JAM NUT,Jam, 1/2"-13, G5

4шт.

WASHER, 1/2 med lock

2шт.

38

577715R1

SPACER,16.69mm ID x 22.23mm OD x 10.32mm L

drive chain adjusting bolt

2шт.

39

586318R1

PINION

SPROCKET, stalk roll driven 13T

4шт.

40

589696R1

BUSHING

SPACER, stalk roll driven sprocket

4шт.

41

580849R1

PINION

GEAR, stalk roll drive 12T

8шт.

42

585964R1

BUSHING

WASHER, stalk roll gear

8шт.

43

589406R1

ANGLE, drive chain guide

4шт.

BOLT, 3/8-16 x 1 short-sq-nk crg

4шт.

NUT, 3/8-16 hex

4шт.

WASHER, 3/8 MED LOCK

4шт.

44

939069R1

GUIDE, stalk roll drive chain

2шт.

BOLT, 5/16-18 x 1-1/4 short-sq-nk crg

8шт.

NUT, 5/16-18 hex

8шт.

WASHER, 5/16 med lock

8шт.

45

583619R1

BLOCK

drive chain left tightener

1шт.

45

583620R1

BLOCK

drive chain right tightener

1шт.

BOLT, 5/16-18 x 1-1/4 short sq-nk crg

2шт.

NUT, 5/16-18 hex

2шт.

WASHER, 5/16 med lock

2шт.

46

939072R1

BRACKET, drive chain guide left

1шт.

46

939073R1

BRACKET, drive chain guide right

1шт.

BOLT, 3/8-16 x 1 short sq-nk crg

4шт.

NUT, 3/8-16 hex

4шт.

WASHER, 3/8 med lock

4шт.

Выбрано товаров: 131