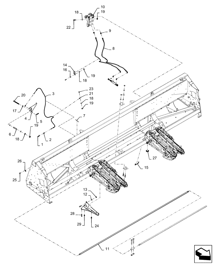
Запчасти Case IH 4408-30 (35.359.AE[02]) - HYDRAULIC, CONTROL, STRIPPER PLATE (35) - HYDRAULIC SYSTEMS

Схема запчастей Case IH 4408-30 - (35.359.AE[02]) - HYDRAULIC, CONTROL, STRIPPER PLATE (35) - HYDRAULIC SYSTEMS
14
27
4
25
2
22
16
10
24
18
18
13
8
15
6
9
26
12
3
23
19
1
29
11
7
20
21
18
19
19
19
5
18
28
17
FIT
1:1
100%

Артикул

Название

Примечание

Количество

1

84245559

HOLDER

1шт.

2

322014450

YOKE,M6

End Cable

2шт.

3

322442450

CABLE

Control

1шт.

4

84977805

INDICATOR

1шт.

5

350356531

SPRING

1шт.

6

322442550

SPACER

1шт.

7

322442650

DECAL

Indicator

1шт.

8

87586105

FLEXIBLE HOSE

Hydraulic, Assy

2шт.

9

86596730

HYD CONNECTOR,11/16" - 16 ORFS x 9/16" - 18 ORB

Nipple

2шт.

10

84435009

COUPLING

Quick

1шт.

11

87395828

ROD

Center

1шт.

12

140045

BELLEVILLE WASHER,M10 Bolt Size x 22mm OD x 1.6mm Thk

8шт.

13

100016

NUT,M10 x 1.5, Cl 8

8шт.

14

577927

CLAMP,12.7mm, Coat, 10.3mm Bolt Hole, P Type

3шт.

15

NH291525

EDGE

Trim

1шт.

16

140104

WASHER,26mm ID x 45mm OD x 3mm Thk

2шт.

17

86624184

WASHER,9mm ID x 16mm OD x 1.6mm Thk

3шт.

18

322358

BELLEVILLE WASHER,M8 Bolt Size x 18mm OD x 1.4mm Thk

8шт.

19

9706690

NUT,M8 x 1.25, Cl 8

8шт.

20

331175

BOLT,Hex, M8 x 1.25 x 75mm, Cl 8.8

1шт.

21

9706748

CLAMP,15.9mm, Coat, 8.7mm Bolt Hole, P Type

1шт.

22

120228

HEX SOC SCREW,M8 x 20mm, Cl 8.8, Full Thd

4шт.

23

86507486

CARRIAGE BOLT,M8 x 1.25 x 20mm, Cl 8.8

1шт.

24

86512446

CARRIAGE BOLT,M10 x 1.5 x 30mm, Cl 8.8

4шт.

25

9512290

RIVET,Pop, 4.8mm OD x 17.8mm L

2шт.

26

9507809

CLAMP,11.3mm ID, 6.7mm Bolt Hole, P Type

2шт.

27

84005019

GROMMET

1шт.

28

120124

SCREW,Hex, M12 x 1.75 x 90mm, Cl 8.8, Full Thd

1шт.

29

86633356

CARRIAGE BOLT,M10 x 34.8mm, Cl 8.8

1шт.

Выбрано товаров: 29