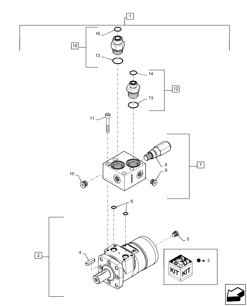
Запчасти Case IH 4408-30 (35.518.AI[02]) - HYDRAULIC MOTOR, ASSY, LH (35) - HYDRAULIC SYSTEMS

Схема запчастей Case IH 4408-30 - (35.518.AI[02]) - HYDRAULIC MOTOR, ASSY, LH (35) - HYDRAULIC SYSTEMS
13
14
13
3
6
3
1
5
4
12
15
11
2
9
16
7
8
10
FIT
1:1
100%

Артикул

Название

Примечание

Количество

1

84142006

HYDRAULIC MOTOR

Incl 2 - 16

1шт.

2

84142008

HYDRAULIC MOTOR

Incl 3 - 5

1шт.

3

9807617

SEAL KIT

Incl 4 - 10

1шт.

4

170030

KEY,8mm x 7mm x 32mm

1шт.

5

278548

PLUG,Hex, 7/16"-20 ORB

1шт.

6

272344

O-RING,0.103" Thk x 0.487" ID, -112, Cl 6, 90 Duro

2шт.

7

87641223

VALVE

Incl 8 - 10

1шт.

8

87645709

VALVE

1шт.

9

218-5208

PLUG,Hex, 1/2"-20 ORB

1шт.

10

218-5209

PLUG,Hex, 9/16"-18 ORB

1шт.

11

73170457

HEX SOC SCREW,M8 x 50mm, Cl 8.8

4шт.

12

86597761

HYD CONNECTOR,13/16"-16 ORFS x M27 x 2.0 ORB

Incl 13 - 14

1шт.

13

86598103

O-RING,2.9mm Thk x 23.6mm ID, Cl 6, 90 Duro

2шт.

14

9992298

O-RING,0.07" Thk x 0.489" ID, -14, Cl 6, 90 Duro

1шт.

15

86597760

HYD CONNECTOR,1"-14 ORFS x M2 x 2.0 ORB

Incl 13, 16

1шт.

16

9992069

O-RING,0.07" Thk x 0.614" ID, -16, Cl 6, 90 Duro

1шт.

Выбрано товаров: 16