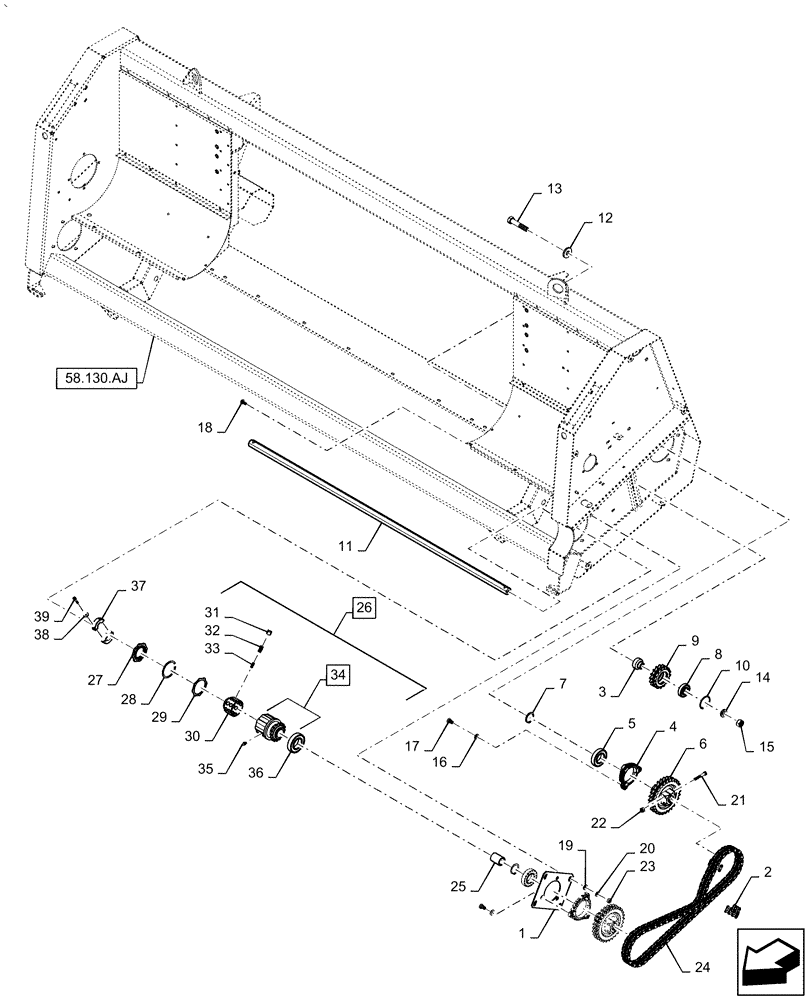
Запчасти Case IH 5505-65 (58.100.AH[03]) - DRIVE HEADER ASSY, FRONT, WITH CHOPPER (58) - ATTACHMENTS/HEADERS

Схема запчастей Case IH 5505-65 - (58.100.AH[03]) - DRIVE HEADER ASSY, FRONT, WITH CHOPPER (58) - ATTACHMENTS/HEADERS
15
20
10
27
2
58.130.aj
25
30
4
21
12
13
37
29
5
34
3
32
18
8
36
19
22
31
38
9
11
35
1
26
7
28
14
6
24
23
17
39
33
16
FIT
1:1
100%

Артикул

Название

Примечание

Количество

1

322653550

COVER PLATE

2шт.

2

87536190

CHAIN,60-2, 2 Links x 19.05mm = 38.1mm

2шт.

3

322632550

BUSHING

2шт.

4

300019980

SUPPORT

Housing, Bearing

6шт.

5

340411240

SPHERICAL BEARING,45mm ID x 85mm OD x 19mm W

Ball

6шт.

6

322632450

DRIVEN SPROCKET

Weld Assy

4шт.

7

370007

SNAP RING,M45, Ext

4шт.

8

210043

BALL BEARING,30mm ID x 62mm OD x 16mm W

2шт.

9

300114232

DRIVEN SPROCKET

2шт.

10

370012

RING,M62, Internal

Circlip

2шт.

11

47516619

Drive, Row Unit, 5RR65

SHAFT

2шт.

12

86592703

WASHER,21mm ID x 50mm OD x 6mm Thk

2шт.

13

15989124

SCREW,M20 x 1.5 x 100mm

2шт.

14

322640650

WASHER

2шт.

15

12164311

NUT,Hex, M20 x 1.5

2шт.

16

412123

LOCK WASHER,13.1mm ID x 21.1mm OD x 2.55mm Thk

18шт.

17

15540221

BOLT,Hex, M12 x 1.25 x 20mm, Cl 8.8, Full Thd

12шт.

18

86633356

CARRIAGE BOLT,M10 x 34.8mm, Cl 8.8

24шт.

19

86625253

WASHER,11mm ID x 24mm OD x 2mm Thk

24шт.

20

140045

BELLEVILLE WASHER,M10 Bolt Size x 22mm OD x 1.6mm Thk

24шт.

21

120071

BOLT,Hex, M10 x 65, 8.8

8шт.

22

100037

LOCK NUT,M10 x 1.5, Cl 8

8шт.

23

100016

NUT,M10 x 1.5, Cl 8

26шт.

24

84976827

CHAIN,60-2, 90 Links x 19.05mm = 1714.5mm

2шт.

25

322525550

SLEEVE

Bushing

1шт.

26

84972763

CLUTCH

Safety, Incl 27 - 36

1шт.

26

84972763R

REMAN-CLUTCH ASSY

Safety

1шт.

26

84972763C

CORE-CLUTCH ASSEMBLY

Return Number

1шт.

27

86634290

SEALING RING,58.5mm ID x 84mm OD x 6mm Thk

1шт.

28

300633

SNAP RING,M80, Internal

1шт.

29

418509

RING

Pressure Disc

1шт.

30

84977724

HUB

1шт.

31

275246

CAM

16шт.

32

386510

SPRING,Compression, 13mm OD X 13.2mm L

16шт.

33

279346

SPRING

Inner

7шт.

34

84977723

BOX

Housing, Incl 35

1шт.

35

300919

LUBE NIPPLE

1шт.

36

84977730

LUBRICANT

Bearing, Ball

1шт.

37

84977051

HALF-SHELL

Clamp

2шт.

38

80681

LOCK WASHER,5/16"

Lock

2шт.

39

86531614

HEX SOC SCREW,M8 x 35mm, Cl 12.9

2шт.

Выбрано товаров: 41