Запчасти Case IH 5506-55 (58.210.AK[01]) - ROLLER ASSY, RH, WITHOUT CHOPPER (58) - ATTACHMENTS/HEADERS

Схема запчастей Case IH 5506-55 - (58.210.AK[01]) - ROLLER ASSY, RH, WITHOUT CHOPPER (58) - ATTACHMENTS/HEADERS
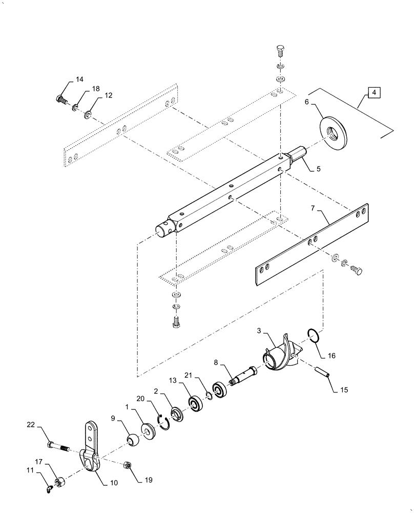
21
10
8
18
13
7
11
2
20
3
17
12
5
14
1
16
19
22
4
15
9
6
FIT
1:1
100%

Артикул

Название

Примечание

Количество

1

322553150

BUSHING,20mm ID x 52.5mm OD x 19.5mm L

1шт.

2

322552750

PROTECTOR

1шт.

3

322530450

AUGER

Auger

1шт.

4

322591850

ROLLER

Shaft Assy, Incl 5, 6

1шт.

5

NSS

NOT SOLD SEPARAT

Shaft, Drive, Incl in 4

1шт.

6

NSS

NOT SOLD SEPARAT

Flange, Incl in 4

1шт.

7

84499693

KNIFE

Stalk Roll

4шт.

8

322558550

PIN

1шт.

9

300121143

BUSHING,20.67mm ID x 36mm OD

Ball Joint

1шт.

10

84972750

SUPPORT

1шт.

11

323713

LUBE NIPPLE,M6 x 1mm

High

1шт.

12

86588502

WASHER,13mm ID x 25mm OD x 3mm Thk

12шт.

13

28996510

BALL BEARING,20mm ID x 47mm OD x 14mm W

2шт.

14

15540321

SCREW,Hex, M12 x 1.25 x 25mm, Cl 8.8, Full Thd

12шт.

15

278910

LOCK PIN,12mm OD x 55mm L, Slotted

Spring, Heavy Plane

1шт.

16

14458680

O-RING,0.103" Thk x 1.487" ID, -128, Cl 5, 75 Duro

1шт.

17

12575911

NUT,M16 x 1.5, Cl 8

1шт.

18

412123

LOCK WASHER,13.1mm ID x 21.1mm OD x 2.55mm Thk

12шт.

19

100038

NUT,M12 x 1.75, Cl 8

Privilege Torque

1шт.

20

300647

SNAP RING,M47, Int

Circlip

1шт.

21

355533706

WASHER

1шт.

22

350460

BOLT,Hex, M12 x 1.75 x 75mm, Cl 8.8

1шт.

Выбрано товаров: 22