Запчасти Case IH 5506-65 (88.100.58[01]) - DIA KIT, AUGER DIVIDER, END, LH (88) - ACCESSORIES

Схема запчастей Case IH 5506-65 - (88.100.58[01]) - DIA KIT, AUGER DIVIDER, END, LH (88) - ACCESSORIES
3
18
13
14
6
12
2
21
13
11
4
19
21
24
10
9
5
8
15
22
7
23
1
17
16
19
20
13
FIT
1:1
100%

Артикул

Название

Примечание

Количество

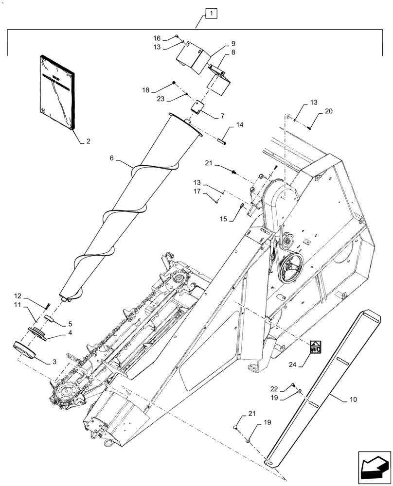
1

47732086

DIA KIT, HARVESTER

Auger LH, End Divder, Incl 2 - 24

1шт.

2

47732457

INSTRUCTION

Install, Tall Corn Attach

1шт.

3

84976235

PROTECTION CAP

Shield

1шт.

4

84976225

BEARING HOUSING

1шт.

5

340411236

BALL BEARING,25mm ID x 52mm OD x 15mm W

1шт.

6

84976231

AUGER

Weld Assy, LH

1шт.

7

84976237

HYD CONNECTOR

Coupling, Auger Drive

1шт.

8

84976000

GUARD

Shield

1шт.

9

84976267

GUARD

Shield Red, End Auger

1шт.

10

84976405

SUPPORT

Plate, Anti-Wrap RH

1шт.

11

83990583

LOCK WASHER,M8 x 14.8mm OD x 2.1mm Thk

Helical Spring

4шт.

12

43128

BOLT,M8 x 1.25 x 30mm, Cl 8.8

4шт.

13

322357

BELLEVILLE WASHER,M6 Bolt Size x 14mm OD x 1.3mm Thk

9шт.

14

278910

LOCK PIN,12mm OD x 55mm L, Slotted

Spring

1шт.

15

170005

KEY,M8 x 7mm W x 25mm OAL

Square

3шт.

16

86508568

BOLT,Hex, M6 x 1 x 16mm, Cl 8.8

4шт.

17

86500688

NUT,Hex, M6 x 1.0, Cl 10.9

4шт.

18

43362

NUT,M8 x 1.25, Cl 10

10шт.

19

412650

BELLEVILLE WASHER,M8 Bolt Size x 22mm OD x 1.4mm Thk

7шт.

20

120100

BOLT,M6 x 20mm, Cl 8.8

5шт.

21

86507486

CARRIAGE BOLT,M8 x 1.25 x 20mm, Cl 8.8

4шт.

22

120104

BOLT,Hex, M8 x 1.25 x 20mm, Cl 8.8

3шт.

23

300477

SET SCREW,M8 x 16mm

1шт.

24

341000042

DECAL

Warning, Crush Hazard

1шт.

Выбрано товаров: 24