Запчасти Case IH 733 (L-38) - MULTI-LUBER (58) - ATTACHMENTS/HEADERS

Схема запчастей Case IH 733 - (L-38) - MULTI-LUBER (58) - ATTACHMENTS/HEADERS
29
38
28
39
27
10
18
20
16
23
35
34
17
5
32
3
10
24
12
11
36
7
9
12
26
11
37
1
31
33
8
25
21
15
6
13
19
14
2
40
12
30
4
37
22
FIT
1:1
100%

Артикул

Название

Примечание

Количество

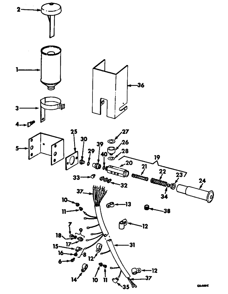
1

156271C91

RESERVOIR, lube

1шт.

2

156272C91

CAP ASSY, reservoir

1шт.

3

167698C1

BRACKET ASSY, reservoir

1шт.

938016R1

FLANGE NUT,Flg, USR, 1/4"-20

1/4 C-Z flange whiz lock

1шт.

937059R1

SCREW,Serr, M10 x 70mm, Cl 10.9

1/4 x 1/2 C-Z slt-truss-hd

1шт.

4

156274C1

SCREW, reservoir clamp thumb

1шт.

120399

NUT, 5/16 C-Z sq-mach screw

1шт.

5

166910C1

BRACKET, relube pump 18 point

1шт.

16897R1

CARRIAGE BOLT,Short Nk, 5/16" - 18 x 3/4", Gr 2, Full Thd

BOLT, 5/16 x 3/4 C-Z sq-nk crg

2шт.

120376

NUT,5/16"-18, G5

2шт.

938016R1

FLANGE NUT,Flg, USR, 1/4"-20

1/4 C-Z whiz lock

2шт.

937059R1

SCREW,Serr, M10 x 70mm, Cl 10.9

1/4 x 1/2 C-Z whiz lock

2шт.

80681

LOCK WASHER,5/16"

WASHER, LOCK, 5/16"

2шт.

6

21450R1

ADAPTER,1/4"-1/8 NPTF

gear case lube fitting

1шт.

7

20204R1

ADAPTER,90 Degree, 1/4"-1/8 NPTF

gear case angle

2шт.

8

156280C11

ELBOW W/NUT, gear case tube connector, includes ref. nos. 15 and 16

1шт.

9

156282C11

CONNECTOR, ELEC

CONNECTOR W/NUT, gear case straight, includes ref. nos. 17 and 18

2шт.

10

167705C1

UNION

straight

12шт.

11

156281C1

TUBE NUT,50" Length

NUT, compression

12шт.

12

358986R1

CABLE CLIP

CLAMP, J medium

1шт.

13

965694R1

CLAMP, J large

1шт.

14

362127R1

CLIP

CLAMP, J small

3шт.

15

156280C1

ELBOW

1шт.

16

156281C1

TUBE NUT,50" Length

NUT, compression

1шт.

17

156282C1

CONNECTOR

2шт.

18

156281C1

TUBE NUT,50" Length

NUT, compression

2шт.

19

156292C91

BODY AND PLUNGER ASSY, includes ref. nos. 20 thru 23 and 34

1шт.

20

BODY, not serviced separately order body and plunger assy 156292C91

1шт.

21

156293C1

SPRING, LH wound

1шт.

22

156294C1

SPRING, RH wound

1шт.

23

156295C1

BUSHING, spring guide

1шт.

24

156291C91

ROD ASSY, push

1шт.

25

167699C1

PLATE, mounting

1шт.

26

156275C1

CONNECTOR, reservoir

1шт.

27

156276C1

WASHER

reservoir gasket

1шт.

28

156277C1

WASHER, reservoir connector

1шт.

29

382331R1

SEALING WASHER,8.33mm ID x 12.7mm OD x 0.79mm Thk

stop plug

1шт.

30

167697C1

PLUG, stop

1шт.

31

167723C91

HARNESS ASSY, multi-luber, 733 serial no. 575 and below, includes ref nos. 32 and 37

1шт.

31

173706C91

HARNESS ASSY, multi-luber, 733 serial no. 576 and above, includes ref nos. 32 and 37

1шт.

31

167701C91

HARNESS ASSY, multi-luber, 734 serial no. 536 and below, includes ref nos. 32 and 37

1шт.

31

173708C91

HARNESS ASSY, multi-luber, 734 serial no. 537 and above, includes ref nos. 32 and 37

1шт.

32

156281C1

TUBE NUT,50" Length

NUT, compression

17шт.

33

156286C1

PLUG, no. 18 outlet closure

1шт.

34

156296C1

WASHER, horseshoe

1шт.

35

150092H1

COUPLER, snap on

2шт.

36

169133C1

SHIELD, relube pump, 733 serial no. 575 and below, 734 serial no. 536 and below

1шт.

938016R1

FLANGE NUT,Flg, USR, 1/4"-20

1/4 C-Z whiz lock

1шт.

937059R1

SCREW,Serr, M10 x 70mm, Cl 10.9

1/4 x 1/2 C-Z whiz lock

1шт.

37

TUBE, nylon, 1/8 OD x 50-ft long, order one ft increments from 50-ft roll marked 997140R1 specify cut or uncut

1шт.

38

115329R1

GROMMET

2шт.

39

156290C1

ADAPTER, multi-luber nose

1шт.

40

156289C1

GASKET, nose adapter

1шт.

156576C91

GREASE

FLUID, grease, one quart container

1шт.

587813R92

GREASE

FLUID, grease, five gallon container, not illustrated

1шт.

Выбрано товаров: 55