Запчасти Case IH 762 (Q-32) - MULTI-LUBER (58) - ATTACHMENTS/HEADERS

Схема запчастей Case IH 762 - (Q-32) - MULTI-LUBER (58) - ATTACHMENTS/HEADERS
36
30
38
33
3
5
4
12
23
32
12
39
24
18
40
9
29
21
25
27
10
10
6
8
28
16
37
11
26
17
37
1
15
22
13
31
34
12
2
35
14
19
11
20
7
FIT
1:1
100%

Артикул

Название

Примечание

Количество

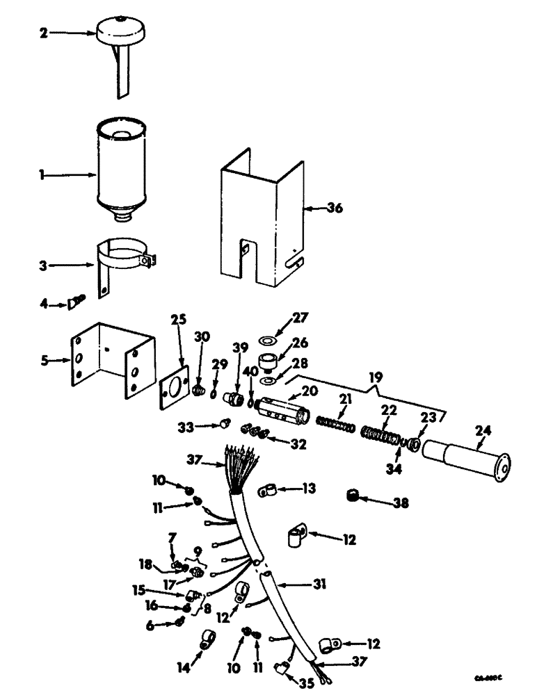
1

156271C91

RESERVOIR, lube

2шт.

2

156272C91

CAP ASSY, reservoir

2шт.

3

167698C1

BRACKET ASSY, reservoir

2шт.

938016R1

FLANGE NUT,Flg, USR, 1/4"-20

1/4 C-Z flange whiz lock

2шт.

937059R1

SCREW,Serr, M10 x 70mm, Cl 10.9

1/4 x 1/2 C-Z whiz lock

2шт.

4

156274C1

SCREW, reservoir clamp thumb

2шт.

120399

NUT, 5/16 C-Z sq-mach screw

2шт.

5

166909C1

BRACKET, relube pump 12 point, serial no. 509 and below

2шт.

5

166910C1

BRACKET, relube pump 18 point, serial no. 510 and above

2шт.

16897R1

CARRIAGE BOLT,Short Nk, 5/16" - 18 x 3/4", Gr 2, Full Thd

BOLT, 5/16 x 3/4 C-Z sq-nk crg

4шт.

120376

NUT,5/16"-18, G5

4шт.

938016R1

FLANGE NUT,Flg, USR, 1/4"-20

1/4 C-Z whiz lock

4шт.

937059R1

SCREW,Serr, M10 x 70mm, Cl 10.9

1/4 x 1/2 C-Z whiz lock

4шт.

80681

LOCK WASHER,5/16"

WASHER, LOCK, 5/16"

4шт.

6

21450R1

ADAPTER,1/4"-1/8 NPTF

gear case lube fitting

2шт.

7

20204R1

ADAPTER,90 Degree, 1/4"-1/8 NPTF

gear case angle

4шт.

8

156280C11

ELBOW W/NUT, gear case tube connector, includes ref nos. 15 and 16

2шт.

9

156282C11

CONNECTOR, ELEC

CONNECTOR W/NUT, gear case straight, includes ref nos. 17 and 18

4шт.

10

167705C1

UNION

straight

24шт.

11

156281C1

TUBE NUT,50" Length

NUT, compression

24шт.

12

358986R1

CABLE CLIP

CLAMP, J medium

1шт.

13

965694R1

CLAMP, J large

1шт.

14

362127R1

CLIP

CLAMP, J small

12шт.

15

156280C1

ELBOW

2шт.

16

156281C1

TUBE NUT,50" Length

NUT, compression

2шт.

17

156282C1

CONNECTOR

4шт.

18

156281C1

TUBE NUT,50" Length

NUT, compression

4шт.

19

167700C91

BODY AND PLUNGER ASSY, serial no. 509 and below, includes ref nos. 20 through 23

2шт.

19

156292C91

BODY AND PLUNGER ASSY, serial no. 510 and above, includes ref no. 20 thru 23 & 34

2шт.

20

BODY, not serviced separately order body and plunger assy ref no. 19

2шт.

21

141585H1

SPRING, inner, serial no. 509 and below

2шт.

21

156293C1

SPRING, LH wound, serial no. 510 and above

2шт.

22

141584H1

SPRING, outer, serial no. 509 and below

2шт.

22

156294C1

SPRING, RH wound, serial no. 510 and above

2шт.

23

168629C1

BUSHING, spring guide, serial no. 509 and below

2шт.

23

156295C1

BUSHING, spring guide, serial no. 510 and above

2шт.

24

168630C1

ROD ASSY, push, serial no. 509 and below

2шт.

24

156291C91

ROD ASSY, push, serial no. 510 and above

2шт.

25

167699C1

PLATE, mounting

2шт.

26

156275C1

CONNECTOR, reservoir

2шт.

27

156276C1

WASHER

reservoir

2шт.

28

156277C1

WASHER, reservoir connector

2шт.

29

382331R1

SEALING WASHER,8.33mm ID x 12.7mm OD x 0.79mm Thk

stop plug

2шт.

30

167696C1

PLUG, stop

2шт.

31

167721C91

HARNESS ASSY, multi-luber, includes ref no. 36, serial no. 509 and below

2шт.

31

173716C1

HARNESS ASSY, multi-luber, includes ref no. 36, serial no. 510 and above

2шт.

32

167693C1

NUT

compression, serial no. 509 and below

24шт.

32

156281C1

TUBE NUT,50" Length

NUT, compressoin, serial no. 510 and above

36шт.

33

NOT USED THIS APPLICATION

1шт.

34

156296C1

WASHER, horseshoe

2шт.

35

150092H1

COUPLER, snap on

6шт.

36

169134C1

SHIELD, relube pump, serial no. 509 and below

2шт.

938016R1

FLANGE NUT,Flg, USR, 1/4"-20

1/4 C-Z whiz lock

2шт.

937059R1

SCREW,Serr, M10 x 70mm, Cl 10.9

1/4 x 1/2 C-Z whiz lock

2шт.

37

TUBE, nylon, 1/8 OD x 50-ft long, order one ft increments from 50-ft roll marked 997140R1 specify cut or uncut

1шт.

38

NOT USED THIS APPLICATION

1шт.

39

156290C1

ADAPTER, multi-luber nose

2шт.

40

156289C1

GASKET, multi-lube nose adapter

2шт.

156576C91

GREASE

FLUID, grease, one quart container

1шт.

587813R92

GREASE

FLUID, grease, five gallon container, not illustrated

1шт.

Выбрано товаров: 60