Запчасти Case IH 800 - SERIES (A-14) - MAIN DRIVE AND SHIELDING, 824, 833, 834, 843 AND 844 CORN HEADS (58) - ATTACHMENTS/HEADERS

Схема запчастей Case IH 800 - SERIES - (A-14) - MAIN DRIVE AND SHIELDING, 824, 833, 834, 843 AND 844 CORN HEADS (58) - ATTACHMENTS/HEADERS
3
10
6
2
31
26
30
23
8
16
28
17
14
7
15
13
22
27
9
7
6
24
5
21
5
23
25
1
29
19
4
20
11
12
18
FIT
1:1
100%

Артикул

Название

Примечание

Количество

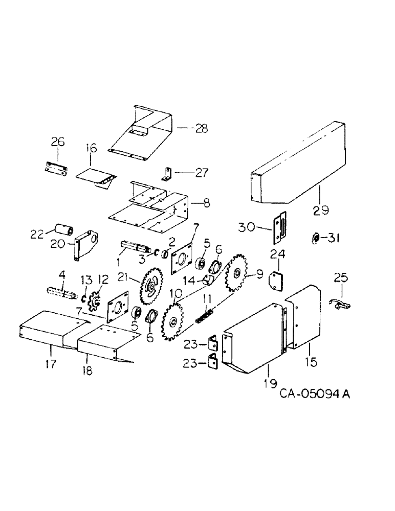
1

176320C1

SHAFT

main drive rear, 833CH

1шт.

1

176321C2

SHAFT, main drive rear, 834CH

1шт.

1

176470C2

SHAFT

main drive rear, 843CH

1шт.

1

176323C2

SHAFT

main drive rear, 844CH

1шт.

2

935856R1

BUSHING

SPACER, main drive shaft rear, 833CH

1шт.

2

176337C1

SPACER

main drive shaft rear, 834, 843 and 844CH

1шт.

3

575186R1

SNAP RING

RING, main drive shaft, 833, 834, 843 and 844CH

1шт.

4

SHAFT, main drive front outer, refer to stalk roll and gatherer drive gear case and slip clutch

1шт.

5

156816C91

BEARING HOUSING,28.6mm Hex x 72mm OD x 25mm W

BEARING, main drive shaft ball

2шт.

6

599382R1

FLANGED BEARING

main drive shaft brg

2шт.

18508R1

CARRIAGE BOLT,Short Nk, 3/8" - 16 x 3/4", Gr 2, Full Thd

BOLT, 3/8 x 3/4 znd sq-nk crg

1шт.

482256R1

BEARING LOCK NUT,Flg, USR, 3/8"-16

3/8 znd flange lock

1шт.

7

176338C1

FLANGED BEARING

FLANGE, main drive shaft brg

2шт.

18508R1

CARRIAGE BOLT,Short Nk, 3/8" - 16 x 3/4", Gr 2, Full Thd

BOLT, 3/8 x 3/4 znd sq-nk crg

1шт.

17351R1

CARRIAGE BOLT,Short Sq Nk, 3/8" - 16 x 1", Gr 2

BOLT, 3/8 x 1 sq-nk crg

1шт.

482256R1

BEARING LOCK NUT,Flg, USR, 3/8"-16

3/8 znd flange lock

1шт.

8

199036C1

CHANNEL, main drive rear shaft LH, 843CH

1шт.

8

199037C1

CHANNEL

main drive rear shaft LH, 844CH

1шт.

174856C1

BOLT,Hex Serr, 5/16" - 18 x 1/2"

5/16 x 1/2 hex-hd flange

1шт.

477-73108

SERRATED SCREW,Sl Truss Hd, 5/16" - 18 x 1/2"

5/16 x 1/2 slt truss-hd

1шт.

938017R1

FLANGE NUT,Flg, USR, 5/16"-18

5/16 flange lock

1шт.

9

176340C1

DRIVE SPROCKET

SPROCKET, main drive 24T, 833, 834, 843 and 844CH

1шт.

102609R1

LOCK NUT,3/4"-16

NUT, 3/4 znd nylon insert

1шт.

21211R1

WASHER

25/32 x 1-1/2 x 7 ga znd

1шт.

10

176340C1

DRIVE SPROCKET

SPROCKET, main driven 24T

1шт.

10

199181C1

PINION

SPROCKET ASSY, main driven, 940 RPM, 28T, parts accessories

1шт.

102609R1

LOCK NUT,3/4"-16

NUT, 3/4 znd nylon insert

1шт.

21211R1

WASHER

25/32 x 1-1/2 x 7 ga znd

1шт.

11

CHAIN ASSY, main drive, use 89 links from 10 ft roll marked 1793D and 1 connecting link 1786D

1шт.

12

176342C1

SPROCKET,8T

SPROCKET, auger drive 8T

1шт.

13

575186R1

SNAP RING

RING, main drive shaft

1шт.

14

176343C1

TENSIONER

BLOCK, main drive tightener, serial no. 26000 and below

1шт.

17351R1

CARRIAGE BOLT,Short Sq Nk, 3/8" - 16 x 1", Gr 2

BOLT, 3/8 x 1 znd sq-nk crg

1шт.

120377

NUT,3/8" - 16, Gr 5

1шт.

120382

LOCK WASHER,Helical Spring, 3/8"

WASHER, LOCK, 3/8"

1шт.

15

199137C1

SUPPORT

main drive chain rear LH, serial no. 23001 and above

1шт.

938017R1

FLANGE NUT,Flg, USR, 5/16"-18

5/16 flange lock

1шт.

477-73108

SERRATED SCREW,Sl Truss Hd, 5/16" - 18 x 1/2"

5/16 x 1/2 slt truss-hd

1шт.

16

199091C1

SHIELD ASSY, main drive coupler, 833CH

1шт.

16

199062C2

GROMMET

SHIELD ASSY, main drive coupler LH, 834, 843 and 844CH

1шт.

477-73108

SERRATED SCREW,Sl Truss Hd, 5/16" - 18 x 1/2"

5/16 x 1/2 slt truss-hd

1шт.

938017R1

FLANGE NUT,Flg, USR, 5/16"-18

5/16 znd flange lock

1шт.

17

176275C1

SHIELD

main drive front shaft RH, 2 used 833CH, 3 used 843CH

1шт.

17

176276C1

SHIELD

main drive front shaft RH, 1 used 824CH, 2 used 834CH, 3 used 844CH

1шт.

938017R1

FLANGE NUT,Flg, USR, 5/16"-18

5/16 znd flange lock

1шт.

477-73108

SERRATED SCREW,Sl Truss Hd, 5/16" - 18 x 1/2"

5/16 x 1/2 slt truss-hd

1шт.

135270

SERRATED SCREW,5/16" - 18 x 3/4"

5/16 x 3/4 znp slt truss-hd

1шт.

18

176277C1

SHIELD

main drive front shaft LH, 2 used 833 and 834CH, 3 used 843 and 844CH

1шт.

938017R1

FLANGE NUT,Flg, USR, 5/16"-18

5/16 znd flange lock

1шт.

135270

SERRATED SCREW,5/16" - 18 x 3/4"

5/16 x 3/4 znp slt truss-hd

1шт.

19

199132C1

SHIELD

ASSY, main drive chain frt LH, serial no. 23001 and above

1шт.

477-73108

SERRATED SCREW,Sl Truss Hd, 5/16" - 18 x 1/2"

5/16 x 1/2 slt truss-hd

1шт.

938017R1

FLANGE NUT,Flg, USR, 5/16"-18

5/16 flange lock

1шт.

18764R1

HARDWARE,Hex, 5/16"-18 x 3/4", G2

BOLT, 5/16 x 3/4 hex-hd mach

1шт.

80681

LOCK WASHER,5/16"

WASHER, LOCK, 5/16"

1шт.

20

199225C1

SUPPORT

ASSY, main drive rear shaft shield, 843 and 844CH

1шт.

938017R1

FLANGE NUT,Flg, USR, 5/16"-18

5/16 znd flange lock

1шт.

477-73108

SERRATED SCREW,Sl Truss Hd, 5/16" - 18 x 1/2"

5/16 x 1/2 slt truss-hd

1шт.

21

178666C1

DRIVE SPROCKET

SPROCKET, main drive driven 32T, slow speed

1шт.

102609R1

LOCK NUT,3/4"-16

NUT, 3/4 znd nylon insert

1шт.

21211R1

WASHER

25/32 x 1-1/2 x 7 ga znd

1шт.

22

178647C2

COUPLING, BREAK AWAY

COUPLING, main drive rear LH, 833 corn head

1шт.

231-1448

NUT,1/2"-13, GB

1/2 znd nylon insert hex

1шт.

180185

BOLT,Hex, 1/2" - 13 x 2 1/2", Gr 5

SCREW, 1/2 x 2-1/2 znd hex-hd cap

1шт.

23

180031C1

ANGLE

main drive chain shield, serial no. 23001 and above

1шт.

24

199286C1

BAR

main drive chain shield LH, serial no. 23001 and above

1шт.

135270

SERRATED SCREW,5/16" - 18 x 3/4"

5/16 x 3/4 slt truss-hd

1шт.

938017R1

FLANGE NUT,Flg, USR, 5/16"-18

5/16 flange lock

1шт.

25

168481C1

LATCH ASSY.

LATCH, main drive chain shield, serial no. 23001 and above

1шт.

436732

SCREW,Slotted Pan Hd, #10-24 x 1/2"

10-24 x 1/2 slt pan-hd

1шт.

607893R1

WASHER

0.203 x 0.500 x 0.054

1шт.

120217

LOCK WASHER,#10

WASHER, LOCK, #10

1шт.

120361

NUT,Hex Mach Screw, #10 - 24

1шт.

26

199029C1

SUPPORT, main drive coupler shield, 833CH

1шт.

135270

SERRATED SCREW,5/16" - 18 x 3/4"

5/16 x 3/4 slt truss-hd

1шт.

938017R1

FLANGE NUT,Flg, USR, 5/16"-18

5/16 flange lock

1шт.

27

199287C1

ANGLE, main drive rear shaft shield, 834CH

1шт.

135270

SERRATED SCREW,5/16" - 18 x 3/4"

5/16 x 3/4 slt truss-hd

1шт.

938017R1

FLANGE NUT,Flg, USR, 5/16"-18

5/16 flange lock

1шт.

28

199035C1

SUPPORT, main drive rear shaft, 834CH

1шт.

477-73108

SERRATED SCREW,Sl Truss Hd, 5/16" - 18 x 1/2"

5/16 x 1/2 slt truss-hd

1шт.

938017R1

FLANGE NUT,Flg, USR, 5/16"-18

5/16 flange lock

1шт.

29

176401C1

SHIELD

ASSY, main drive chain, serial no. 23000 and below

1шт.

18764R1

HARDWARE,Hex, 5/16"-18 x 3/4", G2

BOLT, 5/16 x 3/4 znd hex-hd mach

1шт.

80681

LOCK WASHER,5/16"

WASHER, LOCK, 5/16"

1шт.

30

199151C1

SUPPORT

main drive chain tightener LH, serial no. 26001 and above

1шт.

31

629972R91

DRIVE SPROCKET,15T

SPROCKET, main drive tightener, serial no. 26001 and above

1шт.

18720R1

SCREW,Short NK, 5/8"-11 x 2", G2

BOLT, 5/8 x 2 crg type 1

1шт.

464623R1

WASHER

.656 x 1.500 x .105

1шт.

21782R1

WASHER

.656 x 1.500 x .054

1шт.

492-11062

BEARING WASHER,5/8"

WASHER, LOCK, 5/8"

1шт.

425-1410

JAM NUT,Jam, 5/8"-11, G5

5/8 jam types

1шт.

21783R1

SQ HOLE WASHER,41/64" x 1 1/2" x .105", Sq Hole

.656 x 1.500 x .090 sq/h

1шт.

Выбрано товаров: 93