Запчасти Case IH F345 (64) - MULTI - LUBER SYSTEM (58) - ATTACHMENTS/HEADERS

Схема запчастей Case IH F345 - (64) - MULTI - LUBER SYSTEM (58) - ATTACHMENTS/HEADERS
1
13
11
1
8
10
12
1
15
10
13
11
10
6
3
1
7
6
12
1
10
2
6
4
1
2
5
10
14
9
2
1
2
3
FIT
1:1
100%

Артикул

Название

Примечание

Количество

1

F12299

CLAMP - "J", small

15шт.

2

F12300

CLAMP - "J", large

7шт.

3

F12301

CLAMP - "J", 17/32" dia. hole

1шт.

4

F12302

CLIP - frame

1шт.

5

F86366

CAP

1шт.

6

F86367

ELBOW - 1/8 tube x 1/8 NPT, male 90deg.

4шт.

7

F86369

RESERVOIR - lubricant

1шт.

8

NSS

NOT SOLD SEPARAT

MULTI - LUBER

1шт.

9

F86371

1шт.

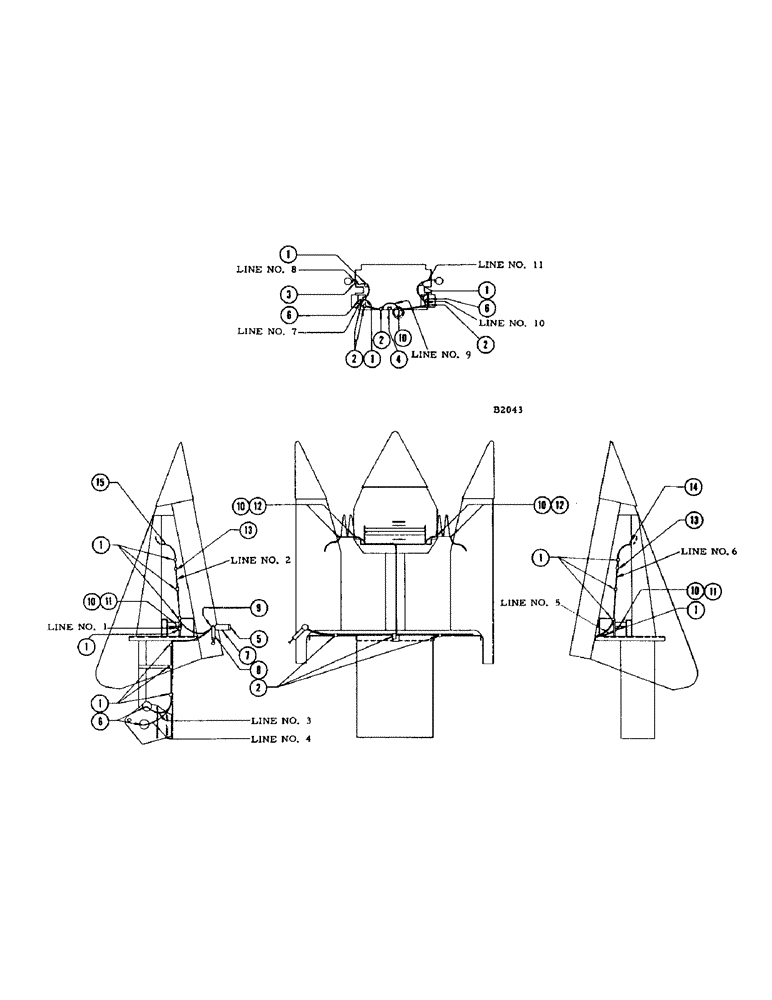
HARNESS Line No. 1. - Bearing Carrier Housing, L.H. Line No. 2. - Outer Snapping roll, L.H. Line No. 3. - Idler Main Gear Box Drive, Front Line No. 4. - Idler Main Gear Box Drive, R.H. Line No. 5. - Bearing Carrier Housing, R.H. Line No. 6. - Outer Snapping Roll, R.H. Line No. 7. - Gear Box Inner Gathering Chain, L.H. Line No. 8. - Inner Snapping Roll, L.H. Line No. 9. - Bearing Housing Main Drive Shaft Line No. 10. - Gear Box Inner Gathering Chain, R.H. Line No. 11. - Inner Snapping Roll, R.H.

1шт.

10

F86399

FITTING

CONNECTOR - 1/8 tube x 1/8 NPT, male

7шт.

11

219-82

ELBOW,90 Degree, 1/8"-27

FITTING - 90deg. angle body

2шт.

12

219-402

ADAPTER,90 Degree, 1/4"-1/8 NPTF

FITTING - 1/4-28 x 1/8 NPT 90deg. adapter

4шт.

13

F86368

UNION - for lines #2 and #6

2шт.

14

F86658

LINE - auxiliary #6, R.H.

1шт.

15

F86652

LINE - auxiliary #2, L.H.

1шт.

Выбрано товаров: 16