Запчасти Case IH 1052 (09-56) - CE DRIVELINE EUROPEAN HEADERS (09) - CHASSIS

Схема запчастей Case IH 1052 - (09-56) - CE DRIVELINE EUROPEAN HEADERS (09) - CHASSIS
14
2
5
12
4
2
3
10
5
11
13
1
FIT
1:1
100%

Артикул

Название

Примечание

Количество

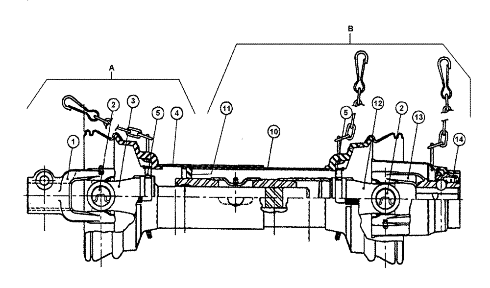
370000A1

DRIVE SHAFT

Complete, Inc. A & B

1шт.

a

372396A1

SHAFT

Male, Inc. 1 - 5

1шт.

b

372397A1

SHAFT

Female, Inc. 2, 5, 10 - 13

1шт.

1

338287A1

YOKE

1шт.

2

352697A1

U-JOINT SPIDER

Includes Lube Fitting

2шт.

3

NSS

NOT SOLD SEPARAT

Shaft Assy, Yoke and Shaft, Order 372396A1

1шт.

4

372389A1

SHIELD

Outer, Inc. Decal

1шт.

5

372387A1

KIT

Bearing

2шт.

10

372390A1

SHIELD

Inner

1шт.

11

372388A1

SPACER

1шт.

12

NSS

NOT SOLD SEPARAT

Tube Assy, Yoke and Tube, Order 372397A1

1шт.

13

372392A1

YOKE

UNIVERSAL JOINT YOKE Auto-Lok

1шт.

14

372393A1

KIT

Auto-Lok

1шт.

Выбрано товаров: 13