Запчасти Case IH 1052 (09-58) - EUROPEAN HEADER UPGRADES - SEED SAVER ATTACHMENT (09) - CHASSIS

Схема запчастей Case IH 1052 - (09-58) - EUROPEAN HEADER UPGRADES - SEED SAVER ATTACHMENT (09) - CHASSIS
d
4
3
2
6
a
4
c
5
1
b
FIT
1:1
100%

Артикул

Название

Примечание

Количество

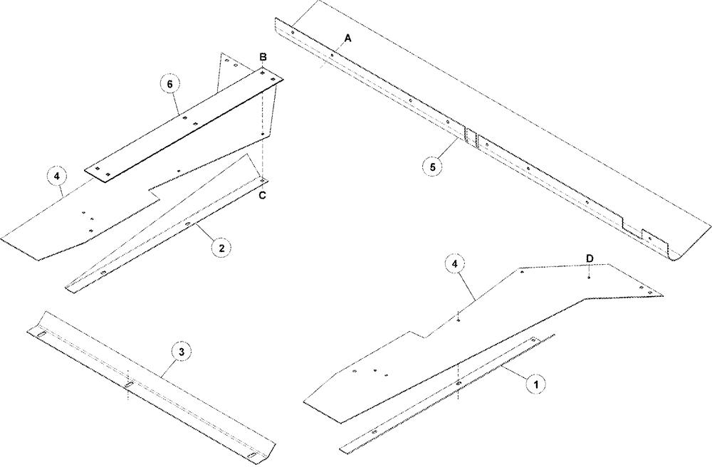
1

429265A1

DEFLECTOR

Left-Hand

1шт.

2

429266A1

DEFLECTOR

Right-Hand

1шт.

3

429268A1

DEFLECTOR

Front, Plastic

1шт.

4

429267A1

RUBBER SEAL

2шт.

5

429269A1

DEFLECTOR

Rear, Plastic

1шт.

6

338463A1

BAR

Draper Seal Support

2шт.

See Figures 09-49, 09-50

1шт.

a

281-54910

SELF-TAP SCREW,Hex Wash Hd, 3/8"-16 x 5/8"

3/8 st x 5/8

1шт.

b

411-612

CARRIAGE BOLT,Sq Nk, 3/8" - 16 x 3/4", Gr 2

3/8 x 3/4

1шт.

c

232-5316

FLANGE NUT,Flg, 3/8"-16

1шт.

d

409-7612

BOLT,3/8"-16 x 1.09" OAL

1шт.

Выбрано товаров: 11