Запчасти Case IH 2042 (09-36) - COMBINE ADAPTER FEED DRAPER

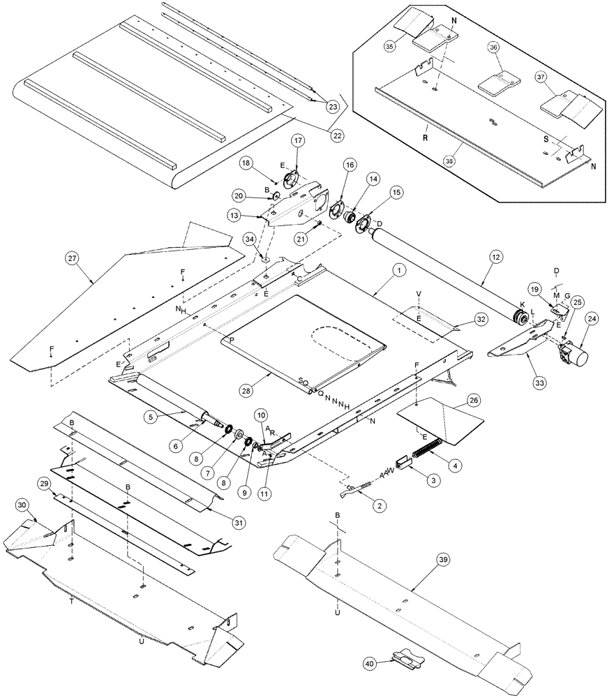
Схема запчастей Case IH 2042 - (09-36) - COMBINE ADAPTER FEED DRAPER
e
u
12
n
b
22
n
l
20
24
e
e
k
29
11
19
23
15
g
26
a
e
27
d
10
9
w
r
36
18
33
5
b
39
21
t
a
s
40
14
q
m
31
d
25
13
f
2
f
3
n
b
p
n
38
7
28
s
1
34
30
6
c
32
n
e
16
f
n
a
r
35
q
8
b
37
17
h
h
u
e
v
8
4
n
FIT
1:1
100%

Артикул

Название

Примечание

Количество

1

87408743

PAN

38 Inch Deck, Inc. 32

1шт.

1

87408719

PAN

45 Inch Deck, Inc. 32

1шт.

1

87408744

PAN

56 Inch Deck, Inc. 32

1шт.

2

338363A1

ROD

Idler Adjuster

2шт.

3

338327A1

SUPPORT

Idler Rod

2шт.

4

87627761

SPRING

Idler Tension

2шт.

5

338326A1

TUBE,51.96 mm ID, 57.3 mm OD, 901 mm Length

Idler Roller, 38 Inch Deck

1шт.

5

430277A1

TUBE

Idler Roller, 45 Inch Deck

1шт.

5

87407805

TUBE,57.3 mm OD x 1346 mm L

Idler Roller, 56 Inch Deck

1шт.

6

338364A1

SHAFT

Idler Roller, 38 Inch Deck

1шт.

6

430278A1

SHAFT

Idler Roller, 45 Inch Deck

1шт.

6

87407809

SHAFT

Idler Roller, 56 Inch Deck

1шт.

7

338345A1

BALL BEARING

Ball

2шт.

8

341036A1

OIL SEAL

Bearing

4шт.

9

338344A1

SPACER

Tube

2шт.

10

338366A1

ARM

Idler

2шт.

11

219-57

LUBE NIPPLE,90 Degree Elbow, 1/4" - 28 NPTF

2шт.

12

450914A1

ROLLER

Drive, 38 Inch Deck

1шт.

12

450915A1

ROLLER

Drive, 45 Inch Deck

1шт.

12

87407814

ROLLER ASSY.

Drive, 56 Inch Deck

1шт.

13

87422119

SUPPORTING ARM

Drive Roller

1шт.

14

557116R91

BALL BEARING,30.16mm ID x 62mm OD x 18mm W

Inc. 557117R11

1шт.

14

557117R11

COLLAR

Locking

1шт.

15

338335A1

FLANGE

1шт.

16

338336A1

FLANGE

1шт.

17

338337A1

COVER

1шт.

18

219-8

LUBE NIPPLE,1/4" - 28 NPTF

1шт.

19

87422120

SUPPORT

Rear Deflector, Left

1шт.

19

87422121

SUPPORT

Rear Deflector, Right

1шт.

20

10752K

WASHER

Flat

4шт.

21

338295A1

SPACER

Tube

2шт.

22

338361A1

DRAPER

Feed, 38 Inch Deck, Inc. 23

1шт.

22

430272A1

DRAPER

Feed, 45 Inch Deck, Inc. 23

1шт.

22

87407808

DRAPER

Feed, 56 Inch Deck, Inc. 23

1шт.

23

175225A1

KIT

Inc. 2 Slats and Hardware, 38 Inch Deck

1шт.

23

430274A1

LINKAGE

Inc. 2 Slats and Hardware, 45 Inch Deck

1шт.

23

87423280

BAR

Inc. 2 Slats and Hardware, 56 Inch Deck

1шт.

24

87408339

HYDRAULIC MOTOR

Draper Drive, See Figure 09-30

1шт.

25

410841A1

WOODRUFF KEY

SAE 15

1шт.

26

87422133

DEFLECTOR

LH, 38 Inch Deck

1шт.

26

87422134

SUPPORT

RH Deflector, 38 Inch Deck

1шт.

26

87422127

SUPPORT

LH Deflector, 45 Inch Deck

1шт.

26

87422131

DEFLECTOR

RH, 45 Inch Deck

1шт.

26

87422118

DEFLECTOR

LH & RH, 56 Inch Deck

2шт.

27

87422124

DEFLECTOR

Plastic, LH, 38 Inch Deck

1шт.

27

87422125

DEFLECTOR

Plastic, RH, 38 Inch Deck

1шт.

27

87422063

DEFLECTOR

Plastic, LH, 45 Inch Deck

1шт.

27

87422123

DEFLECTOR

Plastic, RH, 45 Inch Deck

1шт.

27

87422122

DEFLECTOR

Plastic, LH & RH, 56 Inch Deck

2шт.

28

87408803

SUPPORT

38 Inch Deck

1шт.

28

87408742

SUPPORT

45 Inch Deck

1шт.

28

87408802

SUPPORT

56 Inch Deck

1шт.

29

450919A1

SHIM

Pan, 38 Inch Deck

1шт.

29

450920A1

SHIM

Pan, 45 Inch Deck

1шт.

29

87408326

SHIM

Pan, 56 Inch Deck

1шт.

30

87422149

PAN

Feed Pan To Cutterbar, 38 Inch Deck

1шт.

30

87422150

PAN

Feed Pan To Cutterbar, 45 Inch Deck

1шт.

30

87422151

PAN

Feed Pan To Cutterbar, 56 Inch Deck

1шт.

31

87422096

DEFLECTOR

Steel, For 38 Inch Deck

1шт.

31

87422097

DEFLECTOR

Steel, For 45 Inch Deck

1шт.

31

87422098

DEFLECTOR

Steel, For 56 Inch Deck

1шт.

32

87422140

COVER

Feed Pan, 38 Inch Deck

1шт.

32

87422145

COVER

Feed Pan, 45 Inch Deck

1шт.

32

87422145

COVER

Feed Pan, 56 Inch Deck

1шт.

33

87422065

SUPPORTING ARM

Drive Roller, Left

1шт.

34

10752K

WASHER

Flat

2шт.

35

87422157

SUPPORT

Right, Serial Range: -CCC0016650

1шт.

36

338353A1

RETAINER

, Serial Range: -CCC0016650

1шт.

37

87422156

SUPPORT

Left, Serial Range: -CCC0016650

1шт.

38

NS

NOT SERVICED

Plate, Order Ref. 39,40, Serial Range: -CCC0016650

1шт.

39

87461312

PLATE

Transition, 38 Inch Deck, Start Serial: CCC0016651

1шт.

39

87461313

PLATE

Transition, 45 Inch Deck, Start Serial: CCC0016651

1шт.

39

87460759

PLATE

Transition, 56 Inch Deck, Start Serial: CCC0016651

1шт.

40

87461308

PLATE

Anchor, Transition Plate Support, Welded to Cutterbar, Start Serial: CCC0016651

2шт.

a

425-1010

NUT,5/8"-11, G5

1шт.

b

231-5348

FLANGE NUT,Flg, 1/2"-13

1шт.

c

434-820

CARRIAGE BOLT,Sht Sq Nk, 1/2" - 13 x 1 1/4", Gr 5

1шт.

d

33-616

CARRIAGE BOLT,Sq Nk, 3/8" - 16 x 1", Gr 5

1шт.

e

232-5316

FLANGE NUT,Flg, 3/8"-16

1шт.

f

440-13812

SCREW,Cross Pan Hd, 3/8"-16 x 3/4"

1шт.

g

358047A1

SCREW,Torx, Truss HD, 3/8" - 16 x 1/2", Gr 5

Truss Head Torx, 3/8 x 1/2

1шт.

h

80679

LOCK WASHER,1/20.507 CST ZND

1шт.

k

80426

SET SCREW,Hex Soc, 3/8"-16 x 5/16"

1шт.

l

358048A1

LOCK BOLT

3/8 NC x 3/4

1шт.

m

492-11038

LOCK WASHER,3/8"

1шт.

n

425-108

NUT,1/2" - 13, Gr 5

1шт.

p

360-816

BOLT,Hex, 1/2" - 13 x 1", Gr 8

1шт.

q

495-11053

WASHER,1/2", SAE

1шт.

r

492-11062

BEARING WASHER,5/8"

1шт.

s

1980673C1

BOLT

1/2 x 2-1/4

1шт.

v

434-612

CARRIAGE BOLT,Sht Sq Nk, 3/8" - 16 x 3/4", Gr 5

1шт.

u

434-816

CARRIAGE BOLT,Sht Sq Nk, 1/2" - 13 x 1", Gr 5

1шт.

w

495-11066

WASHER,5/8", SAE

1шт.

Выбрано товаров: 93