Запчасти Case IH 2052 (09-17) - DRAPER CARRIER DECKS (03) - CHASSIS/MOUNTED EQUIPMENT

Схема запчастей Case IH 2052 - (09-17) - DRAPER CARRIER DECKS (03) - CHASSIS/MOUNTED EQUIPMENT
p
l
b
j
e
a
10
11
2
b
a
4
b
9
g
b
6
k
c
b
3
b
n
f
e
4
b
5
a
m
a
1
8
e
7
b
d
b
FIT
1:1
100%

Артикул

Название

Примечание

Количество

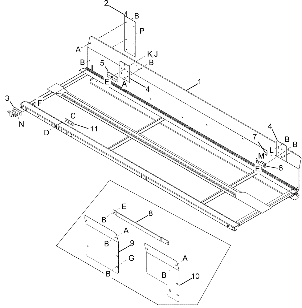
1

346001A1

CARRIER

Left-Hand, Shown

1шт.

21.0 Foot Header

1шт.

1

346003A1

CARRIER

Left-Hand

1шт.

25.0 Foot Header

1шт.

1

345998A1

CARRIER

Left-Hand

1шт.

30.0 Foot Header

1шт.

1

372313A1

PLATFORM ASSY.

Left-Hand

1шт.

36.0 Foot Header

1шт.

1

87447121

CARRIER

Left-Hand

1шт.

39.0 Foot Header

1шт.

1

346004A1

CARRIER

Right-Hand

1шт.

21.0 Foot Header

1шт.

1

346005A1

CARRIER

Right-Hand

1шт.

25.0 Foot Header

1шт.

1

345996A1

CARRIER

Right-Hand

1шт.

30.0 Foot Header

1шт.

1

346005A1

CARRIER

Right-Hand Inboard

1шт.

36.0 and 39.0 Foot Header

1шт.

1

372320A1

PLATFORM ASSY.

Right-Hand Outboard

1шт.

36.0 Foot Header

1шт.

1

87447122

CARRIER

Right-Hand Outboard

1шт.

36.0 and 39.0 Foot Header

1шт.

2

87408760

EXTENSION

Left-Hand, Shown

1шт.

2

87408806

EXTENSION

Right-Hand

1шт.

3

87422058

DRAWBAR SUPPORT

Front Deck

4шт.

21.0 Foot Header

1шт.

3

87422058

DRAWBAR SUPPORT

Front Deck

6шт.

25.0 and 30.0 Foot Header

1шт.

3

87422058

DRAWBAR SUPPORT

Front Deck

7шт.

36.0 and 39.0 Foot Header

1шт.

4

87408320

PLATE

Deck Support

4шт.

21.0, 25.0 and 30.0 Foot Header

1шт.

4

87408320

PLATE

Deck Support

7шт.

36.0 and 39.0 Foot Header

1шт.

5

345984A1

CLAMP

Deck

2шт.

21.0, 25.0 and 30.0 Foot Header

1шт.

5

345984A1

CLAMP

Deck

4шт.

36.0 and 39.0 Foot Header

1шт.

6

346199A1

GUIDE

Deck

2шт.

21.0, 25.0 and 30.0 Foot Header

1шт.

6

346199A1

GUIDE

Deck

3шт.

36.0 Foot Header

1шт.

7

347022A1

BALL BEARING

Ball

4шт.

21.0, 25.0 and 30.0 Foot Header

1шт.

7

347022A1

BALL BEARING

Ball

6шт.

36.0 and 39.0 Foot Header

1шт.

8

372322A1

BAR

Front Connecting, With Connected Right Hand Decks

1шт.

36.0 and 39.0 Foot Header

1шт.

9

372323A1

EXTENSION

Backsheet, With Connected Right Hand Decks

1шт.

36.0 and 39.0 Foot Header

1шт.

10

370014A1

EXTENSION

With Split Right Hand Decks

1шт.

36.0 and 39.0 Foot Header

1шт.

11

87408334

PLATE

With Flex Header Only

2шт.

30.0 and 36.0 Foot Header

1шт.

a

434-612

CARRIAGE BOLT,Sht Sq Nk, 3/8" - 16 x 3/4", Gr 5

1шт.

b

232-5316

FLANGE NUT,Flg, 3/8"-16

1шт.

c

231-5348

FLANGE NUT,Flg, 1/2"-13

1шт.

d

434-820

CARRIAGE BOLT,Sht Sq Nk, 1/2" - 13 x 1 1/4", Gr 5

1шт.

e

33-616

CARRIAGE BOLT,Sq Nk, 3/8" - 16 x 1", Gr 5

1шт.

f

434-816

CARRIAGE BOLT,Sht Sq Nk, 1/2" - 13 x 1", Gr 5

1шт.

g

413-612

BOLT,Hex, 3/8" - 16 x 3/4", Gr 5

1шт.

h

434-1024

CARRIAGE BOLT,Sht Sq Nk, 5/8" - 11 x 1 1/2", Gr 5

1шт.

j

425-1010

NUT,5/8"-11, G5

1шт.

k

492-11062

BEARING WASHER,5/8"

1шт.

l

495-11041

WASHER,0.406" ID x 0.812" OD x 0.065" W

1шт.

m

413-620

BOLT,Hex, 3/8" - 16 x 1-1/4", Gr 5

1шт.

n

231-4118

LOCK NUT,1/2"-13, GB

1шт.

p

358047A1

SCREW,Torx, Truss HD, 3/8" - 16 x 1/2", Gr 5

1шт.

Выбрано товаров: 68