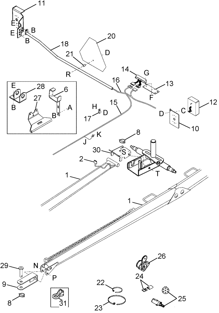
Запчасти Case IH 2052 (09-32) - TRANSPORT OPTION HITCH AND LIGHTS - 30.0 & 36.0 FOOT HEADERS (03) - CHASSIS/MOUNTED EQUIPMENT

Схема запчастей Case IH 2052 - (09-32) - TRANSPORT OPTION HITCH AND LIGHTS - 30.0 & 36.0 FOOT HEADERS (03) - CHASSIS/MOUNTED EQUIPMENT
d
2
22
r
23
17
8
24
n
k
b
b
27
20
c
12
1
28
13
b
18
11
31
d
6
b
p
t
25
29
g
e
1
14
f
s
h
30
21
10
a
d
16
9
e
8
j
15
e
26
FIT
1:1
100%

Артикул

Название

Примечание

Количество

1

410684A1

HITCH ASSY, TRAILER

Tow Pole

1шт.

2

352646A1

HARNESS

Wiring,Hitch Section

1шт.

6

410683A1

SUPPORT

Hitch Storage, Inboard End

1шт.

8

362443A1

PIN

Lynch

2шт.

9

347549A1

CLEVIS

Except Europe

1шт.

9

362451A1

HITCH ASSY, TRAILER

European (Not Shown)

1шт.

10

347503A1

SUPPORT

Rear Lamp

1шт.

11

410822A1

SUPPORT

Front Lamp, Inc. Amber Reflector

1шт.

12

369989A1

LAMP

Amber-Red

2шт.

13

347504A1

SUPPORT

Lamp Module, Except Europe

1шт.

14

362463A1

LAMP

Lighting Enhancement Except Europe

1шт.

15

347505A1

HARNESS

Wiring, Hitch To Module

1шт.

16

347506A1

HARNESS

Wiring, Module To Lamps

1шт.

17

352693A1

HOLDER

Insulated

3шт.

18

362455A1

SHIELD

Harness

1шт.

20

352649A1

REFLECTOR

Slow Moving Vehicle

1шт.

21

379563A1

SPACER

Tube

1шт.

22

1336064C1

CABLE TIE

CABLE STRAP 190 mm (7-1/2 in)

7шт.

23

L18337

CABLE TIE,9.95"-12.1" lg

CABLE STRAP 15 in

4шт.

24

1281490C1

CONNECTOR, ELEC

CONNECTOR Inc. Male and Female Connectors

1шт.

25

1960430C1

PLUG

Male

1шт.

26

1281476C1

SOCKET/RECEPTACLE

Female

1шт.

27

87414734

SUPPORT

Diagonal Brace Storage

1шт.

28

410686A1

SUPPORT

Hitch Storage

1шт.

29

410682A1

HEADED PIN

Hitch

1шт.

30

430285A1

CHANNEL

Spindle

1шт.

31

362451A1

HITCH ASSY, TRAILER

Pintle Eye

1шт.

a

434-816

CARRIAGE BOLT,Sht Sq Nk, 1/2" - 13 x 1", Gr 5

1шт.

b

231-5348

FLANGE NUT,Flg, 1/2"-13

1шт.

c

33-616

CARRIAGE BOLT,Sq Nk, 3/8" - 16 x 1", Gr 5

1шт.

d

232-5316

FLANGE NUT,Flg, 3/8"-16

1шт.

e

434-816

CARRIAGE BOLT,Sht Sq Nk, 1/2" - 13 x 1", Gr 5

1шт.

f

451173A1

SCREW

No. 8 x 3/4

1шт.

g

451174A1

SPECIAL NUT

No. 8

1шт.

h

409-7612

BOLT,3/8"-16 x 1.09" OAL

1шт.

j

413-48

BOLT,Hex, 1/4" - 20 x 1/2", Gr 5

1шт.

k

231-5144

SERRATED NUT,Flg, USR, 1/4"-20

1шт.

l

413-1016

BOLT,Hex, 5/8" - 11 x 1", Gr 5

1шт.

m

231-41410

NUT,5/8"-11, GB

1шт.

n

413-1064

BOLT,Hex, 5/8" - 11 x 4", Gr 5

1шт.

p

231-53410

FLANGE NUT,Flg, 5/8"-11

1шт.

r

433-628

CARRIAGE BOLT,Sq Nk, 3/8" - 16 x 1 3/4", Gr 5

1шт.

s

231-42412

NUT,3/4"-10, GB

1шт.

t

413-1232

BOLT,Hex, 3/4" - 10 x 2", Gr 5

1шт.

Выбрано товаров: 44