Запчасти Case IH 2052 (09-36) - OUTBOARD SKID SHOES AND POLY (03) - CHASSIS/MOUNTED EQUIPMENT

Схема запчастей Case IH 2052 - (09-36) - OUTBOARD SKID SHOES AND POLY (03) - CHASSIS/MOUNTED EQUIPMENT
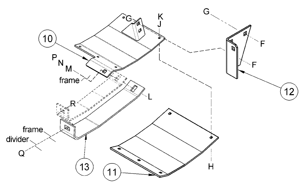
13
k
g
12
q
10
j
11
m
f
r
h
l
f
n
p
g
FIT
1:1
100%

Артикул

Название

Примечание

Количество

REF

INSTRUCTION

KIT, ADJUSTABLE OUTBOARD SKID SHOES WITH POLY

1шт.

Order 87403522 From Machinery

1шт.

10

346057A1

SHOE

Skid, Adjustable, Left-Hand

1шт.

10

346059A1

SHOE

Skid, Adjustable, Right-Hand

1шт.

11

345956A1

SHOE

Plastic, Outer

1шт.

12

87408949

SUPPORT

Skid Shoe, Left-Hand

1шт.

12

87408950

SUPPORT

Skid Shoe, Right-Hand

1шт.

13

450928A1

SHOE

Poly, Header End Skid

2шт.

f

231-53410

FLANGE NUT,Flg, 5/8"-11

1шт.

g

433-1020

CARRIAGE BOLT,Sq Nk, 5/8" - 11 x 1 1/4", Gr 5

1шт.

h

33-616

CARRIAGE BOLT,Sq Nk, 3/8" - 16 x 1", Gr 5

1шт.

j

492-11038

LOCK WASHER,3/8"

1шт.

k

425-106

NUT,3/8"-16, Cl 5

1шт.

l

413-1040

BOLT,Hex, 5/8" - 11 x 2-1/2", Gr 5

1шт.

m

495-11066

WASHER,5/8", SAE

1шт.

n

492-11062

BEARING WASHER,5/8"

1шт.

p

425-1010

NUT,5/8"-11, G5

1шт.

q

433-828

CARRIAGE BOLT,Sq Nk, 1/2" - 13 x 1 3/4", Gr 5

1шт.

r

231-5348

FLANGE NUT,Flg, 1/2"-13

1шт.

Выбрано товаров: 19