Запчасти Case IH 2052 (09-59) - FLOAT INDICATOR (03) - CHASSIS/MOUNTED EQUIPMENT

Схема запчастей Case IH 2052 - (09-59) - FLOAT INDICATOR (03) - CHASSIS/MOUNTED EQUIPMENT
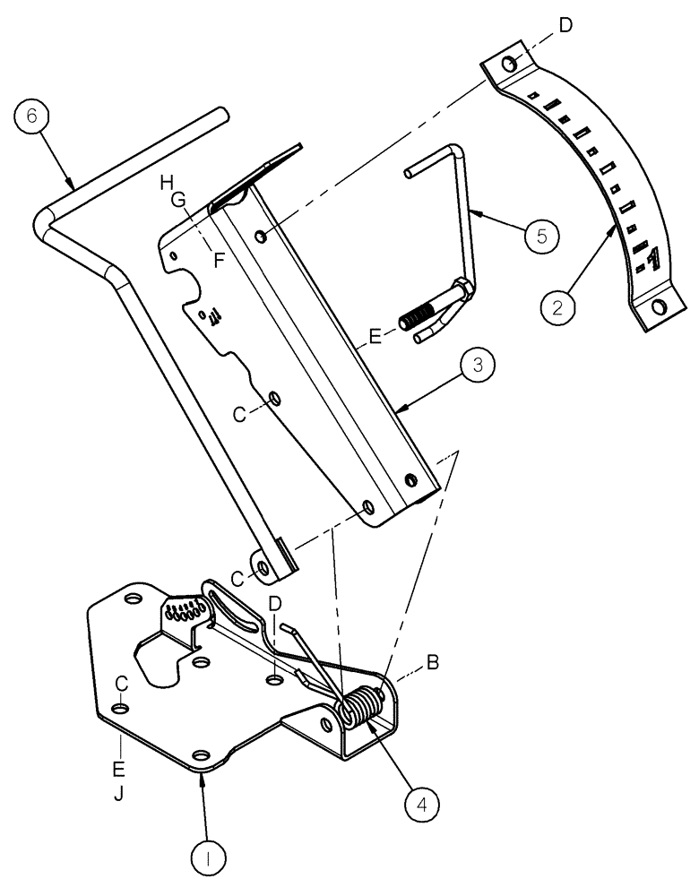
f
4
b
3
2
e
h
c
g
e
d
c
5
c
d
j
6
1
FIT
1:1
100%

Артикул

Название

Примечание

Количество

REF

INSTRUCTION

KIT, FLOAT INDICATOR

1шт.

Order 87402755 From Machinery

1шт.

1

87422091

BRACKET

Lower Mounting

1шт.

2

87408752

INDICATOR

Gauge, Header Float

1шт.

3

87422084

SUPPORTING ARM

Upper

1шт.

4

87422072

SPRING

Torsion

1шт.

5

87422074

MOUNTING PARTS

Rod, Header Float

1шт.

6

87422077

ARM/LIFTING DEVICE

Sensing

1шт.

b

413-640

BOLT,Hex, 3/8" - 16 x 2-1/2", Gr 5

1шт.

c

232-5316

FLANGE NUT,Flg, 3/8"-16

1шт.

d

281-54910

SELF-TAP SCREW,Hex Wash Hd, 3/8"-16 x 5/8"

1шт.

e

495-11041

WASHER,0.406" ID x 0.812" OD x 0.065" W

1шт.

f

1336677C1

BOLT

1шт.

g

495-11053

WASHER,1/2", SAE

1шт.

h

231-5146

FLANGE NUT,3/8"-16

1шт.

j

434-612

CARRIAGE BOLT,Sht Sq Nk, 3/8" - 16 x 3/4", Gr 5

1шт.

Выбрано товаров: 16