Качественные детали и логистика
Оригинальные и аналоговые запчасти с доставкой по России, Казахстану и Беларуси
©2022 PartSell ООО "Система" ИНН 2463123282 ОГРН 1212400004838
Центральный офис: г. Красноярск, Академика Киренского, д.87, пом.4
Телефон: 8 (800) 777-65-74 Email: zakaz@partsell.ru
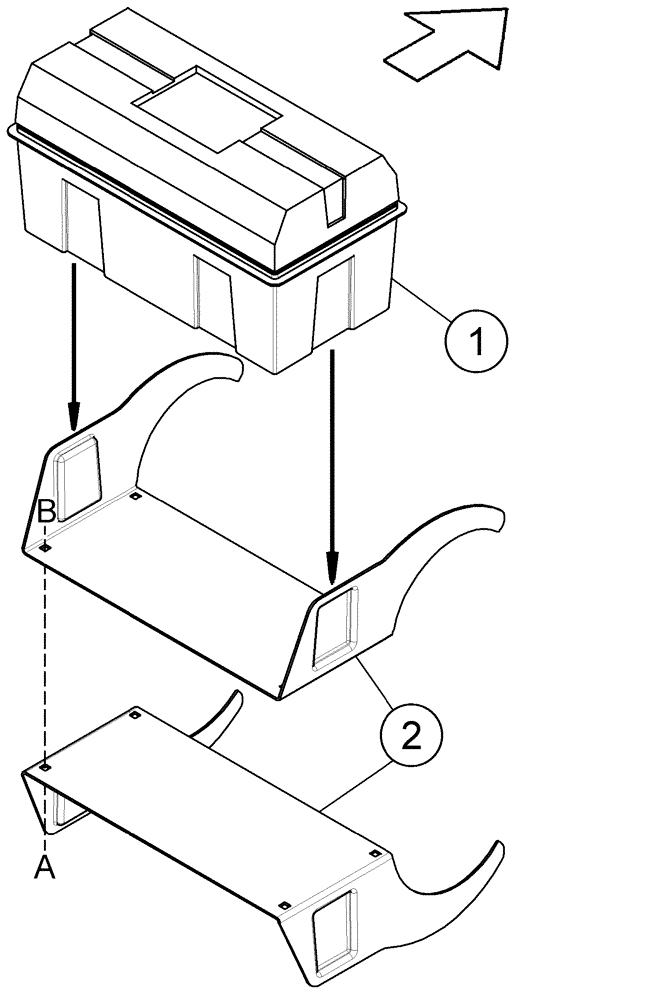
(09-31) - TOOL BOX
№
Артикул
Название
Примечание
Количество
REF
INSTRUCTION
KIT, TOOL BOX
1шт.
Order 87403516 From Machinery
1
87422060
COMPLETE TOOL BOX
Plastic
2
87422059
SPECIAL CLAMP
Mounting Clamp, Toolbox
2шт.
a
232-5316
FLANGE NUT,Flg, 3/8"-16
b
434-612
CARRIAGE BOLT,Sht Sq Nk, 3/8" - 16 x 3/4", Gr 5
Выбрано товаров: 0