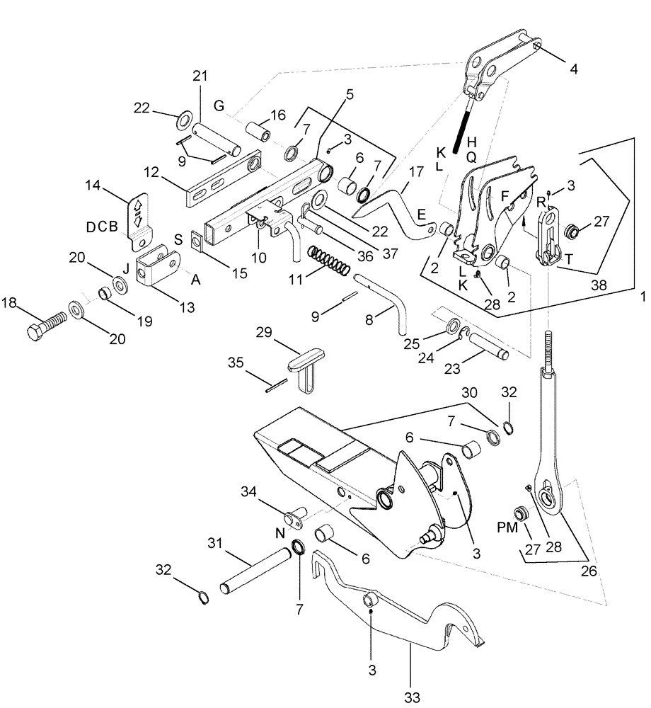
Запчасти Case IH 2062 (09-03) - WING FLEX LINKAGE (03) - CHASSIS/MOUNTED EQUIPMENT

Схема запчастей Case IH 2062 - (09-03) - WING FLEX LINKAGE (03) - CHASSIS/MOUNTED EQUIPMENT
a
9
26
19
27
12
24
g
10
36
31
n
34
22
3
4
6
3
7
7
5
16
2
22
c
14
32
33
30
l
b
t
29
8
k
f
21
e
2
s
p
q
35
28
37
3
l
9
15
3
17
18
m
r
13
28
7
j
20
32
11
d
25
23
h
27
1
6
k
20
7
38
6
FIT
1:1
100%

Артикул

Название

Примечание

Количество

1

87461374

SUPPORT ASSY.

Bellcrank, Inc 2, 3

1шт.

2

87407804

NEEDLE BEARING,25.4 mm ID x 31.8 mm OD x 20.6 mm

4шт.

3

219-8

LUBE NIPPLE,1/4" - 28 NPTF

8шт.

4

87408824

LINK

Bellcrank Adjusting, 1/2 inch Bolt, Serial Range: -CCC0015022

2шт.

4

87446874

SUPPORT ASSY.

Bellcrank Adjusting, 5/8 inch Bolt, Start Serial: CCC0015023

2шт.

5

87409014

ARM

Top Link, Left, Inc. 3, 6, 7

1шт.

5

87409015

ARM

Top Link, Right, Inc. 3, 6, 7

1шт.

6

A27827

NEEDLE BEARING,Needle, 31.75mm ID x 38.1mm OD x 31.75mm W

Needle

6шт.

7

345892A1

SEAL KIT

6шт.

Install With Lip Facing Outward

1шт.

8

87408943

PIN

L, Float Lock-Out

4шт.

9

87020818

LOCK PIN,1/4" OD x 2" OAL, Slotted

8шт.

10

495-81042

WASHER,25/32" x 1 1/2" x .120"

4шт.

11

1276475C1

SPRING

Compression

4шт.

12

87408718

PLATE

Inner, Top Link

2шт.

13

87407824

CLEVIS

Top Link

2шт.

14

87408964

INDICATOR

Gauge, Wing Flex

2шт.

15

87407823

WASHER

Rectangular

2шт.

16

87407825

PIN

Bellcrank

2шт.

17

87408947

INDICATOR

Pointer, Wing Flex

2шт.

18

87021836

BOLT,Hex, 1" - 8 x 5", Gr 5, Full Thd

2шт.

19

87408338

SPACER

Tube

2шт.

20

1276478C1

WASHER

Flat

4шт.

21

87408340

PIN

Top Link

2шт.

22

87020814

WASHER,33mm ID x 56mm OD x 4mm Thk

4шт.

23

87407828

PIN

Lower Bellcrank

2шт.

24

87407829

RING

Retaining, External

2шт.

25

87407826

SPACER

Tube

2шт.

26

87407831

LINK

Vertical Tension, Inc. 27, 28, T

2шт.

27

87407830

SPHERICAL BEARING,22.22 mm ID x 36.4 mm OD x 19.4 mm

Ball

2шт.

28

219-57

LUBE NIPPLE,90 Degree Elbow, 1/4" - 28 NPTF

2шт.

29

87408736

CLEVIS

Cam Plate Catch

2шт.

30

87407671

CHANNEL

Balance, Left, Inc. Bearings, Seals And Lube Fitting

1шт.

30

87407670

CHANNEL

Balance, Right, Inc. Bearings, Seals And Lube Fitting

1шт.

31

87407827

PIN

Balance Channel

2шт.

32

87408342

SNAP RING

Retaining, External

2шт.

33

87408735

PLATE

Cam, Left

1шт.

33

87408738

PLATE

Cam, Right

1шт.

34

87408734

PIN

Cam Plate to Balance Channel

2шт.

35

87955

LOCK PIN,6.35mm OD x 76.2mm L, Slotted

2шт.

36

87414759

CLEVIS PIN

3/4 x 2-1/4

2шт.

Locks Linkage For Transport

1шт.

37

591107R1

COTTER PIN

Hair

2шт.

38

87461373

SUPPORT ASSY.

SUPPORT Inc. 3, 27

2шт.

a

413-1256

BOLT,Hex, 3/4" - 10 x 3-1/2", Gr 5

1шт.

b

495-81042

WASHER,25/32" x 1 1/2" x .120"

1шт.

c

9847025

LOCK WASHER,21.2mm ID x 33.6mm OD x 6mm Thk

1шт.

d

425-1012

NUT,3/4"-10, G5

1шт.

e

434-816

CARRIAGE BOLT,Sht Sq Nk, 1/2" - 13 x 1", Gr 5

1шт.

f

231-5348

FLANGE NUT,Flg, 1/2"-13

1шт.

g

433-856

CARRIAGE BOLT,Sq Nk, 1/2" - 13 x 3 1/2", Gr 5

1шт.

h

425-1014

NUT,7/8"-9, G5

1шт.

j

425-1016

NUT,1"-8, G5

1шт.

k

425-108

NUT,1/2" - 13, Gr 5

, Serial Range: -CCC0015022

1шт.

k

425-1010

NUT,5/8"-11, G5

, Start Serial: CCC0015023

1шт.

l

495-11053

WASHER,1/2", SAE

, Serial Range: -CCC0015022

1шт.

l

495-11066

WASHER,5/8", SAE

, Start Serial: CCC0015023

1шт.

m

231-42412

NUT,3/4"-10, GB

1шт.

n

281-54910

SELF-TAP SCREW,Hex Wash Hd, 3/8"-16 x 5/8"

1шт.

p

825996C1

COTTER PIN

1шт.

q

492-11088

LOCK WASHER,7/8"

1шт.

r

413-1440

BOLT,Hex, 7/8" - 9 x 2-1/2", Gr 5

1шт.

s

87304132

NUT,1"-8, GC

1шт.

t

1689

NUT,3/4"-16, G5

1шт.

Case 2100/2300 Series Combines

1шт.

Выбрано товаров: 65