Запчасти Case IH 2152 (09-01) - END SHIELD COMPONENTS

Схема запчастей Case IH 2152 - (09-01) - END SHIELD COMPONENTS
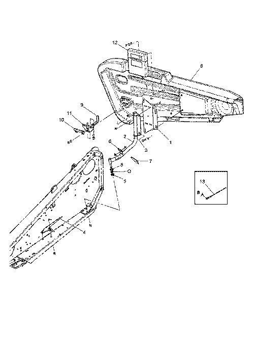
7
10
13
11
6
3
8
9
1
12
FIT
1:1
100%

Артикул

Название

Примечание

Количество

1

84250464

SUPPORT

Endshield, Left Hand

1шт.

1

84250472

SUPPORT

Endshield, Right Hand

1шт.

2

84250465

SUPPORT

Weldment, Left Hand Shield

1шт.

2

84250471

SUPPORT

Weldment, Right Hand Shield

1шт.

3

84250466

BRACKET, PIVOT

PIVOT BRACKET Shield

2шт.

4

84250467

TAB SPRING

Left Hand Door

1шт.

4

84250470

TAB SPRING

Right Hand Door

1шт.

5

84250468

THRUST BEARING

4шт.

6

84250469

LATCH

Endshield

1шт.

7

84250473

LATCH

Right Hand Endshield

1шт.

8

84250474

SHIELD

Left Hand, Includes Safety And Model ID Decals

1шт.

8

84250476

SHIELD

Right Hand, Includes Safety And Model ID Decals

1шт.

9

87561604

SUPPORT

Endshield Latch

2шт.

10

87585414

RETAINER

Endshield

2шт.

11

87561212

PIN

Endshield Latch

2шт.

12

84202206

OPERATOR MANUAL

Case

1шт.

13

87560846

CABLE

Endshield, If Required

2шт.

a

492-11038

LOCK WASHER,3/8"

1шт.

b

413-612

BOLT,Hex, 3/8" - 16 x 3/4", Gr 5

1шт.

c

495-11041

WASHER,0.406" ID x 0.812" OD x 0.065" W

1шт.

d

413-616

BOLT,Hex, 3/8" - 16 x 1", Gr 5

1шт.

e

495-11025

WASHER,0.25" ID x 0.5" OD x 0.05" Thk

1шт.

f

9707580

BOLT,Hex, 1/4" - 20 x 3/4", Gr 5, Full Thd

1шт.

g

87361

WASHER,0.28" ID x 0.62" OD x 0.07" Thk

1шт.

h

895-25010

WASHER,11mm ID x 30mm OD x 2.5mm Thk

1шт.

j

434-612

CARRIAGE BOLT,Sht Sq Nk, 3/8" - 16 x 3/4", Gr 5

1шт.

k

473371R1

FLANGE NUT

3/8 NC, Distorted Thread

1шт.

l

87585926

SELF-TAP SCREW,1/4" x 1/2"

1/4 NC x 1/2

1шт.

m

NSS

NOT SOLD SEPARAT

BOLT, 3/8 NC x 1.0 TFL GR 5

1шт.

n

231-53410

FLANGE NUT,Flg, 5/8"-11

1шт.

p

86512178

BOLT,Hex Flg, 1/2" - 13 x 3/4", Gr 5

1шт.

q

84379480

WASHER

1шт.

r

231-5348

FLANGE NUT,Flg, 1/2"-13

1шт.

Выбрано товаров: 0