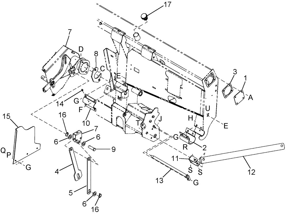
Запчасти Case IH 2152 (09-35[03]) - ADAPTER FRAME AND COMPONENTS

Схема запчастей Case IH 2152 - (09-35[03]) - ADAPTER FRAME AND COMPONENTS
10
2
j
e
s
s
4
g
6
a
16
g
7
16
g
g
f
17
u
p
6
5
t
q
e
7
6
14
13
15
h
c
8
12
3
9
1
d
r
11
FIT
1:1
100%

Артикул

Название

Примечание

Количество

1

87560888

COVER

Frame, Left and Right Hand, Serial Range: -Y8ZN00501

2шт.

1

87699661

PLATE ASSY.

, Start Serial: Y8ZN00501

2шт.

2

87566341

CLAMP

1шт.

3

87561089

GASKET,3mm Thk

End Cap, Serial Range: -Y8ZN00501

2шт.

3

87699662

GASKET,1.6mm Thk

End Cap, Start Serial: Y8ZN00501

2шт.

4

87560521

BAR

Auger Support, Rear Link

2шт.

5

87560520

BAR

Auger Support, Front Link

2шт.

6

87566802

WASHER

8шт.

See Figure 09-38

1шт.

8

87560885

CLAMP

Plate

1шт.

9

87566767

PIN,18.95mm OD x 64.99mm L

2шт.

10

87560883

CLAMP

Auger Pivot

2шт.

11

87560445

ANCHOR

Strut

1шт.

12

87561633

TUBE,44.6 mm ID x 50.8/2 mm OD x 713 mm L

Strut

1шт.

13

87561214

PIN

2шт.

14

86585176

LUBE NIPPLE,90 Degree, 1/4" NPT x .75" lg

4шт.

15

87560964

DEFLECTOR

Poly, Left Hand

1шт.

15

87560965

DEFLECTOR

Poly, Right Hand

1шт.

16

341198A1

PIN

6шт.

17

87627796

FILLER CAP

Filler, Oil Reservoir

1шт.

a

409-768

BOLT,Hex Flg, 3/8" - 16 x 1/2", Spcl

1шт.

c

87868

CARRIAGE BOLT,Sq Nk, 1/2" - 13 x 1 1/4", Gr 5, Full Thd

1шт.

d

86512371

SERRATED NUT,Flg, USR, 1/2"-13

1шт.

e

86508748

CARRIAGE BOLT,Short Square Neck, 3/8" - 16 x 3/4", Grade 5

1шт.

f

225918

1шт.

g

86521609

FLANGE NUT,Flg, 3/8"-16

1шт.

h

86508773

CARRIAGE BOLT,Sq Nk, 3/8" - 16 x 1 1/4", Gr 5, Full Thd

1шт.

j

88682

CARRIAGE BOLT,Short Nk, 3/8"-16 x 1", Gr 5

1шт.

p

495-11041

WASHER,0.406" ID x 0.812" OD x 0.065" W

1шт.

q

88434

BOLT,Hex, 3/8" - 16 x 3/4", Gr 5

1шт.

r

280119

BOLT,Hex, 5/8" - 11 x 3 1/2", Gr 5

1шт.

s

86521611

FLANGE NUT,Flg, 5/8"-11

1шт.

t

434-1016

CARRIAGE BOLT,Sht Sq Nk, 5/8" - 11 x 1", Gr 5

1шт.

u

280486

CARRIAGE BOLT,Sq Nk, 1/2" - 13 x 1", Gr 5, Full Thd

1шт.

Выбрано товаров: 34