Запчасти Case IH 3152 (31.100.01) - SHAFT, PTO DRIVE, TO COMBINE, ASN YHH051300 (31) - IMPLEMENT POWER TAKE OFF

Схема запчастей Case IH 3152 - (31.100.01) - SHAFT, PTO DRIVE, TO COMBINE, ASN YHH051300 (31) - IMPLEMENT POWER TAKE OFF
28
5
16
15
29
14
17
18
10
12
4
6
35
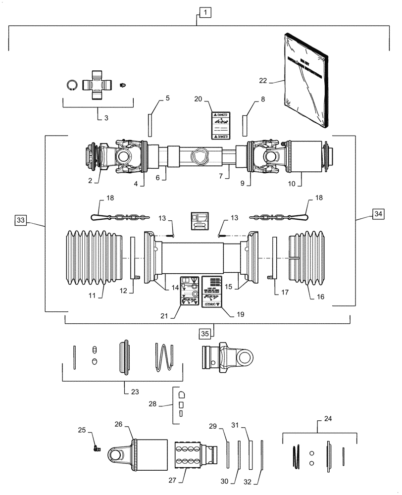
1
23
25
9
18
30
19
27
32
20
13
2
13
34
3
11
31
26
8
24
7
21
33
22
FIT
1:1
100%

Артикул

Название

Примечание

Количество

1

47906177

SHAFT

PTO, Incl 2 - 35

1шт.

2

47933492

YOKE

Outer, 1 3/8"

1шт.

3

ZA105853

KIT

Cross

2шт.

4

87685022

YOKE

Inner Drive Tube

1шт.

5

84976975

ROLL PIN

Flexible

1шт.

6

84518919

SHIELD

Outer Drive Tube With Grease Fitting

1шт.

7

84518918

SHIELD

Inner Cardan

1шт.

8

84036368

ROLL PIN

Flexible

1шт.

9

87685023

YOKE

Outer Tube

1шт.

10

47845725

PTO CLUTCH

Ratchet

1шт.

11

47889625

SHIELD

Cone

1шт.

12

87517831

BEARING COVER,89.4 mm ID x 132 mm OD x 12 mm

Ring For Inner Shield

1шт.

13

87586687

SCREW

4.8 x 22 Self Tap

6шт.

14

84518917

SERVICE KIT

Outer Shield Tube And Cone Assy

1шт.

15

84518916

SERVICE KIT

Inner Shield Tube And Cone Assy

1шт.

16

84518902

SHIELD

End Cone

1шт.

17

86979196

BEARING,86mm ID x 132mm OD x 12mm H

Ring For Outer Shield Tube

1шт.

18

87716347

CHAIN,400mm L

Restraining

2шт.

19

849472

DANGER DECAL

Outer Safety

1шт.

20

849471

DANGER DECAL

Inner Safety

1шт.

21

86520950

DECAL

Outer Label

1шт.

22

87476735

INSTRUCTION

Manual

1шт.

23

87558192

REPAIR KIT

Lock Back Ball Collar, 1 - 3/8"

1шт.

24

87537806

KIT

Call Collar

1шт.

25

87549247

FITTING

Grease

1шт.

26

47933626

HOUSING

Outer And Yoke For LT4 Clutch

1шт.

27

47933628

HUB

LT4 Clutch

1шт.

28

87548023

REPAIR KIT

Clutch Ratchets And Spring Kit

24шт.

29

87548018

CLUTCH DISC

Locking Plate

1шт.

30

9842402

SNAP RING,M82, Int

1шт.

31

87586716

RING

Retaining

1шт.

32

84518897

CIRCLIP

Snap Ring

1шт.

33

47933496

SHAFT

Outer Half - Shielded

1шт.

34

47845734

PTO SHAFT

Inner Half - Shielded

1шт.

35

47933500

KIT

Complete Shield

1шт.

Выбрано товаров: 35