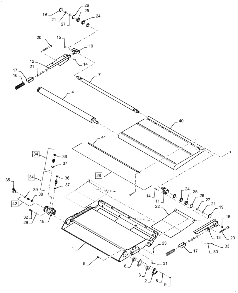
Запчасти Case IH 3152 (58.115.02[02]) - FEEDER, ASSY, LH (58) - ATTACHMENTS/HEADERS

Схема запчастей Case IH 3152 - (58.115.02[02]) - FEEDER, ASSY, LH (58) - ATTACHMENTS/HEADERS
7
3
42
20
16
37
18
32
25
1
26
31
28
12
35
33
8
21
30
5
11
27
15
36
37
10
38
21
17
25
34
14
36
34
15
23
19
41
24
40
4
29
13
9
26
39
20
24
14
2
17
22
19
6
21
27
FIT
1:1
100%

Артикул

Название

Примечание

Количество

1

47541230

FEEDER

Assy, LH

1шт.

2

87758678

FLANGE

2шт.

3

63265

BALL BEARING,30.16mm ID x 62mm OD x 18mm W

1шт.

4

87705512

ROLLER SHAFT

Drive, LH

1шт.

5

86512424

CARRIAGE BOLT,Sq Nk, M10 x 30mm, Cl 8.8, Full Thd

3шт.

6

63266

COLLAR,30.187mm ID x 44.83mm OD x 16.26mm W

1шт.

7

87705513

SHAFT

Idler, Roller

1шт.

8

140045

BELLEVILLE WASHER,M10 Bolt Size x 22mm OD x 1.6mm Thk

3шт.

9

100016

NUT,M10 x 1.5, Cl 8

3шт.

10

87470513

HOUSING

LH

1шт.

11

87470515

HOUSING

RH

1шт.

12

84205244

ARM

LH

1шт.

13

84205242

ARM

RH

1шт.

14

43140

BOLT,Hex, M10 x 1.5 x 30mm, Cl 8.8

4шт.

15

100037

LOCK NUT,M10 x 1.5, Cl 8

4шт.

16

84269942

TENSION SPRING

2шт.

17

84151895

RETAINER

2шт.

18

84393904

HYDRAULIC MOTOR,46CC

1шт.

19

84190205

DUST CAP

2шт.

20

359211

BOLT,M16 x 2.0 x 150mm, Cl 8.8

2шт.

21

100020

NUT,M16 x 2.0, Cl 8

10шт.

22

47525972

COVER

2шт.

23

120056

BOLT,M6 x 1.0 x 54.15mm, Cl 8.8

2шт.

24

87470518

SEAL,28.57mm ID x 51.99mm OD x 6.35mm Thk

4шт.

25

84569437

BALL BEARING,25mm ID x 52.01mm OD x 15.12mm W

2шт.

26

370011

CIRCLIP,M52 x 2mm Thk, Internal

2шт.

27

86632590

WASHER,0.66" ID x 1.31" OD x 0.1" Thk

2шт.

28

47932836

DRAPER

Infeed Rigid, Incl 40, 41

1шт.

29

80679

LOCK WASHER,1/20.507 CST ZND

2шт.

30

322358

BELLEVILLE WASHER,M8 Bolt Size x 18mm OD x 1.4mm Thk

4шт.

31

353308

NUT,M6 x 1.0, Cl 8

2шт.

32

86629541

BOLT,Hex, M12 x 1.75 x 40mm, Cl 8.8

2шт.

33

120104

BOLT,Hex, M8 x 1.25 x 20mm, Cl 8.8

4шт.

34

86579680

HYD CONNECTOR,1"-14 ORFS x M22 x 1.5mm ORB

Incl 36, 37

2шт.

35

86591334

TEE,11/16"-16 ORFS x 11/16"-16 Fem

1шт.

36

86598102

O-RING,2.2mm Thk x 19.3mm ID, Cl 6, 90 Duro

1шт.

37

9992069

O-RING,0.07" Thk x 0.614" ID, -16, Cl 6, 90 Duro

1шт.

38

9993141

O-RING,0.07" Thk x 0.364" ID, -12, Cl 6, 90 Duro

2шт.

39

9617873

O-RING,0.078" Thk x 0.468" ID, -906, Cl 6, 90 Duro

1шт.

40

47932836

DRAPER

Infeed Rigid

1шт.

41

47371025

SLAT

Connector Kit

1шт.

42

9993143

HYD CONNECTOR,11/16" - 16 ORFS x 9/16" - 18 ORB

Incl 38, 39

1шт.

Выбрано товаров: 42