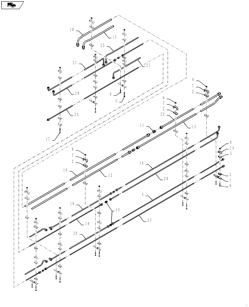
Запчасти Case IH 3152 (35.410.15) - TUBE ASSEMBLY, BUNDLE 35 FT (35) - HYDRAULIC SYSTEMS

Схема запчастей Case IH 3152 - (35.410.15) - TUBE ASSEMBLY, BUNDLE 35 FT (35) - HYDRAULIC SYSTEMS
7
10
7
1
22
10
26
23
11
15
3
7
24
5
3
8
home
20
21
2
9
14
18
27
13
6
6
2
2
6
19
25
20
4
12
16
17
12
6
FIT
1:1
100%

Артикул

Название

Примечание

Количество

1

84140859

BRACKET

WA

11шт.

2

430356

CLAMP

16шт.

3

430357

CLAMP

46шт.

4

84570977

HYD TUBE

1шт.

5

86512419

CARRIAGE BOLT,Sq Nk, M6 x 70mm, Cl 8.8

10шт.

6

353308

NUT,M6 x 1.0, Cl 8

20шт.

7

84814948

SUPPORT

8шт.

8

412364

CARRIAGE BOLT,M6 x 1.0 x 56.6mm, Cl 8.8

8шт.

9

412327

CARRIAGE BOLT,Short Sq Nk, M6 x 1 x 40mm, Full Thd, Cl 8.8

1шт.

10

84139174

HYD TUBE,16.00 mm OD

1шт.

11

84431473

HYD CONNECTOR,1"-14 ORFS

2шт.

12

84139203

HYD TUBE,16.00 mm OD

1шт.

13

84139188

HYD TUBE,16.00 mm OD x 2000.80, 40 mm L

1шт.

14

431941

SUPPORT

23шт.

15

84431546

UNION,11/16"-16 ORFS

5шт.

16

84570975

HYD TUBE

1шт.

17

86508569

BOLT,Hex, M6 x 70mm, Cl 8.8

1шт.

18

84570967

HYD TUBE

1шт.

19

87654200

HYD TUBE,8 mm OD x 3017 mm L

1шт.

20

84221941

HYD TUBE

2шт.

21

84212135

HYD TUBE

1шт.

22

NSS

NOT SOLD SEPARAT

1шт.

23

84139195

HYD TUBE,8.00 mm OD x 5989.80 mm L

1шт.

24

84138467

HYD TUBE,8 mm OD, 4689.2 mm Length

1шт.

25

87499248

HYD TUBE

1шт.

26

84570969

HYD TUBE

1шт.

27

87499251

HYD TUBE

1шт.

Выбрано товаров: 27