Запчасти Case IH 425 (7-24) - SHIELDS ASSEMBLY, LEFT (90) - PLATFORM, CAB, BODYWORK AND DECALS

Схема запчастей Case IH 425 - (7-24) - SHIELDS ASSEMBLY, LEFT (90) - PLATFORM, CAB, BODYWORK AND DECALS
11
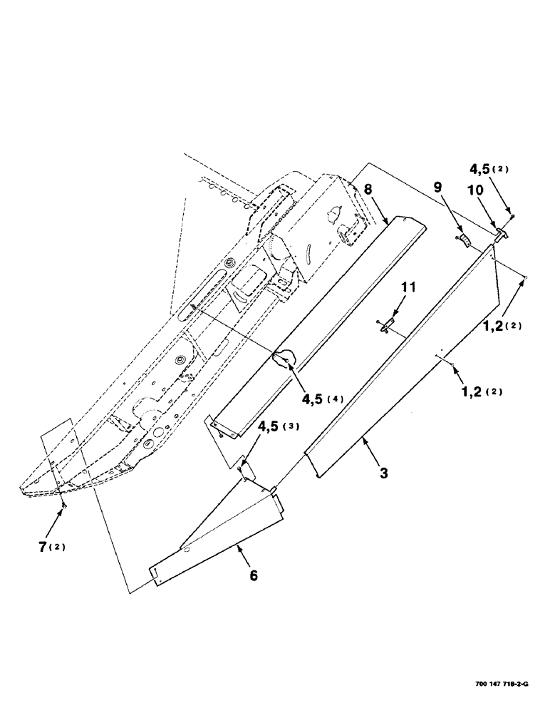
8
3
10
5
4
2
5
1
2
5
1
7
6
4
4
9
FIT
1:1
100%

Артикул

Название

Примечание

Количество

1

412-48

CARRIAGE BOLT,Short Sq Nk 1/4" - 20 x 1/2", Gr 2

1/4-20 X 1/2 RHSNB

4шт.

2

231-5144

SERRATED NUT,Flg, USR, 1/4"-20

4шт.

3

700147681

SHIELD

- side, left

1шт.

4

121-115

SERRATED BOLT,Hex, 5/16" - 18 x 3/4"

9шт.

5

232-5315

FLANGE NUT,Flg, 5/16"-18

5/16-18 HFTLN GR/G

9шт.

6

700147669

SHIELD

WA - front, left

1шт.

7

409-7612

BOLT,3/8"-16 x 1.09" OAL

3/8-16 X 3/4 HWHMS

2шт.

8

700147673

SHIELD

- top, left

1шт.

9

700147709

ANGLE

1шт.

10

700147682

ROD

WA

1шт.

11

700147706

PIN

WA

1шт.

Выбрано товаров: 11