Запчасти Case IH 425 (8-08) - HYDRAULIC VALVE ASSEMBLY, 700717307 HYDRAULIC VALVE ASSEMBLY COMPLETE (35) - HYDRAULIC SYSTEMS

Схема запчастей Case IH 425 - (8-08) - HYDRAULIC VALVE ASSEMBLY, 700717307 HYDRAULIC VALVE ASSEMBLY COMPLETE (35) - HYDRAULIC SYSTEMS
3
1
4
6
5
2
FIT
1:1
100%

Артикул

Название

Примечание

Количество

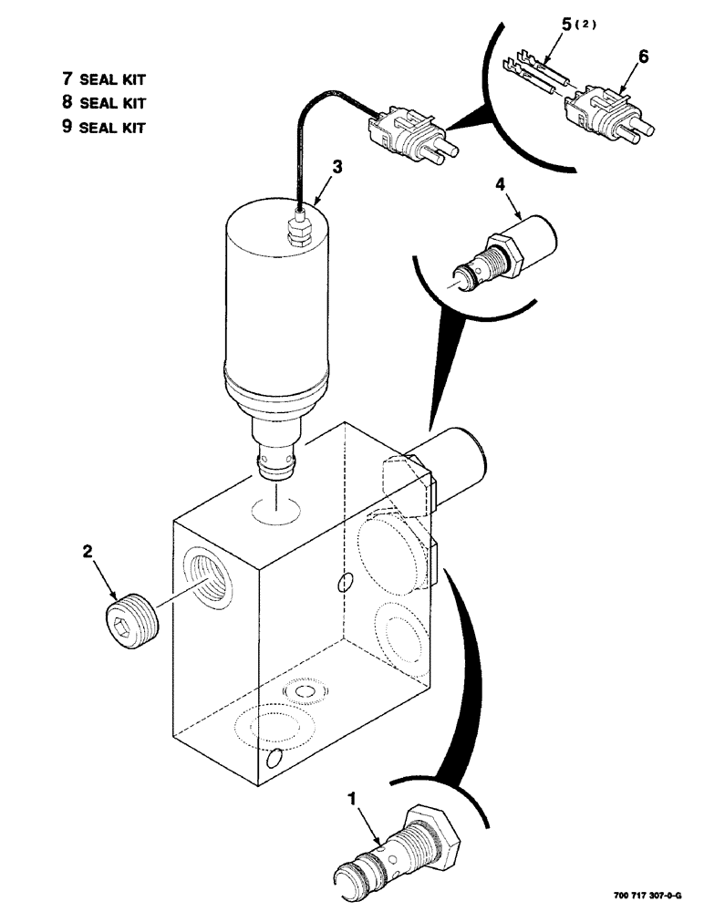
700717307

VALVE

HYDRAULIC VALVE ASSEMBLY COMPLETE

1шт.

1

700719199

VALVE

COMPENSATOR - pressure (Includes item 9)

1шт.

2

700719201

PLUG

ORIFICE PLUG

1шт.

3

700719198

VALVE

- needle, motorized (Includes item 7)

1шт.

4

700719200

VALVE

- relief (Includes item 8)

1шт.

5

700708760

ELEC. TERMINAL PIN,18 - 20 SAE

- socket

2шт.

6

245482C1

ELEC CONNECTOR,2 Pin

CONNECTOR - female

1шт.

7

700715929

SEAL KIT

1шт.

8

700719220

KIT

SEAL KIT

1шт.

9

700719151

KIT

SEAL KIT

1шт.

Выбрано товаров: 10