Запчасти Case IH 425 (8-32) - HYDRAULIC DRAPER DRIVE ASSEMBLY, LEFT, 25 FOOT (35) - HYDRAULIC SYSTEMS

Схема запчастей Case IH 425 - (8-32) - HYDRAULIC DRAPER DRIVE ASSEMBLY, LEFT, 25 FOOT (35) - HYDRAULIC SYSTEMS
16
7
5
1
13
10
14
11
9
12
8
2
15
6
4
FIT
1:1
100%

Артикул

Название

Примечание

Количество

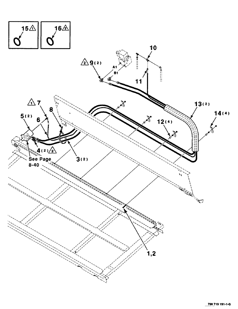
1

413-48

BOLT,Hex, 1/4" - 20 x 1/2", Gr 5

1шт.

2

1703354

NUT

1/4-20 HFTLN GR/G

1шт.

3

700719191

HYDRAULIC HOSE,0.75" ID x 129.92", SAE100R1, SAE J517

HOSE - hydraulic

2шт.

4

218-5065

HYD CONNECTOR,1-1/16" - 12 Male JIC x 7/8" - 14 Male ORB

FITTING - Str (Includes item 16)

2шт.

5

700712805

MOTOR

ASSEMBLY - draper

2шт.

6

700717391

HOSE

- hydraulic

1шт.

7

700707498

ELBOW

- 90 degrees (Includes item 15)

1шт.

8

7021728

STRAP

TIE - cable

1шт.

9

218-5123

ELBOW,90 Degree Elbow, 1-1/16" - 12 Male JIC x 7/8" - 14 Male ORB

- 90 degrees (Includes item 16)

2шт.

10

218-5221

TEE,37 Degree, 1 1/16"-12 x 1 1/16"-12, Fem Sw Run

Adapter 37º, 1 1/16"-12 x 1 1/16"-12, Fem Sw Run

1шт.

11

7791361

FITTING

ADAPTER

1шт.

12

6827794

SPACER

SLEEVE

4шт.

13

700717325

SLEEVE

- nylon

2шт.

14

700147916

CLAMP

- line

4шт.

16

237-6010

O-RING,0.097" Thk x 0.755" ID, -910, Cl 6, 90 Duro

10-1, 90 Duro, .755" ID x .097" Thk

1шт.

15

237-6004

O-RING,0.072" Thk x 0.351" ID, -904, Cl 6, 90 Duro

4-1, 90 Duro, .351" ID x .072" Thk

1шт.

Выбрано товаров: 16