Запчасти Case IH 425 (8-36) - HYDRAULIC DRAPER DRIVE ASSEMBLY, LEFT, 30 FOOT (35) - HYDRAULIC SYSTEMS

Схема запчастей Case IH 425 - (8-36) - HYDRAULIC DRAPER DRIVE ASSEMBLY, LEFT, 30 FOOT (35) - HYDRAULIC SYSTEMS
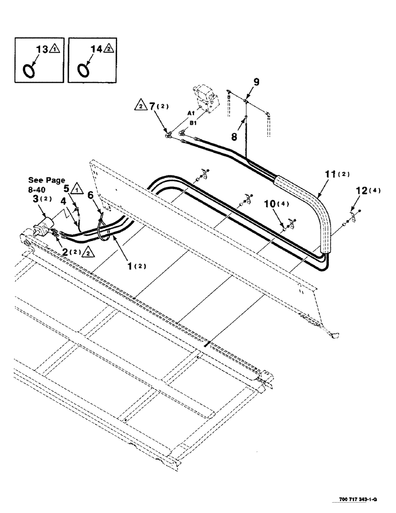
7
13
10
3
2
4
9
1
8
14
12
6
11
5
FIT
1:1
100%

Артикул

Название

Примечание

Количество

1

700717343

HOSE

- hydraulic

2шт.

2

218-5065

HYD CONNECTOR,1-1/16" - 12 Male JIC x 7/8" - 14 Male ORB

FITTING - Str (Includes item 14)

2шт.

3

700712805

MOTOR

ASSEMBLY - draper

2шт.

4

700717333

HOSE

- hydraulic

1шт.

5

700707498

ELBOW

- 90 degrees (Includes item 13)

1шт.

6

529070

CABLE TIE,368.3mm L

TIE - cable

1шт.

7

218-5123

ELBOW,90 Degree Elbow, 1-1/16" - 12 Male JIC x 7/8" - 14 Male ORB

- 90 degrees (Includes item 14)

2шт.

8

7791361

FITTING

ADAPTER

1шт.

9

218-5221

TEE,37 Degree, 1 1/16"-12 x 1 1/16"-12, Fem Sw Run

Adapter 37º, 1 1/16"-12 x 1 1/16"-12, Fem Sw Run

1шт.

10

6827794

SPACER

SLEEVE

4шт.

11

700717326

SLEEVE

- nylon

2шт.

12

700147916

CLAMP

- line

4шт.

14

237-6010

O-RING,0.097" Thk x 0.755" ID, -910, Cl 6, 90 Duro

10-1, 90 Duro, .755" ID x .097" Thk

1шт.

13

237-6004

O-RING,0.072" Thk x 0.351" ID, -904, Cl 6, 90 Duro

4-1, 90 Duro, .351" ID x .072" Thk

1шт.

Выбрано товаров: 14