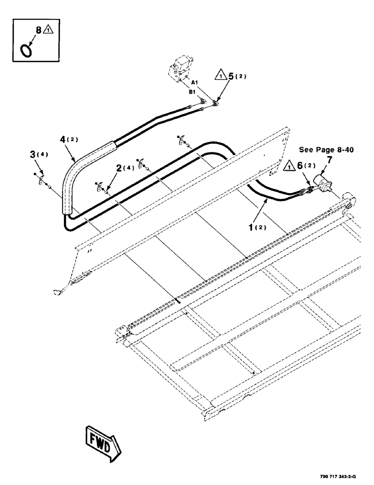
Запчасти Case IH 425 (8-38) - HYDRAULIC DRAPER DRIVE ASSEMBLY, RIGHT, 30 FOOT (35) - HYDRAULIC SYSTEMS

Схема запчастей Case IH 425 - (8-38) - HYDRAULIC DRAPER DRIVE ASSEMBLY, RIGHT, 30 FOOT (35) - HYDRAULIC SYSTEMS
4
1
3
5
8
6
2
7
FIT
1:1
100%

Артикул

Название

Примечание

Количество

1

700717343

HOSE

- hydraulic

2шт.

2

6827794

SPACER

SLEEVE

4шт.

3

700147916

CLAMP

- line

4шт.

4

700717326

SLEEVE

- nylon

2шт.

5

218-5123

ELBOW,90 Degree Elbow, 1-1/16" - 12 Male JIC x 7/8" - 14 Male ORB

- 90 degrees (Includes item 8)

2шт.

6

218-5065

HYD CONNECTOR,1-1/16" - 12 Male JIC x 7/8" - 14 Male ORB

FITTING - Str (Includes item 8)

2шт.

7

700712805

MOTOR

ASSEMBLY - draper

1шт.

8

237-6010

O-RING,0.097" Thk x 0.755" ID, -910, Cl 6, 90 Duro

10-1, 90 Duro, .755" ID x .097" Thk

1шт.

Выбрано товаров: 8