Запчасти Case IH 425 (2-26) - LINK ASSEMBLY, SWAYBAR (58) - ATTACHMENTS/HEADERS

Схема запчастей Case IH 425 - (2-26) - LINK ASSEMBLY, SWAYBAR (58) - ATTACHMENTS/HEADERS
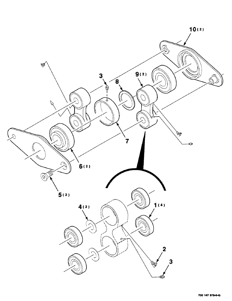
8
2
1
3
7
10
6
5
9
4
3
FIT
1:1
100%

Артикул

Название

Примечание

Количество

1

T39594

BALL BEARING,0.7505" ID x 1.7805" OD x 0.61"

BEARING - cylindrical

4шт.

2

219-93

LUBE NIPPLE,90 Degree Elbow, 1/4" - 28 NPTF

1шт.

3

219-8

LUBE NIPPLE,1/4" - 28 NPTF

NIPPLE, LUBE, 1/4"-28 NPT x .54" lg

2шт.

4

195-2089

WASHER,25/32" x 1 1/2" x .083"

3/4 X 18 GAUGE WRMB

2шт.

5

700712806

BOLT,1/2" - 20 x 2-1/8"

1/2-20 X 2-1/8 HSFCHCS SPL

2шт.

6

8050825

BEARING, ROLLER, CYL,38.1 mm ID x 80 mm OD x 30.163 mm

- cylindrical

2шт.

7

700124302

SPACER

1шт.

8

52712

BUSHING

1-1/2 X 18 GAUGE NRMB

1шт.

9

700124301

LINK

ASSEMBLY (Includes items 1, 2, 3 and 4)

2шт.

10

700147979

PLATE

- pivot

2шт.

Выбрано товаров: 10