Запчасти Case IH 425 (3-4) - REEL ARM ASSEMBLY, RIGHT (58) - ATTACHMENTS/HEADERS

Схема запчастей Case IH 425 - (3-4) - REEL ARM ASSEMBLY, RIGHT (58) - ATTACHMENTS/HEADERS
10
26
1
27
9
3
5
19
6
17
21
8
25
11
13
15
12
24
14
6
9
22
20
7
2
8
2
6
4
23
6
18
16
FIT
1:1
100%

Артикул

Название

Примечание

Количество

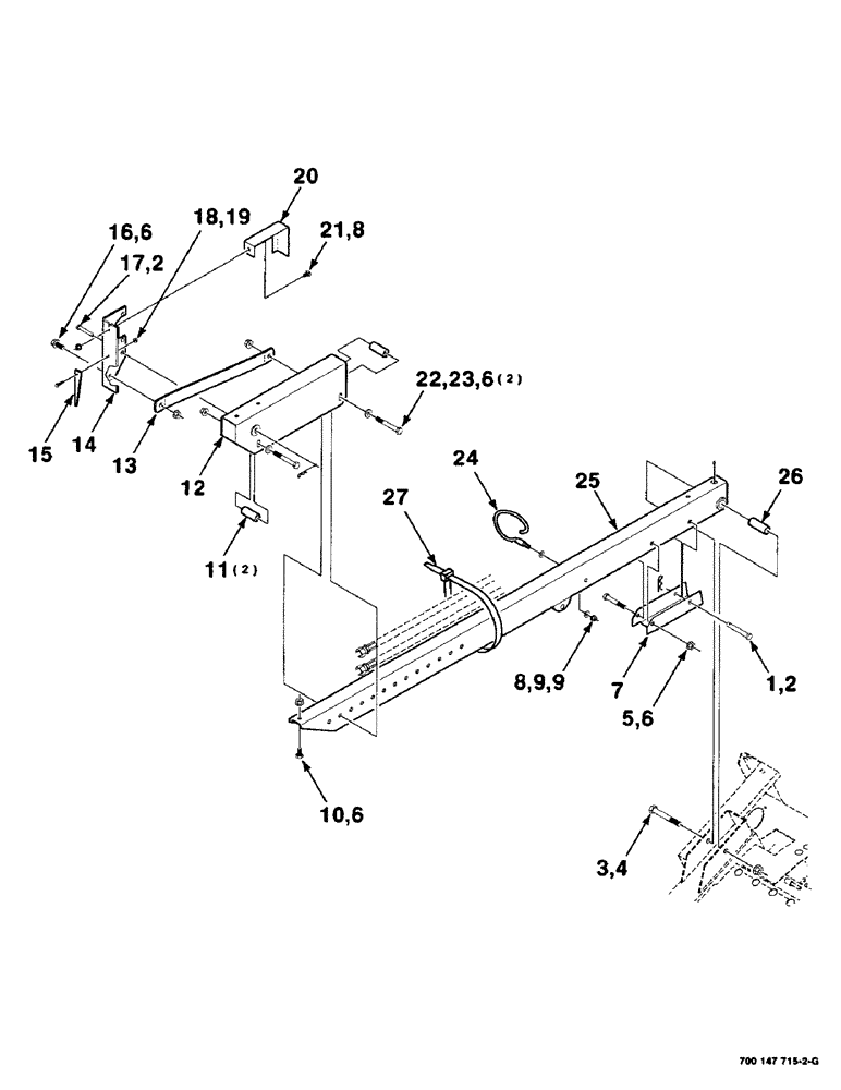
1

439-5848

HEADED PIN,1/2" x 3", G5

1/2 X 3 CLEVIS PIN

1шт.

2

T54573

PIN

.120 WIRE HAIRPIN COTTER

2шт.

3

413-1072

BOLT,Hex, 5/8" - 11 x 4-1/2", Gr 5

1шт.

4

232-53110

FLANGE NUT,Flg, 5/8"-11

5/8-11 HFTLN GR/G

1шт.

5

413-852

BOLT,Hex, 1/2" - 13 x 3-1/4", Gr 5

1/2-13 X 3-1/4 C

1шт.

6

231-5348

FLANGE NUT,Flg, 1/2"-13

1/2-13 HFTLN GR/G

5шт.

7

700147895

STOP

- cylinder

1шт.

8

232-5316

FLANGE NUT,Flg, 3/8"-16

3/8-16 HFTLN GR/G

2шт.

9

496-11041

WASHER,13/32" x 13/16" x .065", HDN

3/8 HARDENED PLAIN WASHER

2шт.

10

413-816

BOLT,Hex, 1/2" - 13 x 1", Gr 5

1шт.

11

700115943

TUBE,25.4 mm OD, 61 mm Length

2шт.

12

700147903

CHANNEL

WA

1шт.

13

700147907

STRAP

1шт.

14

700147901

SUPPORT

- motor

1шт.

15

700147886

PUNCH

- drift

1шт.

16

700710984

SCREW,Hex Flg, 1/2" x 1 1/4", G8 NC

1/2-13 X 1-1/4 HFS GR8

1шт.

17

700148902

PIN

- reel

1шт.

18

51200165

SCREW,Hex, 1/4"-20 x 1", G5

1/4-20 X 1 C

1шт.

19

1703354

NUT

1/4-20 HFTLN GR/G

1шт.

20

700147902

SHIELD

1шт.

21

433-612

CARRIAGE BOLT,Sq Nk, 3/8" - 16 x 3/4", Gr 5

1шт.

22

413-860

BOLT,Hex, 1/2" - 13 x 3-3/4", Gr 5

2шт.

23

705541

WASHER,0.53" ID x 1.06" OD x 0.14" Thk

1/2 HARDENED PLAIN WASHER

2шт.

24

700119716

ROD

WA

1шт.

25

700147890

ARM

WA

1шт.

26

700116331

SPACER

BUSHING

1шт.

27

386170C1

CABLE TIE,.30" x 27 1/2"

TIE - plastic

1шт.

Выбрано товаров: 27