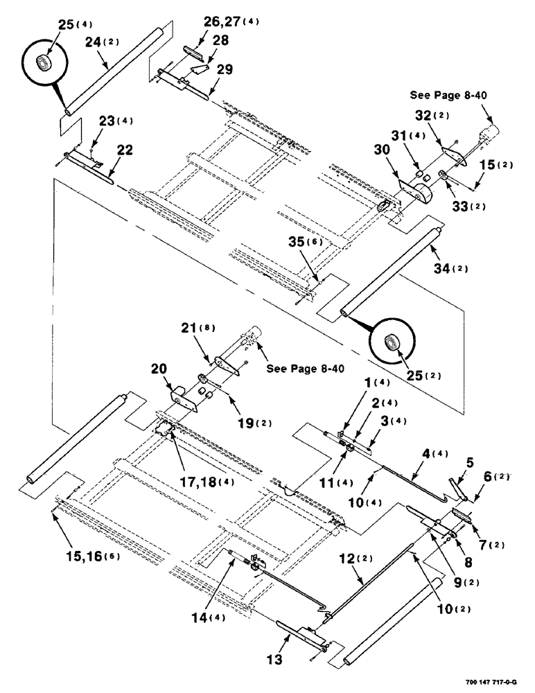
Запчасти Case IH 425 (6-02) - DECK ROLLER ASSEMBLIES (58) - ATTACHMENTS/HEADERS

Схема запчастей Case IH 425 - (6-02) - DECK ROLLER ASSEMBLIES (58) - ATTACHMENTS/HEADERS
15
35
33
16
5
1
25
23
21
25
14
13
10
2
32
6
30
20
18
10
29
34
22
4
9
15
11
27
19
28
7
24
26
17
8
31
3
12
FIT
1:1
100%

Артикул

Название

Примечание

Количество

1

700121229

LOCK

TAB

4шт.

2

95-81100

WASHER,33/64" x 7/8" x .049"

1/2 X 18 GAUGE NRMB

4шт.

3

700703267

COMPRESSION SPRING

SPRING - compression

4шт.

4

700147956

ROD

4шт.

5

700120820

ARM

WA - left

1шт.

6

38-11216

LOCK PIN,3/16" x 1", Slotted

PIN, 3/16" x 1", Slotted

2шт.

7

700121225

SHIELD

- roller

2шт.

8

700147949

ARM

WA - left, rear

1шт.

9

396-21066

WASHER,16.66mm ID x 33.33mm OD x 4.27mm Thk

- 5/8" bolt size 21/32" x 1 5/16" x .150", HDN

2шт.

10

62224

PIN, SPLIT (COTTER)

3/16 X 1 COTTER PIN

6шт.

11

700121227

CLIP

4шт.

12

700121254

SHAFT

WA

2шт.

13

700147951

ARM

WA - left, front

1шт.

14

700717317

SPRING

- compression

4шт.

15

702027

SCREW

3/8-16 X 1-1/4 HSHCS SPECIAL

8шт.

16

231-4116

NUT,3/8"-16, GB

3/8-16 HTLN GR/B

6шт.

17

433-840

CARRIAGE BOLT,Sq Nk, 1/2" - 13 x 2 1/2", Gr 5

1/2-13 X 2-1/2 RHSNB

4шт.

18

231-5348

FLANGE NUT,Flg, 1/2"-13

1/2-13 HFTLN GR/G

4шт.

19

61-3258

HEX SOC SCREW,1/4"-20 x 1/2"

1/4-20 X 1/2 HSHCS SPECIAL

2шт.

20

700147965

SUPPORT

WA - left

1шт.

21

409-7612

BOLT,3/8"-16 x 1.09" OAL

3/8-16 X 3/4 HWHMS

8шт.

22

700147954

ARM

WA - right, front

1шт.

23

86636814

LUBE NIPPLE,1/4"-28 x .52" lg

NIPPLE, LUBE, 1/4"-28 x .52" lg

4шт.

24

700115392

ROLLER

ASSEMBLY (Includes item 25)

2шт.

25

586156R92

BEARING, ROLLER, CYL,0.7505" ID x 47 mm OD x 0.8437, 0.53125"

BEARING - cylindrical

6шт.

26

7883275

SCREW,Hex Washer, 1/4" - 20 x 3/4"

1/4-20 X 3/4 HWHMS

4шт.

27

231-5144

SERRATED NUT,Flg, USR, 1/4"-20

4шт.

28

700121317

ARM

WA - right

1шт.

29

700147953

ARM

WA - right, rear

1шт.

30

700147970

SUPPORT

WA - right

1шт.

31

700147973

SPACER

4шт.

32

700147971

SUPPORT

- motor

2шт.

33

700147972

CLAMP

2шт.

34

700147957

ROLLER

ASSEMBLY (Includes item 25)

2шт.

35

700147955

BALL

6шт.

Выбрано товаров: 35