Запчасти Case IH 425 (7-06) - SHIELDS ASSEMBLY, REAR, LEFT, 21 FOOT (90) - PLATFORM, CAB, BODYWORK AND DECALS

Схема запчастей Case IH 425 - (7-06) - SHIELDS ASSEMBLY, REAR, LEFT, 21 FOOT (90) - PLATFORM, CAB, BODYWORK AND DECALS
10
2
2
6
3
4
2
7
11
9
13
1
1
12
8
2
4
2
1
3
5
14
FIT
1:1
100%

Артикул

Название

Примечание

Количество

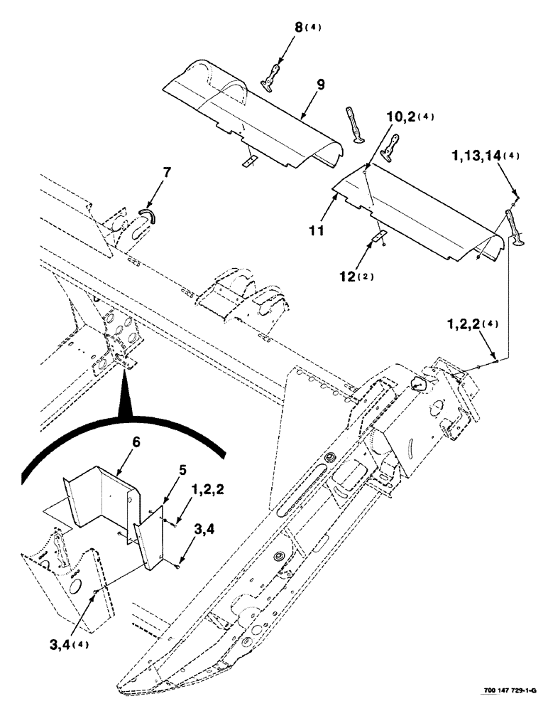
1

51200165

SCREW,Hex, 1/4"-20 x 1", G5

1/4-20 X 1 C

9шт.

2

231-5144

SERRATED NUT,Flg, USR, 1/4"-20

14шт.

3

121-115

SERRATED BOLT,Hex, 5/16" - 18 x 3/4"

5шт.

4

231-5145

SERRATED NUT,Flg, USR, 5/16"-18

NUT, Flg, USR, 5/16"-18

5шт.

5

700148860

GUARD

SHIELD - L

1шт.

6

700148872

GUARD

SHIELD - left

1шт.

7

700105142

GROMMET

TRIM

1шт.

8

700717323

LATCH

- rubber

4шт.

9

700147865

SHIELD

WA - Ctr

1шт.

10

440-1258

SCREW,Cross Pan Hd, 1/4"-20 x 1/2"

1/4-20 X 1/2 CRPHMS GR 60M

4шт.

11

700148967

SHIELD

- L

1шт.

12

700147874

RETAINER

2шт.

13

495-21031

WASHER,1/4"

1/4 WIDE PLAIN WASHER

4шт.

14

1703354

NUT

1/4-20 HFTLN GR/G

4шт.

Выбрано товаров: 14