Запчасти Case IH 425 (7-08) - SHIELDS ASSEMBLY, REAR, RIGHT, 21 FOOT (90) - PLATFORM, CAB, BODYWORK AND DECALS

Схема запчастей Case IH 425 - (7-08) - SHIELDS ASSEMBLY, REAR, RIGHT, 21 FOOT (90) - PLATFORM, CAB, BODYWORK AND DECALS
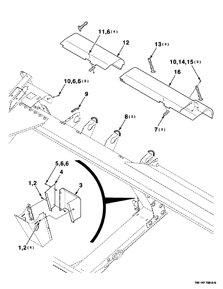
11
2
3
6
10
2
6
6
5
6
1
6
8
12
4
15
7
14
1
10
16
13
9
FIT
1:1
100%

Артикул

Название

Примечание

Количество

1

121-115

SERRATED BOLT,Hex, 5/16" - 18 x 3/4"

5шт.

2

231-5145

SERRATED NUT,Flg, USR, 5/16"-18

NUT, Flg, USR, 5/16"-18

5шт.

3

700148873

SHIELD

- right

1шт.

4

700148861

SHIELD

- R

1шт.

5

51200165

SCREW,Hex, 1/4"-20 x 1", G5

1/4-20 X 1 C

1шт.

6

231-5144

SERRATED NUT,Flg, USR, 1/4"-20

12шт.

7

700147874

RETAINER

2шт.

8

700105142

GROMMET

TRIM

3шт.

9

700130798

ADHESIVE STRIP

TRIM

1шт.

10

51200165

SCREW,Hex, 1/4"-20 x 1", G5

1/4-20 X 1 C

6шт.

11

440-1258

SCREW,Cross Pan Hd, 1/4"-20 x 1/2"

1/4-20 X 1/2 CRPHMS GR 60M

4шт.

12

700148968

SHIELD

- R

1шт.

13

700717323

LATCH

- rubber

3шт.

14

495-21031

WASHER,1/4"

1/4 WIDE PLAIN WASHER

3шт.

15

1703354

NUT

1/4-20 HFTLN GR/G

3шт.

16

700147875

SHIELD

WA - Ctr

1шт.

Выбрано товаров: 16