Запчасти Case IH 6000 (9-26) - WOBBLE BOX (09) - CHASSIS/ATTACHMENTS

Схема запчастей Case IH 6000 - (9-26) - WOBBLE BOX (09) - CHASSIS/ATTACHMENTS
FIT
1:1
100%

Артикул

Название

Примечание

Количество

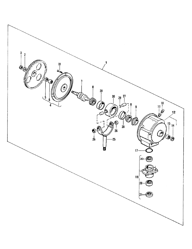
1

1336617C1

TERMINAL BOX

WOBBLE BOX - complete

1шт.

2

1336618C1

WASHER

- flat, 25/32 x 1-5/8 x 1/8 inch

1шт.

3

9413962

LOCK NUT,3/4"-10, GB

NUT - lock, 3/4 inch NC distorted thread

1шт.

4

1336619C1

COVER

ASSEMBLY - pulley, includes items 5 and 6

1шт.

5

1978764C1

SEAL

- oil

1шт.

6

143996H1

NEEDLE BEARING

BEARING - needle

1шт.

7

1336640C1

SHAFT

- wobble

1шт.

NOTE; item #7, 1336640c1 wobble shaft is a 4 spline shaft, it is not tapered w/ key as shown in picture. djo 7/22/97

1шт.

8

181250C91

ROLLER BEARING,50mm ID x 22.2mm Thk

CONE - shaft

2шт.

9

1336673C1

NUT

- stake, 1-15/16 - 20 hex spiral

1шт.

10

1336645C1

VALVE

ASSEMBLY - relief

1шт.

11

444026

REDUCER,3/8"-18 NPTF x 1/8"-27 Fem NPTF

ADAPTER - 3/8 NPT x 1/8 NPT

1шт.

12

1336647C1

HOUSING

- wobble box, includes items 14 & 15

1шт.

14

1978765C1

SEAL

- oil

1шт.

15

1336644C1

NEEDLE BEARING

- needle

1шт.

17

21552R1

O-RING,2.609" ID x 2.887" OD x 0.139"

- 2-5/8 I.D. x 1/8 inch

1шт.

18

1336646C1

CAP

ASSEMBLY - bearing

1шт.

20

166957R91

NEEDLE BEARING,Needle, 41.26mm ID x 50.81mm OD x 31.75mm W

BEARING - needle

2шт.

21

1336674C1

SEAL

- oil

1шт.

25

1336683C1

FORK

YOKE - wobble joint, with bushings

1шт.

26

1336682C1

BUSHING

- bronze

2шт.

27

1336643C1

SPINDLE

- housing

2шт.

28

181251C1

CUP,84mm OD x 22.2mm Thk

- bearing

2шт.

29

1336642C1

PLUG

- nylon

2шт.

30

1336641C1

HOUSING

- wobble joint

1шт.

31

25493R1

BOLT,Hex, 5/16" - 18 x 1", Gr 8

- special, 5/16 x 1 inch grade 8

6шт.

Выбрано товаров: 0